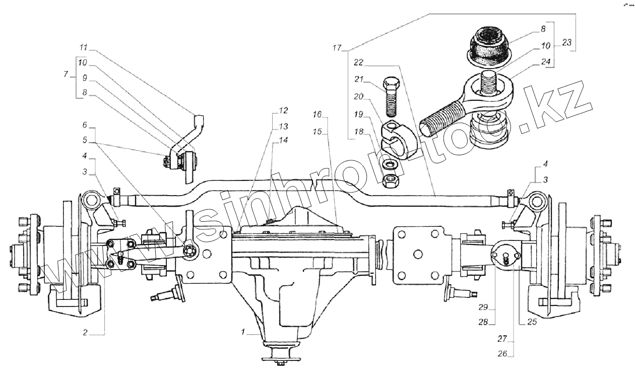
Каталог запасных частей к технике: ГАЗель 4x4 (Дополнение). Мост передний ведущий
1
2
3
3
4
4
5
6
7
8
8
9
10
10
11
12
13
14
15
16
17
18
19
20
21
22
23
23
24
24
25
26
27
28
29
| Позиция на иллюстрации | Заводской номер детали | Название детали | |
|---|---|---|---|
| 1 | 33027-2300012-10 | Мост передний ведущий с тормозами и ступицами | |
| 2 | 33027-2304041-01 | Корпус поворотного кулака левый | |
| 3 | 201507-П2 | Болт М10х50 | |
| 4 | 250512-П29 | Гайка М10-6Н ОСТ 37.001.124-93 | |
| 5 | 250979-П29 | Гайка М16х1,5-6Н ОСТ 37.001.108-93 | |
| 6 | 258054-П29 | Шплинт 4х32 ОСТ 37.001.171-93 | |
| 7 | 3302-3414010 | Тяга продольная рулевая с шарнирами в сборе | |
| 8 | 3302-3414074-01 | Колпак защитный в сборе | |
| 9 | 3302-3414014 | Тяга продольная рулевая | |
| 10 | 2217-3414029 | Шарнир рулевых тяг | |
| 11 | 33027-3401090-10 | Сошка | |
| 12 | 201454-П29 | Болт М8-6gх16 ОСТ 37.001.123-96 | |
| 13 | 252135-П2 | Шайба 8Т ОСТ 37.001.115-75 | |
| 14 | 296576-П29 | Пробка КГ1/2" | |
| 15 | 33027-2301013 | Крышка картера | |
| 16 | 3102-2401040 | Прокладка крышки картера | |
| 17 | 33027-3414052-01 | Тяга поперечная в сборе | |
| 18 | 45 9556 1057 | Гайка М10-6Н | |
| 19 | 252006-П29 | Шайба 10 ОСТ 37.001.144-96 | |
| 20 | 3302-3414078-01 | Хомут | |
| 21 | 45 9317 6319 | Болт М10 (технологический) | |
| 22 | 33027-3414054-10 | Тяга поперечная | |
| 23 | 2217-3414056 | Наконечник рулевой тяги с шарниром в сборе | |
| 23 | 33027-3414057 | Наконечник рулевой тяги левый с шарниром | |
| 24 | 3302-3414062 | Наконечник рулевой тяги правый | |
| 24 | 33027-3414063 | Наконечник рулевой тяги левый | |
| 25 | 33027-2304040-01 | Корпус поворотного кулака правый | |
| 26 | 3307-3001041 | Крышка шкворня верхняя | |
| 27 | 3302-3001052 | Прокладка крышки | |
| 28 | 201416-П29 | Болт М6-6gх12 ОСТ 37.001.123-96 | |
| 29 | 252134-П2 | Шайба 6Т ОСТ 37.001.115-75 |
Содержащиеся в справочниках-каталогах запасные части и детали не предлагаются к продаже, а носят исключительно информационный характер