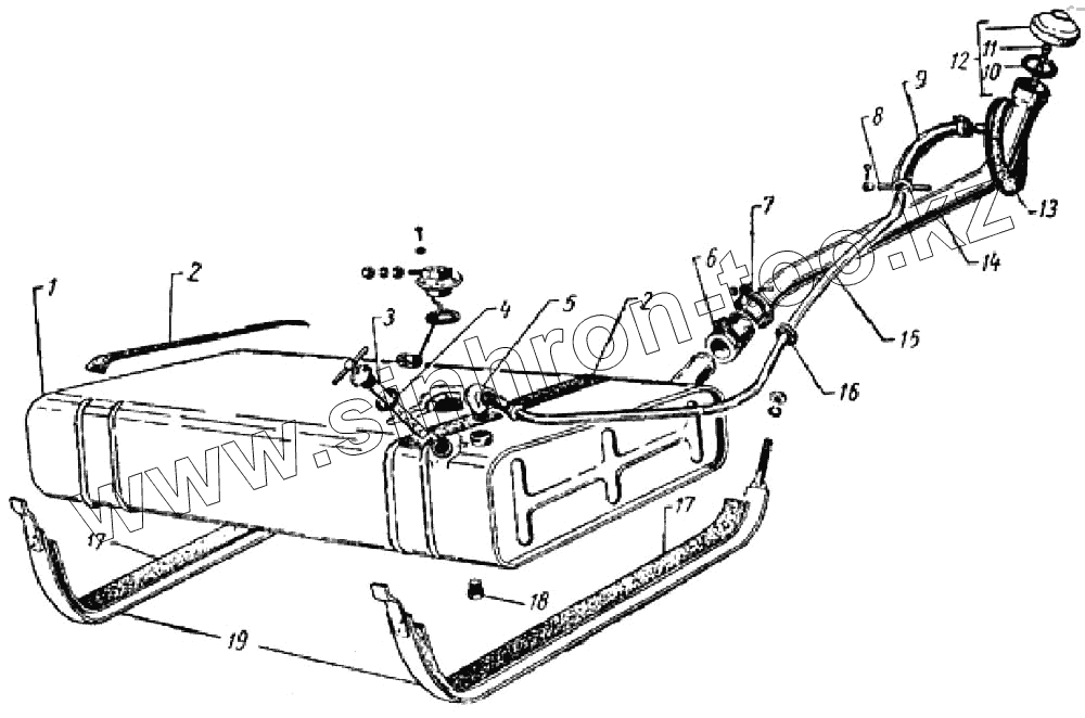
Каталог запасных частей к технике: ГАЗ-69. Бензиновый бак
1
2
2
3
4
5
6
7
8
9
10
11
12
13
14
15
16
17
17
18
19
| Позиция на иллюстрации | Заводской номер детали | Название детали | |
|---|---|---|---|
| 250512-П8 | 250512-П8 | Гайка М10-6Н | |
| 251084-П8 | 251084-П8 | Гайка М5х0,8 | |
| 297580-П8 | 297580-П8 | Пряжка хомута | |
| 252136-П2 | 252136-П2 | Шайба 10 ОТ ОСТ 37.001.115-75 | |
| 297575-П8 | 297575-П8 | Шплинт хомутика | |
| 220086-П8 | 220086-П8 | Винт М5х0,8х30 | |
| 1 | 69А-1101010 | Бак бензиновый в сборе | |
| 2 | 69-1101120 | Прокладка крепления бензинового бака длинная | |
| 3 | 69А-1101100 | Указатель уровня бензина в сборе | |
| 4 | 20-1101108 | Прокладка головки указателя уровня бензина | |
| 5 | 298494-П | Штуцер 1/4"х18 | |
| 6 | 20-1101070 | Шланг соединительный наливной трубы бензинового бака | |
| 7 | 288019-П8 | Хомут 60 | |
| 8 | 297581-П8 | Лента 10х160 | |
| 9 | 69-1101078 | Шланг воздушной трубки бензинового бака | |
| 10 | 20-1103075 | Прокладка пробки бензинового бака | |
| 11 | 20-1103078-Б | Цепочка пробки бензинового бака с кольцами в сборе | |
| 12 | 20-1103010-А | Пробка бензинового бака в сборе | |
| 13 | 69-1101150 | Уплотнитель наливной трубы бензинового бака | |
| 14 | 69А-1101060-А | Труба наливная бензинового бака в сборе | |
| 15 | 69А-1101071 | Трубка воздушная бензинового бака в сборе | |
| 16 | 70-143187 | Втулка | |
| 17 | 69А-1101120 | Прокладка крепления бензинового бака | |
| 18 | 296541-П8 | Пробка 1/4"Х18 сливная бензинового бака | |
| 19 | 69А-1101110 | Хомут крепления бензинового бака в сборе |
Содержащиеся в справочниках-каталогах запасные части и детали не предлагаются к продаже, а носят исключительно информационный характер