Каталог запасных частей к технике: Daewoo Nexia. Воздухоподача
1
2
3
4
5
6
7
8
9
10
12
13
14
15
16
17
18
19
20
21
22
22
23
24
25
26
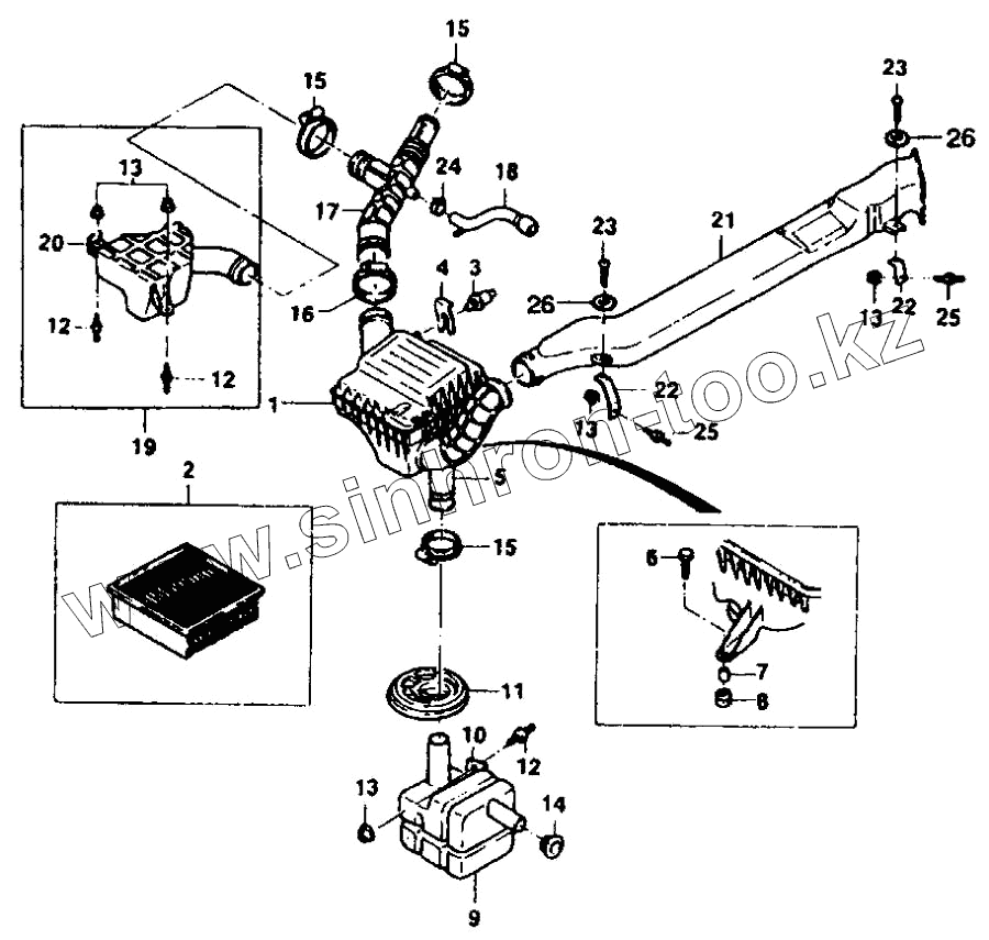
| Позиция на иллюстрации | Заводской номер детали | Название детали | |
|---|---|---|---|
| 96143508 | 96143508 | Кольцевая подкладка шланга | |
| 1 | 96143221 | Воздухоочиститель | |
| 2 | 92060868 | Воздушный фильтр | |
| 3 | 25037223-А | Датчик температуры воздуха | |
| 4 | 96143801 | Стопор датчика температуры воздуха | |
| 5 | 96143222 | Гофрированная трубка | |
| 6 | 11087291 | Винт | |
| 7 | 96130567 | Втулка изолятора | |
| 8 | 96130566 | Изолятор воздухоочистителя | |
| 9 | 96143223 | Резонатор | |
| 10 | 96143791 | Кронштейн резонатора | |
| 12 | 96144011 | Бампер | |
| 13 | 11063471 | Фланцевая гайка | |
| 14 | 96143225 | Прокладка резонатора | |
| 15 | 11084471 | Зажим шланга | |
| 16 | 11088331 | Зажим шланга | |
| 17 | 96143380-А | Шланг воздухоочистителя | |
| 18 | 96180801 | Шланг вентиляции | |
| 19 | 96143828-А | Вспомогательный резонатор | |
| 20 | 96144033 | Зажим вспомогательного резонатора | |
| 21 | 96180069 | Патрубок воздухоочистителя | |
| 22 | 96143784 | Кронштейн воздушного патрубка | |
| 22 | 96180070 | Кронштейн воздушного патрубка | |
| 23 | 96180401 | Винт | |
| 24 | 2504256241 | Зажим пружины | |
| 25 | 03152-63323 | Стопорный болт | |
| 26 | 96162090 | Шайба |
Содержащиеся в справочниках-каталогах запасные части и детали не предлагаются к продаже, а носят исключительно информационный характер