Каталог запасных частей к технике: Daewoo Nexia. Отделка передней двери II
1
1
2
3
4
5
6
6
7
7
8
9
10
10
11
12
13
14
15
16
17
18
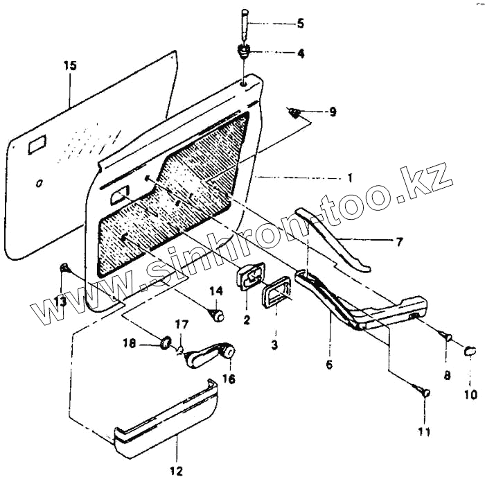
| Позиция на иллюстрации | Заводской номер детали | Название детали | |
|---|---|---|---|
| 1 | 96220861 | Отделка передней двери в сборе | |
| 1 | 96220859 | Отделка передней двери в сборе | |
| 2 | 96186652 | Внутренняя ручка двери | |
| 3 | 96220561 | Рамка внутренней ручки | |
| 4 | 96163786 | Втулка кнопки закрывания | |
| 5 | 90203106 | Кнопка замка двери | |
| 6 | 96163753 | Передний подлокотник | |
| 6 | 96163754 | Передний подлокотник | |
| 7 | 96163761 | Задняя крышка подлокотника | |
| 7 | 96163762 | Задняя крышка подлокотника | |
| 8 | 11073612 | Винт | |
| 9 | 90244560 | Гайка подлокотника | |
| 10 | 96163757 | Передняя крышка подлокотника | |
| 10 | 96163758 | Передняя крышка подлокотника | |
| 11 | 90225431 | Винт | |
| 12 | 96163748 | Депозитный ящик двери | |
| 13 | 90038025 | Винт | |
| 14 | 90384111 | Зажим отделки двери | |
| 15 | 96225676 | Уплотнитель отделки передней двери | |
| 16 | 96167833 | Коленчатый рычаг стеклоподъемника | |
| 17 | 6235332 | Стопорная пружина | |
| 18 | 90198780 | Шайба коленчатого рычага стеклоподъемника |
Содержащиеся в справочниках-каталогах запасные части и детали не предлагаются к продаже, а носят исключительно информационный характер