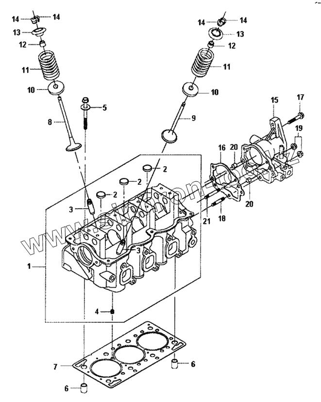
Каталог запасных частей к технике: Daewoo Matiz II. Головка блока цилиндров
1
2
2
2
3
3
4
5
6
6
7
8
9
9
10
10
11
11
12
12
13
13
14
14
14
14
15
16
17
18
19
20
20
21
| Позиция на иллюстрации | Заводской номер детали | Название детали | |
|---|---|---|---|
| 1 | 96316210 | ГОЛОВКА БЛОКА ЦИЛИНДРОВ | |
| 2 | 09241A20002-000 | Заглушка | |
| 3 | 11115A70B00-000 | Направляющая клапана | |
| 4 | 11112A73001-000 | Пробка | |
| 5 | 11117A78B00-000 | Болт | |
| 6 | 04211-13189-000 | Установочный палец | |
| 7 | 11141A78B01-000 | Прокладка головки блока цилиндров | |
| 8 | 12911-78B00-000 | Клапан впускной | |
| 9 | 96352783 | КЛАПАН ВЫПУСКНОЙ | |
| 9 | 96352793 | КЛАПАН ВЫПУСКНОЙ | |
| 10 | 12933-86510-000 | Седло пружины клапана | |
| 11 | 12921A70B00-000 | Пружина клапана | |
| 12 | 09289-05013-000 | Уплотнитель стержня клапана | |
| 13 | 12931A60B02-000 | Тарелка пружины клапана | |
| 14 | 12932-24400-000 | Сухарики клапана | |
| 15 | 96316206 | КОРПУС РАСПРЕДЕЛИТЕЛЯ ЗАЖИГАНИЯ | |
| 16 | 11169A78B01-000 | Прокладка распределителя зажигания | |
| 17 | 09103-06070-000 | Болт корпуса | |
| 18 | 01427-06163 | ШПИЛЬКА | |
| 19 | 08316-25060-000 | ГАЙКА | |
| 20 | 04221-08129-000 | Установочный палец | |
| 21 | 09108-06007 | ШПИЛЬКА |
Содержащиеся в справочниках-каталогах запасные части и детали не предлагаются к продаже, а носят исключительно информационный характер