Вернуться на главную
Поиск
Каталоги запчастей к технике
Легковые автомобили
Daewoo
Matiz
Управление дроссельной заслонкой
Каталог запасных частей к технике: Daewoo Matiz. Управление дроссельной заслонкой
zoom-in
zoom-out
enlarge
shrink
circle-right
circle-left
file-text2
info
cart
Тип техники
Не выбрано
Легковые автомобили
Грузовые автомобили и прицепы
Автобусы
Сельхозтехника
Спецтехника
Двигатели
Мототехника
Марка
Не выбрано
BYD
Chevrolet
Daewoo
Geely
Great Wall
Hyundai
Lifan
Tata
АЗЛК
ВАЗ
ГАЗ
ЗАЗ
ЗИЛ
ИЖ
ЛуАЗ
РАФ
УАЗ
Модель
Не выбрано
Damas
Espero
Lanos (2007)
Matiz
Matiz II (2007)
Nexia
Tico
Схема
>
Не выбрано
Комплект замков
Панель пола передняя
Панель пола задняя
Коврик отсека салона
Коврик багажного отсека
Шумоизоляция
Стекла
Стеклоочиститель передний
Стеклоочиститель задний
Стеклоомыватель
Панель щитка
Панель инструментальная
Панель управления
Панель приборов центральная
Консоль
Боковина
Замок топливозаливной горловины
Облицовка стоек
Облицовка подкрыльника
Полка задняя
Панель крыши
Обивка потолка
Дуги крыши
Дверь передняя
Замок передней двери
Стеклоподъемник передней двери
Уплотнители передней двери
Обивка передней двери (I)
Обивка передней двери (II)
Обивка передней двери (III)
Дверь задняя
Замок задней двери
Стеклоподъемник задней двери
Уплотнители задней двери
Обивка задней двери (I)
Обивка задней двери (II)
Обивка задней двери (III)
Крышка багажного отсека
Замок багажного отсека
Замок центральный
Сиденья передние
Части переднего сиденья
Механизм регулировки переднего сиденья
Сиденья задние
Каналы воздуховодные
Отопитель
Вентилятор вентиляции салона
Испаритель
Радиатор кондиционера
Компрессор
Крепление компрессора
Трубопроводная система кондиционера
Управление кондиционером
Ремень безопасности переднего сидения
Ремень безопасности заднего сидения
Зеркало и козырек солнцезащитный
Зеркало заднего вида
Эмблемы и надписи
Брызговик
Капот
Крыло
Панель кузовная передняя
Двигатель в сборе (0.8 MPI)
Ремни автомобиля
Комплект прокладок
Блок цилиндров
Механизм кривошипно-шатунный
Насос масляный и поддон
Головка цилиндров
Крышка головки цилиндров и распредвал
Кожух зубчатого ремня
Подвеска двигателя
Коллектор впускной
Коллектор выпускной
Бак топливный
Бак топливный (стальной)
Система топливопроводная
Поглотитель паров топлива
Система впрыска топлива
Управление дроссельной заслонкой
Воздухоподача
Шланги вакуумные
Выпуск отработанных газов
Радиатор
Вентилятор охлаждения
Система охлаждения
Термостат
Управление электронное
Диски нажимной и ведомый сцепления
Привод выключения сцепления
Коробка передач механическая
Части привода управления КПП
Механизм коробки переменных передач
Реверс и обгонная шестерня
Механизм привода управления КПП
Привод управления КПП
Коробка передач (4AT, JATCO)
Поддон коробки передач (4AT, JATCO)
Насос масляный (4AT, JATCO)
Части привода управления АКП (4AT, JATCO)
Механизм парковки (4AT, JATCO)
Вал ведущий (4AT, JATCO)
Фрикцион низшей передачи (4AT, JATCO)
Фрикционы передач (4AT, JATCO)
Передача планетарная (4AT, JATCO)
Поршень механизма блокировки (4AT, JATCO)
Корпус клапанов (4AT, JATCO)
Части корпуса клапанов (4AT, JATCO)
Рычаг переключения передач (М/Т)
Рычаг переключения передач (AT/CVT)
Полуось в сборе
Полуось
Дифференциал
Дифференциал (4AT, JATCO)
Рама
Бампер передний
Бампер задний
Подвеска передняя
Рычаги передней подвески
Подвеска задняя
Ось задняя
Кулак поворотный и ступица
Диск колесный и колпак колеса
Колесо рулевое
Кожух рулевого вала
Вал рулевой
Механизм рулевого управления
Детали рулевого механизма
Механизм рулевой с гидроусилителем
Трубопроводы рулевого управления
Суппорт переднего тормоза
Механизм тормозной заднего колеса
Тормоз стояночный
Привод тормоза гидравлический
Цилиндр главный и усилитель вакуумный
Подвеска педалей (механическая КПП)
Подвеска педалей (автоматическая КПП)
Патрубки тормозные (H-TYPE)
Патрубки тормозные (X-TYPE)
Система зажигания
Распределитель зажигания (MANDO)
Распределитель зажигания (DELPHI)
Генератор (DELPHI)
Крепление генератора
Стартер (0,8 KW)-DELPHI
Стартер (0,8 KW)-MANDO
Фара
Фонарь
Батарея аккумуляторная
Предохранители и реле
Проводка автомобиля электрическая
Приборы контрольно-измерительные
Приборы электрические
Аудиосистема
Антенна
Инструменты
Масло, смазочный материал и краска
1
17
18
18
19
21
21
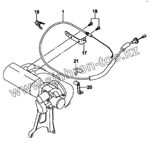
Позиция на иллюстрации
Заводской номер детали
Название детали
1
96316840
ТРОС УПРАВЛЕНИЯ ДРОССЕЛЬНОЙ ЗАСЛОНКОЙ
17
96316841
УПОР ТРОСА
18
09136А06104-000
Болт
18
94520564
ВИНТ С ШАЙБОЙ
19
96264072
ЗАЖИМ
21
09408-01001-000
ХОМУТ
21
94530366
ХОМУТ
Содержащиеся в справочниках-каталогах запасные части и детали не предлагаются к продаже, а носят исключительно информационный характер
Дополнительная информация
×
Название:
Номер:
Примечание: