Вернуться на главную
Поиск
Каталоги запчастей к технике
Легковые автомобили
Daewoo
Matiz
Механизм парковки (4AT, JATCO)
Каталог запасных частей к технике: Daewoo Matiz. Механизм парковки (4AT, JATCO)
zoom-in
zoom-out
enlarge
shrink
circle-right
circle-left
file-text2
info
cart
Тип техники
Не выбрано
Легковые автомобили
Грузовые автомобили и прицепы
Автобусы
Сельхозтехника
Спецтехника
Двигатели
Мототехника
Марка
Не выбрано
BYD
Chevrolet
Daewoo
Geely
Great Wall
Hyundai
Lifan
Tata
АЗЛК
ВАЗ
ГАЗ
ЗАЗ
ЗИЛ
ИЖ
ЛуАЗ
РАФ
УАЗ
Модель
Не выбрано
Damas
Espero
Lanos (2007)
Matiz
Matiz II (2007)
Nexia
Tico
Схема
>
Не выбрано
Комплект замков
Панель пола передняя
Панель пола задняя
Коврик отсека салона
Коврик багажного отсека
Шумоизоляция
Стекла
Стеклоочиститель передний
Стеклоочиститель задний
Стеклоомыватель
Панель щитка
Панель инструментальная
Панель управления
Панель приборов центральная
Консоль
Боковина
Замок топливозаливной горловины
Облицовка стоек
Облицовка подкрыльника
Полка задняя
Панель крыши
Обивка потолка
Дуги крыши
Дверь передняя
Замок передней двери
Стеклоподъемник передней двери
Уплотнители передней двери
Обивка передней двери (I)
Обивка передней двери (II)
Обивка передней двери (III)
Дверь задняя
Замок задней двери
Стеклоподъемник задней двери
Уплотнители задней двери
Обивка задней двери (I)
Обивка задней двери (II)
Обивка задней двери (III)
Крышка багажного отсека
Замок багажного отсека
Замок центральный
Сиденья передние
Части переднего сиденья
Механизм регулировки переднего сиденья
Сиденья задние
Каналы воздуховодные
Отопитель
Вентилятор вентиляции салона
Испаритель
Радиатор кондиционера
Компрессор
Крепление компрессора
Трубопроводная система кондиционера
Управление кондиционером
Ремень безопасности переднего сидения
Ремень безопасности заднего сидения
Зеркало и козырек солнцезащитный
Зеркало заднего вида
Эмблемы и надписи
Брызговик
Капот
Крыло
Панель кузовная передняя
Двигатель в сборе (0.8 MPI)
Ремни автомобиля
Комплект прокладок
Блок цилиндров
Механизм кривошипно-шатунный
Насос масляный и поддон
Головка цилиндров
Крышка головки цилиндров и распредвал
Кожух зубчатого ремня
Подвеска двигателя
Коллектор впускной
Коллектор выпускной
Бак топливный
Бак топливный (стальной)
Система топливопроводная
Поглотитель паров топлива
Система впрыска топлива
Управление дроссельной заслонкой
Воздухоподача
Шланги вакуумные
Выпуск отработанных газов
Радиатор
Вентилятор охлаждения
Система охлаждения
Термостат
Управление электронное
Диски нажимной и ведомый сцепления
Привод выключения сцепления
Коробка передач механическая
Части привода управления КПП
Механизм коробки переменных передач
Реверс и обгонная шестерня
Механизм привода управления КПП
Привод управления КПП
Коробка передач (4AT, JATCO)
Поддон коробки передач (4AT, JATCO)
Насос масляный (4AT, JATCO)
Части привода управления АКП (4AT, JATCO)
Механизм парковки (4AT, JATCO)
Вал ведущий (4AT, JATCO)
Фрикцион низшей передачи (4AT, JATCO)
Фрикционы передач (4AT, JATCO)
Передача планетарная (4AT, JATCO)
Поршень механизма блокировки (4AT, JATCO)
Корпус клапанов (4AT, JATCO)
Части корпуса клапанов (4AT, JATCO)
Рычаг переключения передач (М/Т)
Рычаг переключения передач (AT/CVT)
Полуось в сборе
Полуось
Дифференциал
Дифференциал (4AT, JATCO)
Рама
Бампер передний
Бампер задний
Подвеска передняя
Рычаги передней подвески
Подвеска задняя
Ось задняя
Кулак поворотный и ступица
Диск колесный и колпак колеса
Колесо рулевое
Кожух рулевого вала
Вал рулевой
Механизм рулевого управления
Детали рулевого механизма
Механизм рулевой с гидроусилителем
Трубопроводы рулевого управления
Суппорт переднего тормоза
Механизм тормозной заднего колеса
Тормоз стояночный
Привод тормоза гидравлический
Цилиндр главный и усилитель вакуумный
Подвеска педалей (механическая КПП)
Подвеска педалей (автоматическая КПП)
Патрубки тормозные (H-TYPE)
Патрубки тормозные (X-TYPE)
Система зажигания
Распределитель зажигания (MANDO)
Распределитель зажигания (DELPHI)
Генератор (DELPHI)
Крепление генератора
Стартер (0,8 KW)-DELPHI
Стартер (0,8 KW)-MANDO
Фара
Фонарь
Батарея аккумуляторная
Предохранители и реле
Проводка автомобиля электрическая
Приборы контрольно-измерительные
Приборы электрические
Аудиосистема
Антенна
Инструменты
Масло, смазочный материал и краска
1
2
3
4
5
6
7
8
9
10
11
12
13
14
15
16
17
18
19
20
21
22
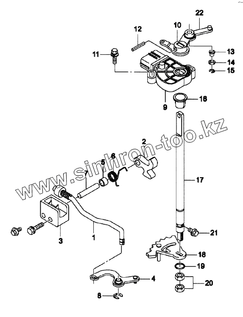
Позиция на иллюстрации
Заводской номер детали
Название детали
1
96567748
ТЯГА МЕХАНИЗМА ПАРКОВКИ
2
96567753
СОБАЧКА МЕХАНИЗМА ПАРКОВКИ
3
96567749
СУППОРТ
4
96567737
КОРОМЫСЛО
5
96567751
ВТУЛКА
6
96567752
ПРУЖИНА
7
96567750
ОСЬ СОБАЧКИ
8
96567773
КОЛЬЦО СТОПОРНОЕ
9
96567734
ВЫКЛЮЧАТЕЛЬ МЕХАНИЗМА ПАРКОВКИ
10
96567476
КУЛИСА СЕЛЕКТОРА
11
96567513
БОЛТ
12
96567770
ПАЛЕЦ ПРУЖИННЫЙ
13
96567730
ВТУЛКА
14
96567732
ШАЙБА
15
96567773
КОЛЬЦО СТОПОРНОЕ
16
96567731
ВТУЛКА ВАЛА ПРИВОДА ПАРКОВКИ
17
96567735
ВАЛ ПРИВОДА ПАРКОВКИ
18
96567736
ПЛАСТИНА УПРАВЛЯЮЩАЯ
19
96567610
САЛЬНИК
20
96567771
ГАЙКА
21
96567508
БОЛТ
22
96567729
БОЛТ СОЕДИНИТЕЛЬНЫЙ
Содержащиеся в справочниках-каталогах запасные части и детали не предлагаются к продаже, а носят исключительно информационный характер
Дополнительная информация
×
Название:
Номер:
Примечание: