Каталог запасных частей к технике: Daewoo Matiz. Бампер передний
2
2
2
2
3
4
5
6
7
7
7
7
8
9
9
10
10
10
10
11
11
12
12
12
12
13
13
13
13
14
14
14
14
15
17
18
18
18
18
19
19
19
19
20
20
20
20
27
28
28
29
29
30
30
31
32
32
33
33
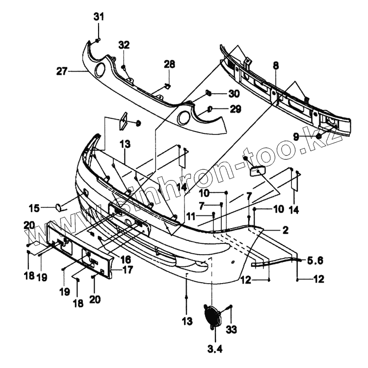
| Позиция на иллюстрации | Заводской номер детали | Название детали | |
|---|---|---|---|
| 2 | 96569465 | РУБАШКА ПЕРЕДНЕГО БАМПЕРА | |
| 2 | 96562593 | РУБАШКА ПЕРЕДНЕГО БАМПЕРА | |
| 2 | 96569466 | РУБАШКА ПЕРЕДНЕГО БАМПЕРА | |
| 2 | 96563988 | РУБАШКА ПЕРЕДНЕГО БАМПЕРА | |
| 3 | 96563550 | ЗАГЛУШКА ПЕРЕДЕГО БАМПЕРА | |
| 4 | 96563551 | ЗАГЛУШКА ПЕРЕДЕГО БАМПЕРА | |
| 5 | 96562948 | УСИЛИТЕЛЬ ПЕРЕДНЕГО БАМПЕРА | |
| 6 | 96562949 | УСИЛИТЕЛЬ ПЕРЕДНЕГО БАМПЕРА | |
| 7 | 03130-42133 | ВИНТ-САМОРЕЗ | |
| 7 | 94520238 | ВИНТ-САМОРЕЗ | |
| 8 | 96563284 | КАРКАС ПЕРЕДНЕГО БАМПЕРА | |
| 9 | 94515122 | ГАЙКА | |
| 9 | 08316-25080 | ГАЙКА | |
| 10 | 09148-05016 | ГАЙКА-САМОРЕЗ | |
| 10 | 94515276 | ГАЙКА-САМОРЕЗ | |
| 11 | 09116-06017 | БОЛТ С ШАЙБОЙ | |
| 11 | 94501371 | БОЛТ С ШАЙБОЙ | |
| 12 | 09136-04013 | ВИНТ-САМОРЕЗ | |
| 12 | 94520536 | ВИНТ-САМОРЕЗ | |
| 13 | 09409-09302 | КЛИПСА | |
| 13 | 94530623 | КЛИПСА | |
| 14 | 09148-04003 | ГАЙКА-САМОРЕЗ | |
| 14 | 94515246 | ГАЙКА-САМОРЕЗ | |
| 15 | 96564080 | ЗАГЛУШКА | |
| 17 | 71718U78V01 | КРОНШТЕЙН КРЕПЛЕНИЯ НОМЕРНОГО ЗНАКА | |
| 18 | 09148-06015 | ГАЙКА | |
| 18 | 94515290 | ГАЙКА | |
| 19 | 09116-0625 | БОЛТ | |
| 19 | 94501377 | БОЛТ С ШАЙБОЙ | |
| 20 | 09136-04013 | ВИНТ-САМОРЕЗ | |
| 20 | 94520536 | ВИНТ-САМОРЕЗ | |
| 27 | 96568392 | ОБЛИЦОВКА ПЕРЕДНЯЯ | |
| 28 | 09409-10306 | КЛИПСА | |
| 28 | 94530633 | КЛИПСА | |
| 29 | 09148-01004 | ГАЙКА | |
| 29 | 94515235 | ГАЙКА | |
| 30 | 09148-04030 | ГАЙКА | |
| 30 | 94515266 | ГАЙКА | |
| 31 | 96211949 | ФИКСАТОР | |
| 32 | 09116-06025 | БОЛТ С ШАЙБОЙ | |
| 32 | 94501377 | БОЛТ С ШАЙБОЙ | |
| 33 | 03241-05163 | ВИНТ | |
| 33 | 94520403 | ВИНТ |
Содержащиеся в справочниках-каталогах запасные части и детали не предлагаются к продаже, а носят исключительно информационный характер