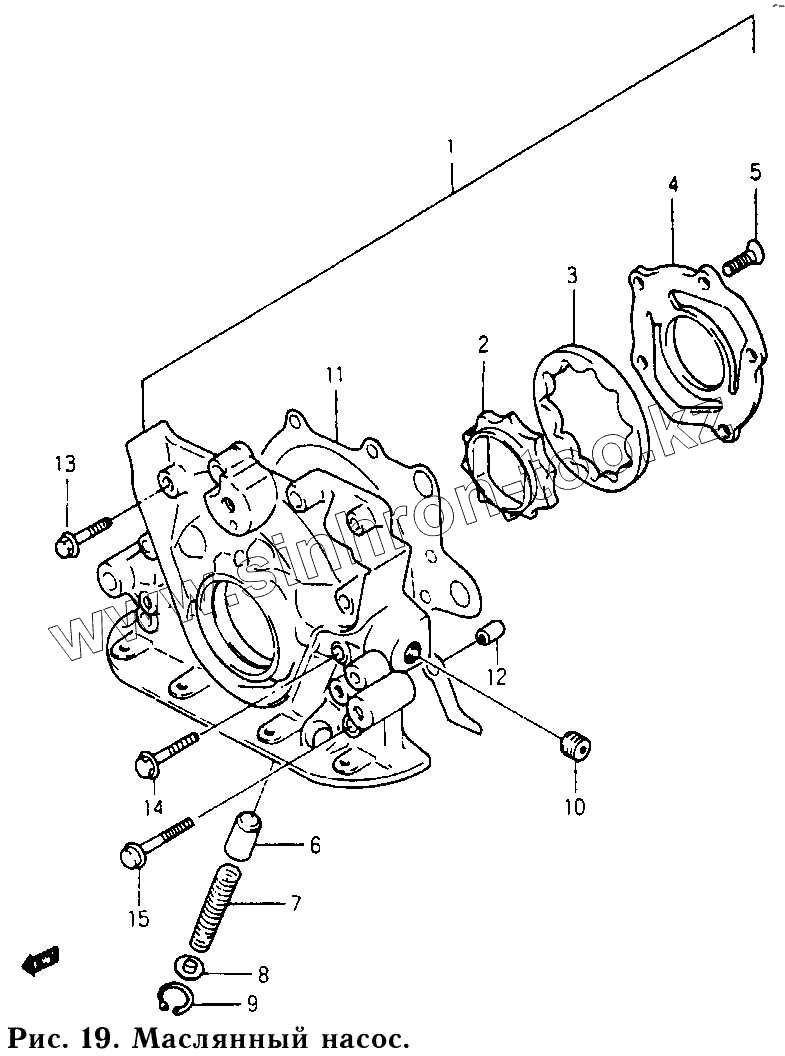
Каталог запасных частей к технике: Daewoo Damas. Масляный насос
1
2
3
4
5
6
7
8
9
10
11
12
13
14
15
| Позиция на иллюстрации | Заводской номер детали | Название детали | |
|---|---|---|---|
| 1 | 16100А70В23-000 | Масляной насос в сборе | |
| 2 | 16131А70В00-000 | Внутренний ротор | |
| 3 | 16132А70В00-000 | Наружный ротор | |
| 4 | 16161А70В00-000 | Пластина ротора насоса | |
| 5 | 02122-06168-000 | Винт | |
| 6 | 16151-60А00-000 | Разгрузочный клапан | |
| 7 | 16152-60А00-000 | Пружина разгрузочного клапана | |
| 8 | 09169-05011-000 | Тарелка пружины | |
| 9 | 08331-41159-000 | Стопорное кольцо | |
| 10 | 09246А08004-000 | Пробка | |
| 11 | 16119-78В00-000 | Прокладка кожуха масляного насоса | |
| 12 | 04211-09109-000 | Установочный палец | |
| 13 | 01957-06303-000 | Болт | |
| 14 | 01957-06353-000 | Болт корпуса масляного насоса | |
| 15 | 01957-06403-000 | Корпусной болт |
Содержащиеся в справочниках-каталогах запасные части и детали не предлагаются к продаже, а носят исключительно информационный характер