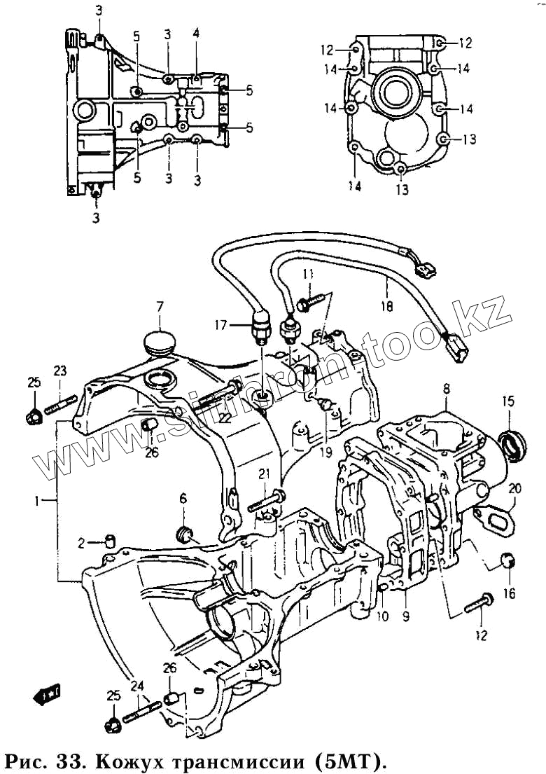
Каталог запасных частей к технике: Daewoo Damas. Кожух трансмиссии (5МТ)
1
2
3
4
5
6
7
8
9
10
11
12
12
13
14
15
16
17
18
19
20
21
22
23
24
25
26
| Позиция на иллюстрации | Заводской номер детали | Название детали | |
|---|---|---|---|
| 20021А83D00-000 | 20021А83D00-000 | 5-ти ступенчатая коробка передач | |
| 1 | 24700-80D00-000 | Корпус коробки передач | |
| 2 | 04211-09169-000 | Посадочный палец | |
| 3 | 01957-08403-000 | Болт | |
| 4 | 01957-08603-000 | Болт корпуса коробки передачи | |
| 5 | 09103-08013-000 | Болт корпуса коробки передачи | |
| 6 | 09246-16009-000 | Пробка контрольного отверстия | |
| 7 | 09250-30003-000 | Заглушка | |
| 8 | 24770-85051-000 | Хвостовик коробки передач №1 | |
| 9 | 24781 А85050-000 | Хвостовик коробки передач №2 | |
| 10 | 04211-09169-000 | Посадочный палец | |
| 11 | 01957-08303-000 | Болт генератора | |
| 12 | 01957-08353-000 | Болт | |
| 12 | 01957-08403-000 | Болт | |
| 13 | 01957-08653-000 | Болт хвостовика №5 | |
| 14 | 01957-08703-000 | Болт хвостовика №4 | |
| 15 | 24780А80D00-000 | Сальник хвостовика | |
| 16 | 09246А16010-000 | Дренажная пробка | |
| 17 | 37610А80023-000 | Включатель ламп заднего хода | |
| 18 | 37710-80D00-000 | Включатель | |
| 19 | 25455-80D00-000 | Пробка | |
| 20 | 11851А78В01-000 | Крюк двигателя | |
| 21 | 01957-10503-000 | Болт | |
| 22 | 01957-10553-000 | Болт № 1 | |
| 23 | 01421-10353-000 | Шпилька блока и кожуха к/п | |
| 24 | 01421-10403-000 | Болт №1 | |
| 25 | 08316-26103-000 | Гайка | |
| 26 | 04211-13149-000 | Крепежная втулка |
Содержащиеся в справочниках-каталогах запасные части и детали не предлагаются к продаже, а носят исключительно информационный характер