Каталог запасных частей к технике: Daewoo Damas. Кожух испарителя
1
2
3
4
5
6
8
9
10
10
11
11
12
12
13
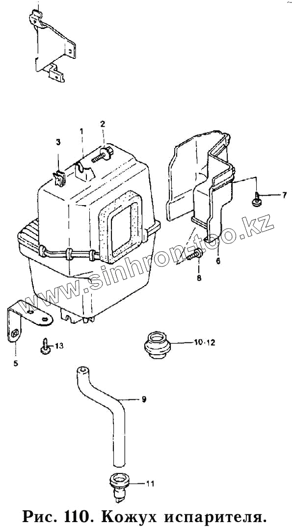
| Позиция на иллюстрации | Заводской номер детали | Название детали | |
|---|---|---|---|
| 1 | 95400А62С01-000 | Испаритель | |
| 2 | 011954-06163-000 | Болт | |
| 3 | 95782А85000-000 | Гайка | |
| 4 | 95632-62С01-000 | Кронштейн испарителя | |
| 5 | 95633-62С00-000 | Стойка кожуха испарителя | |
| 6 | 95461-62С00-000 | Кожух испарителя | |
| 8 | 02142-06123-000 | Винт | |
| 9 | 95491-85200-000 | Дренажная трубка | |
| 10 | 09250-35003-000 | Уплотнитель | |
| 10 | 95762-85200-000 | Уплотнитель | |
| 11 | 09250-20002-000 | Уплотнитель дренажной трубки | |
| 11 | 95764-85000-000 | Уплотнитель дренажной трубки | |
| 12 | 09250-25003-000 | Уплотнитель | |
| 12 | 95763-85200-000 | Уплотнитель | |
| 13 | 03241-05103-000 | Винт |
Содержащиеся в справочниках-каталогах запасные части и детали не предлагаются к продаже, а носят исключительно информационный характер