Каталог запасных частей к технике: Chevrolet Lanos. Трубопроводы системы охлаждения
1
2
3
4
4
4
4
4
4
4
4
4
4
5
5
6
6
6
6
6
6
6
6
6
6
7
8
8
9
10
10
11
12
13
14
15
15
16
17
18
18
19
20
21
21
22
22
23
24
24
24
25
25
26
27
28
28
29
29
29
29
29
29
30
30
30
30
31
31
31
31
32
33
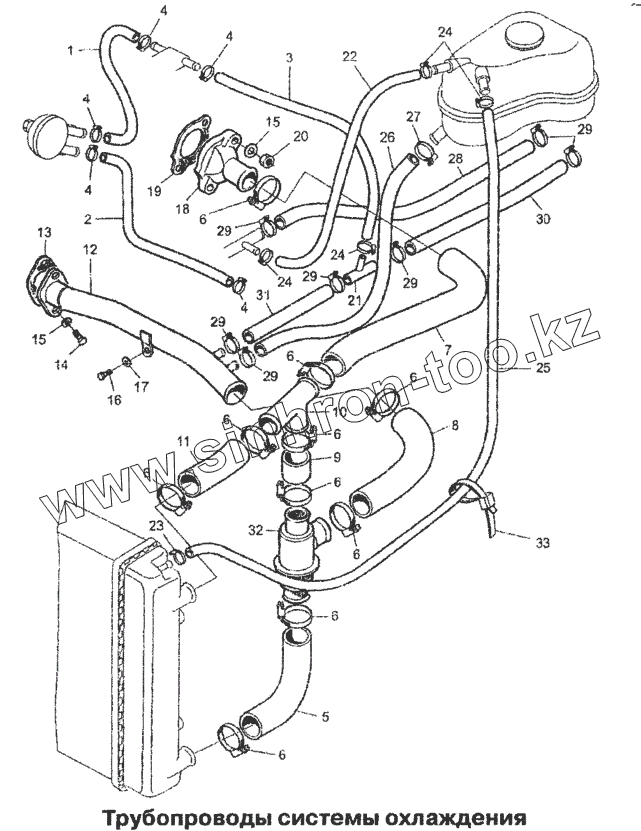
| Позиция на иллюстрации | Заводской номер детали | Название детали | |
|---|---|---|---|
| 1 | 301.1107937-04 | Трубка от полуавтоматического устройства карбюратора к блоку подогрева карбюратора | |
| 2 | 301.1107938-04 | Трубка подогрева дроссельного патрубка подводящая | |
| 3 | 301.1107938-04 | Трубка подогрева дроссельного патрубка подводящая | |
| 4 | 110206-1164035 | Хомут винтовой червячный | |
| 4 | 110206-1164085 | Хомут винтовой червячный | |
| 5 | T1301-1303010 | Шланг радиатора отводящий | |
| 5 | T1301-1303010-01 | Шланг радиатора отводящий | |
| 6 | 110206-1303072 | Хомут | |
| 7 | T1311-1303025 | Шланг радиатора подводящий | |
| 8 | T1301-1303056 | Шланг от термостата к перепускной трубе | |
| 8 | T1301-1303056-01 | Шланг от термостата к перепускной трубе | |
| 9 | T1311-1303057 | Шланг тройника | |
| 10 | 1102-1303042-10 | Тройник | |
| 10 | 1102-1303042 | Тройник | |
| 11 | T1311-1303058 | Шланг радиатора | |
| 12 | 245.1303090-20 | Труба перепускная термостата | |
| 13 | 245.1303094 | Прокладка уплотнительная | |
| 14 | [Болт] | Болт | |
| 15 | [Шайба] | Шайба | |
| 16 | [Болт] | Болт | |
| 17 | [Шайба] | Шайба | |
| 18 | 246.1306106 | Патрубок отводящий | |
| 18 | 245.1306106-01 | Патрубок отводящий | |
| 19 | 245.1306108 | Прокладка | |
| 20 | Гайка | Гайка крепления карбюратора и топливного насоса | |
| 21 | 1103-1311090-01 | Соединитель шлангов | |
| 21 | 1103-1311090 | Соединитель шлангов | |
| 22 | T1301-1311062 | Шланг пароотводящий правый | |
| 22 | T1301-1311062-01 | Шланг пароотводящий правый | |
| 23 | 110206-1164085 | Хомут винтовой червячный | |
| 24 | 110206-1164095 | Хомут винтовой червячный | |
| 25 | T1301-1311063 | Шланг пароотводящий левый | |
| 25 | T1301-1311063-01 | Шланг пароотводящий левый | |
| 26 | 96 35 1748 | Шланг от расширительного бачка к перепускной трубе | |
| 27 | 09401-22401 | Хомут | |
| 28 | T1301-8120110-01 | Шланг отопителя подводящий | |
| 28 | T1301-8120110 | Шланг отопителя подводящий | |
| 29 | 1102-8101177 | Хомут | |
| 30 | T1301-8120120 | Шланг отопителя отводящий | |
| 30 | T1301-8120120-01 | Шланг отопителя отводящий | |
| 30 | T1301-8120120-02 | Шланг отопителя отводящий | |
| 30 | T1301-8120120-02 | Шланг отопителя отводящий | |
| 31 | T1301-8120122 | Шланг отопителя отводящий | |
| 31 | T1301-8120122-01 | Шланг отопителя отводящий | |
| 31 | T1301-8120122-01 | Шланг отопителя отводящий | |
| 31 | T1301-8120122-02 | Шланг отопителя отводящий | |
| 32 | Т80-95.0000 | Термостат | |
| 33 | Kifco ВD703 | Хомут |
Содержащиеся в справочниках-каталогах запасные части и детали не предлагаются к продаже, а носят исключительно информационный характер