Каталог запасных частей к технике: BYD F3. Механизм задней двери
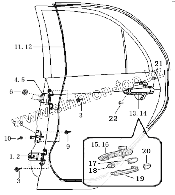
1
2
3
3
4
5
6
7
8
9
10
11
12
13
13
14
14
15
16
17
18
19
19
20
20
21
22
| Позиция на иллюстрации | Заводской номер детали | Название детали | |
|---|---|---|---|
| 1 | BYDF3-6206130 | Нижний шарнир левой задней боковой двери в сборе | |
| 2 | BYDF3-6206140 | Нижний шарнир правой задней боковой двери в сборе | |
| 3 | Q1460825 | Наборный болт | |
| 4 | BYDF3-6206110 | Верхний шарнир левой задней боковой двери в сборе | |
| 5 | BYDF3-6206120 | Верхний шарнир правой задней боковой двери в сборе | |
| 6 | Q32008 | Гайка | |
| 7 | BYDF3-6209110 | Ограничитель положения левой задней двери в сборе | |
| 8 | BYDF3-6209120 | Ограничитель положения правой задней двери в сборе | |
| 9 | Q1860616 | Болт с шестигранной фланцевой головкой | |
| 10 | Q1840816 | Болт с шестигранной фланцевой головкой | |
| 11 | BYDF3-6207111 | Уплотнитель левой задней двери | |
| 12 | BYDF3-6207112 | Уплотнитель правой задней двери | |
| 13 | BYDF3-6205110C | Наружная ручка левой задней двери | |
| 13 | BYDF3-6205110 | Наружная ручка левой задней двери | |
| 14 | BYDF3-6205120 | Наружная ручка правой задней двери | |
| 14 | BYDF3-6205120C | Наружная ручка правой задней двери | |
| 15 | BYDF3-6205113 | Левое заднее гнездо в сборе | |
| 16 | BYDF3-6205123 | Правое заднее гнездо в сборе | |
| 17 | BYDF3-6105114 | Большая шайба | |
| 18 | BYDF3-6105115 | Малая шайба | |
| 19 | BYDF3-6105111 | Ручка | |
| 19 | BYDF3-6105111C | Ручка | |
| 20 | BYDF3-6205112 | Гнездо ручки задней двери | |
| 20 | BYDF3-6205112C | Гнездо ручки задней двери | |
| 21 | BYDF3-6111116 | Винт типа F со звездчатой плоской головкой с опорной поверхностью с вырезом под шестигранный ключ | |
| 22 | BYDF3-6111115 | Винт типа C со звездчатой плоской головкой с опорной поверхностью с вырезом под шестигранный ключ |
Содержащиеся в справочниках-каталогах запасные части и детали не предлагаются к продаже, а носят исключительно информационный характер