Каталог запасных частей к технике: АЗЛК Москвич-407. Жалюзи радиатора и привод управления
1
1
2
2
3
3
4
5
5
6
6
7
7
8
9
9
9
10
11
12
13
14
14
15
15
16
17
17
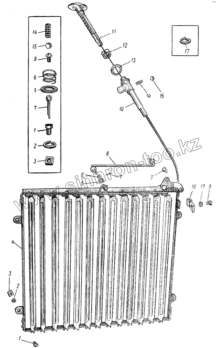
| Позиция на иллюстрации | Заводской номер детали | Название детали | |
|---|---|---|---|
| 220076-П8 | 220076-П8 | Винт крепления нижней рамки жалюзи | |
| 402-1310023 | 402-1310023 | Планка жалюзи радиатора нижняя | |
| 402-1310066 | 402-1310066 | Планка привода пластин жалюзи в сборе | |
| 407-1310054 | 407-1310054 | Пластина жалюзи радиатора в сборе | |
| 402-1310073 | 402-1310073 | Проволока противошумная | |
| 407-1310013 | 407-1310013 | Рамка жалюзи в сборе | |
| 402-1310080 | 402-1310080 | Ручка управления жалюзи радиатора с тягой и фиксатором в сборе | |
| 252153-П2 | 252153-П2 | Шайба пружинная | |
| 201416-П8 | 201416-П8 | Болт держателя | |
| 1 | 201417-П8 | Болт крепления кронштейна | |
| 2 | 252154-П2 | Шайба пружинная | |
| 3 | 251104-П8 | Гайка | |
| 4 | 407-1310010 | Жалюзи радиатора в сборе | |
| 5 | 252002-П8 | Шайба | |
| 6 | 400-1108065 | Пружина | |
| 7 | 258000-П8 | Шплинт | |
| 8 | 402-1310075 | Тяга планки привода жалюзи радиатора в сборе | |
| 9 | 222496-П8 | Винт крепления тяги к муфте рычага | |
| 10 | 402-1310100 | Корпус фиксатора ручки управления жалюзи радиатора с оболочкой тяги в сборе | |
| 11 | 402-1310083 | Ручка управления жалюзи радиатора с тягой в сборе | |
| 12 | 250636-П8 | Гайка крепления наконечника гибкого шланга задних тормозов | |
| 13 | 252179-П2 | Шайба пружинная с внутренним зубом | |
| 14 | 401-1310114 | Пружина фиксатора ручки управления жалюзи радиатора | |
| 15 | 263011-П | Шарик | |
| 16 | 402-1310120 | Держатель оболочки тяги управления жалюзи | |
| 17 | 252154-П2 | Шайба пружинная |
Содержащиеся в справочниках-каталогах запасные части и детали не предлагаются к продаже, а носят исключительно информационный характер