Вернуться на главную
Поиск
Каталоги запчастей к технике
Легковые автомобили
АЗЛК
Москвич-407
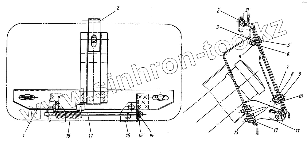
Кронштейн крепления заднего номерного знака
Каталог запасных частей к технике: АЗЛК Москвич-407. Кронштейн крепления заднего номерного знака
zoom-in
zoom-out
enlarge
shrink
circle-right
circle-left
file-text2
info
cart
Тип техники
Не выбрано
Легковые автомобили
Грузовые автомобили и прицепы
Автобусы
Сельхозтехника
Спецтехника
Двигатели
Мототехника
Марка
Не выбрано
BYD
Chevrolet
Daewoo
Geely
Great Wall
Hyundai
Lifan
Tata
АЗЛК
ВАЗ
ГАЗ
ЗАЗ
ЗИЛ
ИЖ
ЛуАЗ
РАФ
УАЗ
Модель
Не выбрано
Москвич 412
Москвич-2137 (1977)
Москвич-2140 (1977)
Москвич-2141 (1998)
Москвич-2335 (1998)
Москвич-2734 (1998)
Москвич-400-420
Москвич-407
Схема
>
Не выбрано
Крышки люков и коврики пола в переднем отделении
Крышки люков и коврики пола в заднем отделении
Пол багажника
Детали ветрового и заднего окна
Стеклоочиститель и привод
Панель приборов
Вещевой ящик
Вентиляционный люк
Обшивка боковины и передка
Задок кузова
Замок, ручка и привод замка багажника
Обшивка потолка и задка кузова
Передняя дверь кузова
Поворотное стекло передней двери
Опускное стекло и стеклоподъемник передней двери
Замок, ручки, петли передней двери кузова
Задняя дверь кузова
Опускное и угловое стекла и стеклоподъемник задней двери
Замок, ручки, петли задней двери кузова
Дверь задка кузова
Замок двери задка кузова
Ручка и ключи двери задка кузова
Петля двери задка кузова
Ограничитель открытия и фиксатор двери задка кузова
Переднее сиденье
Каркас и обивка переднего сиденья
Заднее сиденье автомобиля "Москвич 407"
Заднее сиденье автомобиля "Москвич 423Н"
Опора спинки заднего сиденья
Боковой запор спинки заднего сиденья
Каркас и обивка заднего сиденья "Москвич 407"
Каркас со щитом подушки заднего сиденья "Москвич 423Н"
Детали отопителя
Вентилятор отопителя
Принадлежности кузова
Орнамент, заводской знак, декоративная надпись и накладки
Капот и арматура
Переднее и заднее крылья
Полка щита радиатора и брызговики
Декоративные детали облицовки
Двигатель в сборе
Подвеска двигателя
Продольный разрез двигателя
Детали крепления крышки распределительных шестерен
Детали крепления крышки коробки толкателей
Головка цилиндров двигателя
Поперечный разрез двигателя
Коленчатый вал, маховик и коренные подшипники
Распределительный вал
Оборудование, узлы и детали, расположенные на левой стороне двигателя
Оборудование, узлы и детали, расположенные на правой стороне двигателя
Масляный картер двигателя
Маслоприемник и масляный насос двигателя
Фильтр грубой очистки масла
Фильтр тонкой очистки масла
Бензиновый бак
Бензопроводы
Бензиновый насос
Карбюратор
Детали карбюратора
Привод управления дроссельной и воздушной заслонкой карбюратора
Воздухоочиститель
Глушитель
Приемная труба глушителя
Радиатор
Трубопроводы, шланги и термостат системы охлаждения
Центробежный насос системы охлаждения
Вентилятор и приводной ремень
Жалюзи радиатора и привод управления
Механизм сцепления
Привод выключения сцепления
Коробка передач трехступенчатая
Механизм управления коробкой передач
Коробка передач четырехступенчатая
Механизм переключения четырехступенчатой коробки передач
Механизм управления четырехступенчатой коробкой передач
Карданный вал и его шарниры
Детали заднего моста
Главная передача и дифференциал заднего моста
Поперечина № 2 рамы
Буфер передний
Буфер задний
Кронштейн крепления заднего номерного знака
Подвеска передняя в сборе
Пружина, стойка и рычаги передней подвески
Амортизатор передней подвески
Стабилизатор поперечной устойчивости на передней подвеске
Рессора задней подвески
Амортизатор задней подвески
Поворотные рычаги и рулевые тяги
Колесо и шина
Ступица переднего колеса
Крепление запасного колеса
Рулевое управление
Тормоз переднего колеса
Колесный цилиндр тормоза переднего колеса
Тормоз заднего колеса
Колесный цилиндр тормоза заднего колеса
Педаль тормоза и привод
Главный тормозной цилиндр
Трубопроводы гидравлического привода тормозов
Ручной механический привод тормозов
Генератор в сборе
Детали генератора
Реле-регулятор
Аккумуляторная батарея
Замок зажигания
Катушка зажигания, свеча и провода зажигания
Распределитель зажигания
Стартер
Центральный переключатель света
Ножной переключатель света П-23Б
Ножной переключатель света П-39
Фара
Подфарник
Плафон внутреннего освещения
Задний сигнальный фонарь
Фонарь освещения номерного знака
Включатель сигнала "стоп"
Звуковой сигнал
Блок плавких предохранителей
Электропровода и соединители
Монтажная схема электропроводки
Прерыватель указателей поворотов
Переключатель указателей поворотов
Комбинации приборов
Щиток приборов
Спидометр
Часы
Радиооборудование
Шоферский инструмент
1
2
2
3
4
5
6
7
8
9
10
11
12
13
14
15
16
17
18
Позиция на иллюстрации
Заводской номер детали
Название детали
1
407-2808010
Кронштейн заднего номерного знака в сборе
2
402-2808035-Б
Запор кронштейна
3
250764-П8
Гайка
4
252134-П2
Шайба пружинная
5
201417-П8
Болт крепления кронштейна
6
252004-П8
Шайба
7
250764-П8
Гайка
8
252134-П2
Шайба пружинная
9
201417-П2
Болт крепления крыла к распорке крыла
10
252004-П8
Шайба
11
402-2808033-Б
Петля крепления кронштейна левая
12
252174-П8
Шайба пружинная зубчатая
13
201417-П8
Болт крепления кронштейна
14
258000-П8
Шплинт
15
252036-П8
Шайба
16
402-2808032-Б
Петля крепления кронштейна правая
17
402-2808028
Стержень кронштейна
18
407-2808030
Пружина кронштейна
Содержащиеся в справочниках-каталогах запасные части и детали не предлагаются к продаже, а носят исключительно информационный характер
Дополнительная информация
×
Название:
Номер:
Примечание: