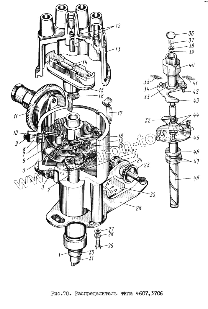
Каталог запасных частей к технике: ЗИЛ-131. Распределитель типа 4607.3706
1
2
3
4
5
6
7
8
9
10
11
12
13
14
15
16
17
18
19
20
21
22
23
23
24
25
26
27
28
29
30
31
32
33
34
35
36
37
38
39
40
41
42
43
44
45
46
47
48
| Позиция на иллюстрации | Заводской номер детали | Название детали | |
|---|---|---|---|
| Р133-3706250 | Р133-3706250 | Пластина в сборе | |
| 46.3706100-70 | 46.3706100-70 | Корпус в сборе | |
| СТП226-012-429 | СТП226-012-429 | Шайба | |
| Р4-3706031-В | Р4-3706031-В | Пластина установочная нижняя | |
| Р4-3706030-В | Р4-3706030-В | Рычаг установки зажигания в сборе | |
| 1 | Н-1449-П29 | Шайба | |
| 2 | 46.3706200-70 | Валик в сборе | |
| 3 | Р34-3706110Т | Корпус масленки | |
| 4 | Р-8050-А | Крышка масленки | |
| 5 | Р4-3706370 | Стойка контактная в сборе | |
| 6 | Р4-3706360Т | Провод соединительный в сборе | |
| 7 | Р10-7064-А | Втулка | |
| 8 | Р10-7061-А | Втулка | |
| 9 | Н-2091-П29 | Болт | |
| 10 | Р10-7062 | Стержень клеммы | |
| 11 | 46.3706600-70 | Регулятор вакуумный | |
| 12 | Р133-3706510 | Контакт угольный с пружиной в сборе | |
| 13 | Р133-3706500 | Крышка распределителя в сборе | |
| 14 | С5-52 | Резистор | |
| 15 | Р141-3706020-70 | Бегунок в сборе | |
| 16 | Р141-3706024 | Пружина бегунка | |
| 17 | Р116-3706102 | Пружина | |
| 18 | Р4-3706330 | Рычаг прерывателя в сборе | |
| 19 | Р4-3706101-В | Корпус распределителя | |
| 20 | Р22-3706380 | Заклепка с контактом в сборе | |
| 21 | Р133-3706300 | Пластина в сборе | |
| 22 | 1-ИГ-579-А | Втулка | |
| 23 | Р20-3706056Т | Шайба специальная | |
| 24 | Р20-3706055-АТ | Гайка | |
| 25 | Р4-3706031Т | Пластина установочная | |
| 26 | Р4-3706050-В | Пластина установочная | |
| 27 | Н-1388-П33 | Шайба | |
| 28 | Н-1235 | Шайба | |
| 29 | Н-1956-П29 | Болт | |
| 30 | Н-1525-П29 | Заклепка | |
| 31 | Р35-3706011-Т | Муфта | |
| 32 | Р133-3706201 | Кольцо стопорное | |
| 33 | Р137-3706230-70 | Втулка с кулачком и пластиной в сборе | |
| 34 | Р133-3706264 | Ось пружины | |
| 35 | СТ-7302 | Пружина | |
| 36 | Р10-7163 | Манжета | |
| 37 | Р50-3706204 | Замок | |
| 38 | Н-1884-П29 | Шайба | |
| 39 | Н-1951-П29 | Шайба | |
| 40 | Р133-37062323 | Кулачок | |
| 41 | СТ-7311 | Пружина | |
| 42 | Р133-3706263 | Ось пружины | |
| 43 | Р133-3706254 | Пластина ведомая | |
| 44 | Р133-3506241-30 | Грузик | |
| 45 | Р133-3706220 | Пластина грузиков со стойками пружин в сборе | |
| 46 | Н-2052 | Шайба | |
| 47 | Н-2009-П29 | Шайба | |
| 48 | 46.3706210-70 | Валик с пластиной грузиков в сборе |
Содержащиеся в справочниках-каталогах запасные части и детали не предлагаются к продаже, а носят исключительно информационный характер