Каталог запасных частей к технике: Volvo FH12. Головка блока цилиндров
1
2
2
2
2
2
2
3
3
4
4
5
6
7
7
8
9
10
10
11
11
12
13
13
14
14
15
16
17
18
19
19
20
21
22
23
24
25
26
27
27
28
28
29
30
31
32
33
34
35
36
37
38
39
40
41
42
43
44
45
46
47
48
211
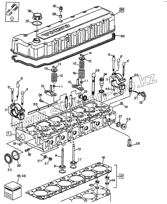
| Позиция на иллюстрации | Заводской номер детали | Название детали | |
|---|---|---|---|
| 1 | 8113267 | Головка цилиндра | |
| 1 | 3165239 | Головка цилиндра | |
| 2 | 3165130 | Корпус переднего подшипника | |
| 2 | 3165133 | Корпус центрального подшипника | |
| 2 | 3165136 | Корпус заднего подшипника | |
| 3 | 8170626 | Шпилька | |
| 4 | 1547889 | Болт М10х127 | |
| 5 | 1547888 | Болт М10x106 | |
| 6 | 1677283 | Болт М10х70 | |
| 7 | 1546437 | Направляющая клапана | |
| 8 | 3183227 | Седло впускного клапана | |
| 8 | 3183228 | Седло впускного клапана | |
| 9 | 3169490 | Впускной клапан | |
| 10 | 1677963 | Направляющий палец | |
| 11 | 859171 | Маслосъемный колпачок | |
| 12 | 1547210 | Клапанная пружина | |
| 13 | 1546487 | Тарелка пружины | |
| 14 | 1677875 | Сухарики клапана | |
| 15 | 1547210 | Клапанная пружина | |
| 16 | 3183210 | Клапанная пружина | |
| 17 | 3165369 | Седло выпускного клапана | |
| 17 | 3165397 | Седло выпускного клапана | |
| 18 | 20441945 | Выпускной клапан | |
| 19 | 968062 | Пробка | |
| 20 | 422426 | Палец | |
| 21 | 20441335 | Пробка | |
| 22 | 8170553 | Крышка сальника | |
| 23 | 1544710 | Уплотнительное кольцо | |
| 24 | 1546718 | Втулка | |
| 25 | 3165747 | Круглое уплотнительное кольцо | |
| 26 | 3155057 | Распылитель | |
| 27 | 949659 | Круглое уплотнительное кольцо | |
| 28 | 3155171 | Пробка | |
| 29 | 1547419 | Болт | |
| 30 | 8148863 | Шпилька | |
| 31 | 28429850 | Клипса | |
| 32 | 983472 | Хомут | |
| 33 | 3165098 | Планка | |
| 34 | 946441 | Болт с фланцем | |
| 35 | 20381150 | Клапанная крышка | |
| 36 | 3154328 | Маслозаливная крышка | |
| 37 | 1675841 | Прокладка | |
| 38 | 8170116 | Прокладка клапанной крышки | |
| 39 | 3964604 | Втулка | |
| 40 | 8148488 | Накидная гайка | |
| 41 | 3099100 | Прокладка головки блока | |
| 41 | 3093503 | Прокладка головки блока | |
| 42 | 20412953 | Прокладка | |
| 42 | 8170113 | Прокладка | |
| 43 | [Уплотнительное кольцо] | Уплотнительное кольцо | |
| 44 | [Уплотнительное кольцо] | Уплотнительное кольцо | |
| 45 | 3165309 | Комплект капремонта | |
| 46 | 950562 | Направляющий палец | |
| 47 | 1546484 | Втулка | |
| 48 | 3092642 | Прокладки | |
| 48 | 3093851 | Прокладки для капремонта | |
| 211 | 947281 | Прокладка |
Содержащиеся в справочниках-каталогах запасные части и детали не предлагаются к продаже, а носят исключительно информационный характер