Каталог запасных частей к технике: УралАЗ УРАЛ-63685. Механизм опрокидывания кабины
1
2
3
3
4
4
5
5
5
6
6
7
8
9
10
11
12
13
14
15
16
17
18
19
20
21
22
22
23
24
25
26
27
28
29
30
31
32
33
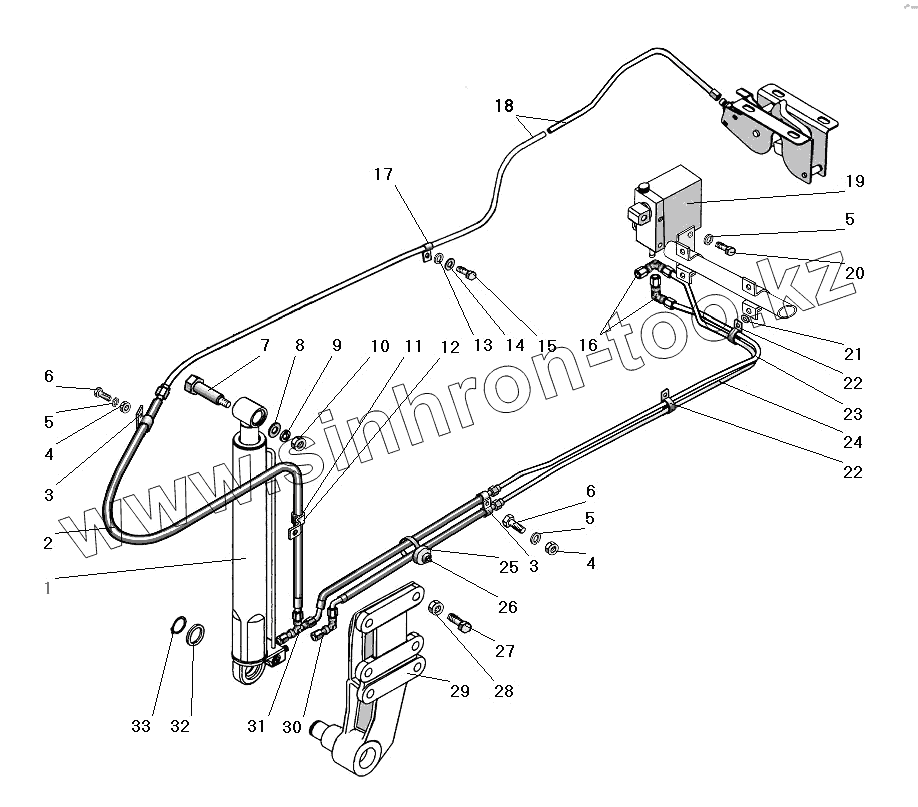
| Позиция на иллюстрации | Заводской номер детали | Название детали | |
|---|---|---|---|
| 1 | 500337311 | Гидроцилиндр | |
| 2 | НР-08.00.000 | Шланг высокого давления | |
| 3 | 6363-5002036 | Хомут | |
| 4 | 250512-П29 | Гайка М10 | |
| 5 | 252156-П2 | Шайба 10 пружинная | |
| 6 | 201497-П29 | Болт М10-6gх25 | |
| 7 | 6361Х-5002047 | Палец | |
| 8 | 252007-П29 | Шайба 12 | |
| 9 | 252137-П2 | Шайба 12 пружинная | |
| 10 | 250514-П29 | Гайка М12-6Н | |
| 11 | 4320-3724232 | Прокладка | |
| 12 | 339414-П29 | Хомут 19 | |
| 13 | 252005-П29 | Шайба 8 | |
| 14 | 252155-П2 | Шайба 8 пружинная | |
| 15 | 201456-П29 | Болт М8-6gх20 | |
| 16 | 532303-5004126 | Угольник | |
| 17 | 339178-П29 | Хомут 9 | |
| 18 | 6363-5004092-10 | Трубка к замку запора кабины | |
| 19 | 9945 8304 ЕZ | Насос | |
| 20 | 201495-П29 | Болт М10-6gх20 | |
| 21 | 252037-П29 | Шайба 6 | |
| 22 | 6363-5003071-10 | Хомут | |
| 23 | 6363-5004096 | Трубка к цилиндру подъема кабины | |
| 24 | 6363-5004098 | Трубка к цилиндру подъема кабины | |
| 25 | 375-8402321 | Буфер | |
| 26 | 42099076 | Хомут | |
| 27 | 332572 | Болт М14х1,5-6g | |
| 28 | 251648-П29 | Гайка М14х1,5-6Н | |
| 29 | 6363-5002040 | Кронштейн цилиндра опрокидывания кабины | |
| 30 | 6363-5004126 | Угольник | |
| 31 | 6363-5002136 | Тройник | |
| 32 | 6361Х-5002045 | Шайба | |
| 33 | 5557Я-3403111 | Кольцо |
Содержащиеся в справочниках-каталогах запасные части и детали не предлагаются к продаже, а носят исключительно информационный характер