Каталог запасных частей к технике: УралАЗ УРАЛ-63674. Трубопроводы и шланги системы питания
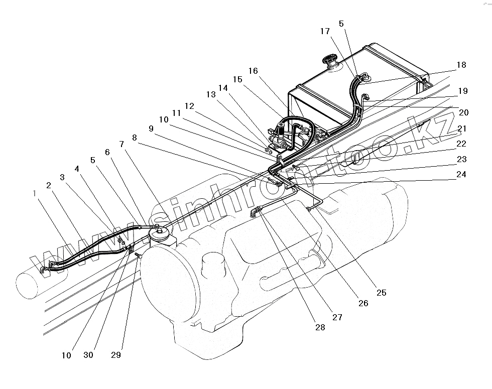
1
2
3
4
5
5
6
7
8
9
10
10
11
12
13
14
15
16
17
18
19
20
21
22
23
24
25
26
27
28
29
30
| Позиция на иллюстрации | Заводской номер детали | Название детали | |
|---|---|---|---|
| 1 | 5323-3125076 | Рукав 10х17,5-1,47 L=1000 | |
| 2 | 63621-1104059 | Рукав 10х17,5-1,47 L=750 | |
| 3 | 250512-П29 | Гайка М10 | |
| 4 | 252136-П2 | Шайба 10 пружинная | |
| 5 | 00.10.00 | Хомут червячный (12-22) | |
| 6 | 63621-1104320 | Трубка от ФТОТ к бачку подогревателя | |
| 7 | 6363-1104313 | Трубка от бачка подогревателя к топливозаборнику | |
| 8 | 4598711592 | Пряжка хомута | |
| 9 | 258038-П29 | Шплинт 3,2х16 | |
| 10 | 375-3506023 | Прокладка хомута | |
| 11 | 339844-П29 | Хомут | |
| 12 | 250510-П29 | Гайка М8-6Н | |
| 13 | 252135-П2 | Шайба 8 пружинная | |
| 14 | 6363-1104064 | Планка | |
| 15 | 375-3408682 | Шланг сливной | |
| 16 | 432001-1104345 | Рукав 10х17,5-1.47 L=1500 | |
| 17 | 4320-3108669 | Шланг низкого давления | |
| 18 | 432001-1104059 | Рукав 10х17,5-1,47 L=480 | |
| 19 | 6363-1104202 | Трубка от форсунок вторая | |
| 20 | 2108-3401228 | Хомут | |
| 21 | 4320-1104059 | Шланг соединительный | |
| 22 | 201456-П29 | Болт М8-6gх20 | |
| 23 | 4598711572 | Лента хомута 20 | |
| 24 | 339392-П29 | Хомут 9 | |
| 25 | 6363-1104115 | Трубка возврата топлива от форсунок, первая | |
| 26 | 6363-1104150 | Трубка к топливоподкачивающему насосу | |
| 27 | 4320-1104139 | Прокладка уплотнительная | |
| 28 | 63621-1104122 | Штуцер | |
| 29 | 201498-П29 | Болт М10-6gх28 | |
| 30 | 6363-1104062 | Хомут |
Содержащиеся в справочниках-каталогах запасные части и детали не предлагаются к продаже, а носят исключительно информационный характер