Каталог запасных частей к технике: УралАЗ УРАЛ-63674. Рама
1
2
2
2
2
2
3
3
4
5
6
6
7
8
9
10
10
10
10
11
12
13
14
15
16
16
17
18
19
20
21
22
23
24
25
26
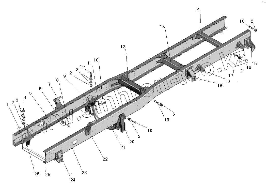
| Позиция на иллюстрации | Заводской номер детали | Название детали | |
|---|---|---|---|
| 1 | 6363-2902536-10 | Усилитель переднего кронштейна передней рессоры правый | |
| 2 | 251649-П29 | Гайка М16х1,5-6Н | |
| 3 | 336047-П29 | Шайба 17 | |
| 4 | 332736-П29 | Болт М16х1,5-6gх60 | |
| 5 | 63674-2801020 | Лонжерон рамы правый | |
| 6 | 251648-П29 | Гайка М14х1,5-6Н | |
| 7 | 6363-2905534 | Кронштейн амортизатора верхний правый | |
| 8 | 330009-П29 | Болт М14х1,5х39 | |
| 9 | 6363-2902455 | Усилитель заднего кронштейна передней рессоры | |
| 10 | 332666-П29 | Болт М16х1,5х50 | |
| 11 | 252139-П2 | Шайба 16 | |
| 12 | 6363-2801100 | Поперечина №2 | |
| 13 | 63634-2801177 | Поперечина рамы | |
| 14 | 6363-2801174 | Поперечина крепления амортизаторов | |
| 15 | 6363-2912443 | Кронштейн задней рессоры задний с вкладышем | |
| 16 | 6363-2913445 | Кронштейн дополнительной рессоры | |
| 17 | 55571-2402066 | Болт М16х1,5х34 | |
| 18 | 6363-2912441 | Кронштейн задней рессоры передний с крышками | |
| 19 | 331927 | Болт М14х1,5-6gх32 | |
| 20 | 6363-2902447 | Кронштейн передней рессоры задний | |
| 21 | 63645-2801082 | Поперечина рамы | |
| 22 | 6363-2905535 | Кронштейн амортизатора верхний левый | |
| 23 | 63674-2801021 | Лонжерон рамы, левый | |
| 24 | 6363-2902441 | Кронштейн передней рессоры передний левый с крышками | |
| 25 | 6363-2902537-10 | Усилитель переднего кронштейна передней рессоры левый | |
| 26 | 6363-2902440 | Кронштейн передней рессоры передний правый с крышками |
Содержащиеся в справочниках-каталогах запасные части и детали не предлагаются к продаже, а носят исключительно информационный характер