Вернуться на главную
Поиск
Каталоги запчастей к технике
Грузовые автомобили и прицепы
УралАЗ
УРАЛ-5557-40
Установка задних осветительных приборов
Каталог запасных частей к технике: УралАЗ УРАЛ-5557-40. Установка задних осветительных приборов
zoom-in
zoom-out
enlarge
shrink
circle-right
circle-left
file-text2
info
cart
Тип техники
Не выбрано
Легковые автомобили
Грузовые автомобили и прицепы
Автобусы
Сельхозтехника
Спецтехника
Двигатели
Мототехника
Марка
Не выбрано
BAW
DAF
DongFeng
FAW
Foton
HOWO
Hyundai
IVECO
JAC Motors
LGMG
MAN
Shaanxi
SITRAK
Studebaker
Tata
Volvo
Автокомпонент Плюс
БелАЗ
Брянский Арсенал
ГАЗ
ЗИЛ
КАЗ
Камский автозавод
КрАЗ
Мадара
МАЗ
МЗКТ
МоАЗ
Нефтекамский автозавод
Ставропольский Завод АвтоПрицепов
ТАТРА
Тонар
УралАЗ
ЧМЗАП
Модель
Не выбрано
4320-0006982-74 (NEXT) (2017)
УРАЛ-375
УРАЛ-4320
УРАЛ-4320 (1981)
УРАЛ-4320-0971-58 (2010)
УРАЛ-4320-1151-59 (2010)
УРАЛ-4320-1951-58 (2010)
УРАЛ-4320-1958-70И (2012)
УРАЛ-4320-31
УРАЛ-4320-31
УРАЛ-4320-41
УРАЛ-4320-60 (2013)
УРАЛ-4320-61 (2013)
УРАЛ-4320-6951-74 (2015)
УРАЛ-4320-80М/82М (2015)
УРАЛ-43202
УРАЛ-43203-10
УРАЛ-43204-1111-70 (2012)
УРАЛ-43204-1153-70 (2012)
УРАЛ-43206-41
УРАЛ-4420 (1981)
УРАЛ-44202-0511-58 (2010)
УРАЛ-44202-3511-80 (2012)
УРАЛ-44202-3511-80 (2013)
УРАЛ-44202-3511-80М (2015)
УРАЛ-532301
УРАЛ-532361 (2015)
УРАЛ-5557
УРАЛ-5557-31 (2010)
УРАЛ-5557-40
УРАЛ-55571-1121-70 (2011)
УРАЛ-55571-30 (2010)
УРАЛ-55571-40 (2010)
УРАЛ-63674
УРАЛ-63685
УРАЛ-6370-1121 (2011)
УРАЛ-6370-1151 (2011)
УРАЛ-63704 (2011)
Схема
>
Не выбрано
Кабина в сборе
Уплотнители рычагов и коврики пола кабины
Стеклоочиститель и его привод
Омыватель ветрового стекла
Двери кабины
Ручки двери
Стеклоподъемник
Замок двери
Сиденья водителя и пассажиров
Вентиляция и отопление кабины
Трубопроводы системы отопления кабины
Облицовка радиатора
Оперение автомобиля
Установка правой и левой подножек
Платформа с тентом
Платформа
Надставные борта платформы
Механизм закрывания боковых бортов платформы и трубопроводы
Гидроцилиндр закрывания боковых бортов платформы
Надрамник
Агрегаты самосвальной установки
Трубопроводы и шланги самосвальной установки
Панель управления с кранами
Установка гидроцилиндра подъема платформы, ограничительный клапан
Ограничительный клапан
Гидроцилиндр подъема платформы
Кран управления закрыванием боковых бортов
Кран управления
Гидрораспределитель
Масляный бак, фильтры и сапун
Левый корпус разрывной муфты
Правый корпус разрывной муфты
Подвеска двигателя
Вентиляция картера
Установка агрегатов системы предпускового подогрева
Трубы и шланги системы предпускового подогрева
Котел предпускового подогревателя
Нагнетатель насосного агрегата
Топливный насос насосного агрегата
Основной топливный бак
Трубопроводы и шланги системы питания
Привод акселератора
Тяга ручного останова двигателя
Воздухопровод с воздушным фильтром
Система выпуска газов
Радиатор системы охлаждения
Расширительный бачок
Привод педалей сцепления и тормоза с пневмогидроуправлением
Пневмопривод выключения сцепления
Установка бачка привода сцепления
Цилиндр гидравлический
Установка рычага переключения передач коробки передач
Картер и подвеска раздаточной коробки
Первичный вал раздаточной коробки
Промежуточный вал раздаточной коробки и привод спидометра
Вал привода переднего моста, дифференциал и вал привода заднего моста раздаточной коробки
Управление и механизм переключения раздаточной коробки
Карданная передача
Карданный вал переднего моста
Карданный вал заднего моста
Промежуточный карданный вал
Карданный вал среднего моста
Картер переднего моста
Передний мост
Дифференциал переднего моста
Картер заднего (среднего) моста
Редуктор главной передачи
Дифференциал и полуоси среднего и заднего моста
Привод блокировки межколесных дифференциалов
Механизм включения блокировки дифференциала
Проходной вал редуктора главной передачи
Рама автомобиля
Передний буфер и буксирные крюки
Передняя подвеска
Передняя рессора
Задняя балансирная подвеска
Задняя рессора
Ось задней балансирной подвески
Реактивная штанга
Колесо и шина
Ступица колеса и тормозной барабан переднего и заднего моста (с АБС)
Ступица колеса и тормозной барабан среднего моста (Устанавливается на все мосты без АБС)
Рулевое управление
Рулевой механизм
Клапан управления усилительным механизмом
Колесо и вал рулевого управления
Усилительный механизм
Насос гидроусилителя руля
Бак масляный рулевого механизма
Тяга рулевой трапеции
Тяга сошки рулевого управления
Рулевое управление с рулевым механизмом 5557Я3-3400020
Механизм рулевой 5557Я3-3400020 с распределителем
Механизм рулевой 5557Я3-3400020
Распределитель гидроусилителя рулевого механизма 5557Я3-3400020
Рабочий тормоз
Установка усилителей тормозов и модуляторов
Пневматический усилитель с главным тормозным цилиндром
Стояночный тормоз
Привод стояночного тормоза и управление краном торможения прицепа
Установка компрессора
Блок-картер компрессора
Головка и поршень компрессора
Установка агрегатов гидропневматического привода рабочих тормозов (АБС)
Трубопроводы и шланги гидропневматического привода рабочих тормозов
Крепление трубопроводов и шлангов гидропневматического привода рабочих тормозов
Установка воздушных баллонов
Установка тормозного крана
Установка тройного защитного клапана
Установка клапана прицепа с защитным клапаном
Установка крана управления
Установка крестовины разбора воздуха
Установка влагомаслоотделителя со встроенным регулятором давления
Установка соединительных головок
Установка буксирного клапана
Установка регулятора тормозных сил
Установка двухмагистрального клапана
Вспомогательный тормоз
Система вспомогательного тормоза
Установка клапана с трубками
Пневматические цилиндры вспомогательного тормоза
Рабочий тормоз без АБС
Установка пневматических усилителей с главными тормозными цилиндрами
Установка агрегатов гидропневматического привода рабочих тормозов без АБС
Трубопроводы и шланги гидропневматического привода рабочих тормозов без АБС
Крепление трубопроводов и шлангов гидропневматического привода рабочих тормозов без АБС
Установка воздушных баллонов без АБС
Установка тройного защитного клапана без АБС
Схема электрооборудования
Фара
Фара-прожектор
Фонарь передний
Установка фонаря знака автопоезда, габаритного и бокового повторителя
Установка выключателя зажигания на рулевой колонке
Установка электрического сигнала
Установка аккумуляторных батарей
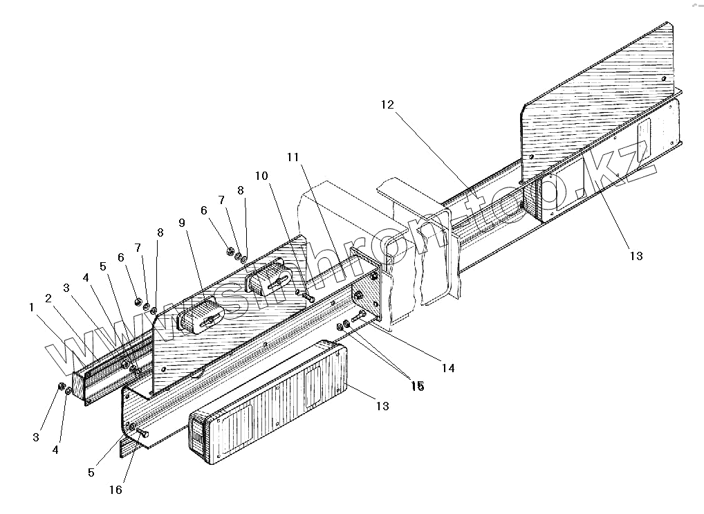
Установка задних осветительных приборов
Панель приборов
Буксирный прибор
Коробка отбора мощности
Коробка дополнительного отбора мощности
Установка пневмоуправления ДОМ, БМКД
Кран пневмоуправления
Система регулирования давления воздуха в шинах
Установка крана управления давлением
Кран управления давлением
Установка инструментального ящика и масляного бака
Уплотнение трубопроводов
1
2
3
3
4
4
5
5
6
6
7
7
8
8
9
10
11
12
13
13
14
15
16
Позиция на иллюстрации
Заводской номер детали
Название детали
1
4320Х-3716057
Кожух левый
2
4320Х-3716056
Кожух правый
3
250510-П29
Гайка М8-6Н
4
252155-П29
Шайба 8Л
5
252005-П29
Шайба 8
6
250508-П29
Гайка М6-6Н
7
252154-П29
Шайба 6Л
8
252004-П29
Шайба 6
9
ФП131АБ-3717010
Фонарь освещения номерного знака
10
220104-П29
Винт М6-6gх14
11
4320Х-3716015
Кронштейн заднего фонаря левый
12
4320Х-3716014
Кронштейн заднего фонаря правый
13
7442.3716010-10
Фонарь задний
14
330032-П29
Болт М14х1,5-6gх60
15
250559-П29
Гайка М14х1,5-6Н
16
201474-П29
Болт М8-6gх20
Содержащиеся в справочниках-каталогах запасные части и детали не предлагаются к продаже, а носят исключительно информационный характер
Дополнительная информация
×
Название:
Номер:
Примечание: