Каталог запасных частей к технике: УралАЗ УРАЛ-4420. Установка силовых агрегатов
1
2
2
2
2
3
3
3
4
5
6
7
7
8
9
10
10
11
11
12
13
14
14
14
15
16
16
17
18
18
19
20
21
22
23
24
25
| Позиция на иллюстрации | Заводской номер детали | Название детали | |
|---|---|---|---|
| 375-4245014 | 375-4245014 | Трубка к среднему мосту в сборе | |
| 339392-П29 | 339392-П29 | Хомут 9 | |
| 375-5130071-01 | 375-5130071-01 | Уплотнитель проема под рычаг коробки передач | |
| 339145-П29 | 339145-П29 | Угольник М14-М14х1,5 | |
| 339115-П29 | 339115-П29 | Угольник М14х1,5 К1/4" | |
| 339115-П29 | 339115-П29 | Угольник М14х1,5 К1/4" | |
| 339649-П29 | 339649-П29 | Угольник К1/4-М14Х1,5 | |
| 375-4245025 | 375-4245025 | Трубка переднего моста правая в сборе | |
| 375-4245020-01 | 375-4245020-01 | Трубка переднего моста левая в сборе | |
| 339392.П29 | 339392.П29 | Хомут | |
| 4320-4712012 | 4320-4712012 | Трубка к переднему мосту первая | |
| 376-4245012-10 | 376-4245012-10 | Трубка от тройника к переднему мосту в сборе | |
| 375-4245035-01 | 375-4245035-01 | Трубка от тройника к лебедке в сборе | |
| 375-4245018 | 375-4245018 | Трубка к заднему мосту в сборе | |
| 375-4245022-10 | 375-4245022-10 | Трубка от переходника к раздаточной коробке в сборе | |
| 375-4245055-10 | 375-4245055-10 | Трубка от первого пневмоусилителя ко второму в сборе | |
| 4320-4712082 | 4320-4712082 | Трубка от коробки передач к переходнику в сборе | |
| 375-5001118-01 | 375-5001118-01 | Болт М14Х170 в сборе | |
| 339168-П29 | 339168-П29 | Хомут | |
| 339178-П29 | 339178-П29 | Хомут 9 | |
| 252136-П9 | 252136-П9 | Шайба пружинная 10 | |
| 252046-П29 | 252046-П29 | Шайба 14 | |
| 252158-П9 | 252158-П9 | Шайба пружинная 14 | |
| 335911-П29 | 335911-П29 | Шайба 15,5 | |
| 252159-П9 | 252159-П9 | Шайба пружинная 16 | |
| 252140-П9 | 252140-П9 | Шайба пружинная 18 | |
| 252004-П29 | 252004-П29 | Шайба 6 | |
| 375-4245070 | 375-4245070 | Шланг гибкий в сборе | |
| 375-4245070 | 375-4245070 | Шланг гибкий в сборе | |
| 375-3506045-А | 375-3506045-А | Шланг гибкий в сборе | |
| 339632-П29 | 339632-П29 | Штуцер | |
| 339263-П29 | 339263-П29 | Штуцер К1/8"-М14х1,5 | |
| Э39263-П29 | Э39263-П29 | Штуцер К1/8-М14Х1,5 | |
| 334624-П29 | 334624-П29 | Гайка М14х1,5 | |
| 43202-5109010 | 43202-5109010 | Коврик пола в сборе | |
| 4320-5000013 | 4320-5000013 | Кабина в сборе | |
| 256840 | 256840 | Заклепка 10х28 | |
| 256838 | 256838 | Заклепка 10х24 | |
| 377-5107037-02 | 377-5107037-02 | Заглушка | |
| 250563-П29 | 250563-П29 | Гайка М18х1,5-6Н | |
| 250636-П29 | 250636-П29 | Гайка М16х1,5-6Н | |
| 250634-П29 | 250634-П29 | Гайка М14х1,5 | |
| 375-4245045 | 375-4245045 | Трубка тормозного крана в сборе | |
| 250558-П29 | 250558-П29 | Гайка М14-6Н | |
| 250512-П29 | 250512-П29 | Гайка М10 | |
| 375-5001033-Б | 375-5001033-Б | Втулка распорная | |
| 201418-П29 | 201418-П29 | Болт М6-6gх16 | |
| 201417-П29 | 201417-П29 | Болт М6-6gх14 | |
| 201417-П29 | 201417-П29 | Болт М6-6gх14 | |
| 201496-П29 | 201496-П29 | Болт М10-6gх22 | |
| 339Н8П29 | 339Н8П29 | Тройник М14Х1,5-М14Х1.5 | |
| 4320-5107050-01 | 4320-5107050-01 | Кожух пола в сборе | |
| 4320-4712064 | 4320-4712064 | Трубка к картеру сцепления | |
| 375-4245047-01 | 375-4245047-01 | Трубка мостов выводная вторая в сборе | |
| 4320-4712090 | 4320-4712090 | Трубка выводная основного топливного бака в сборе | |
| 375-4245037 | 375-4245037 | Трубка мостов выводная первая в сборе | |
| 375-4245065-01 | 375-4245065-01 | Трубка топливных баков выводная в сборе | |
| 375-4245075-20 | 375-4245075-20 | Шланг гибкий гидроподъемника в сборе | |
| Н-2927-П29 | Н-2927-П29 | Скоба | |
| 377-5107022 | 377-5107022 | Прокладка | |
| 375-4245072-10 | 375-4245072-10 | Пробка герметизации мостов в сборе | |
| 375-5001030 | 375-5001030 | Подушка подвески кабины в сборе | |
| 339275-П29 | 339275-П29 | Переходник М16х1,5-М14х1,5 | |
| 375-5130074 | 375-5130074 | Накладка уплотнителя | |
| 377-5107045 | 377-5107045 | Накладка кожуха в сборе | |
| 375-4245039 | 375-4245039 | Кронштейн | |
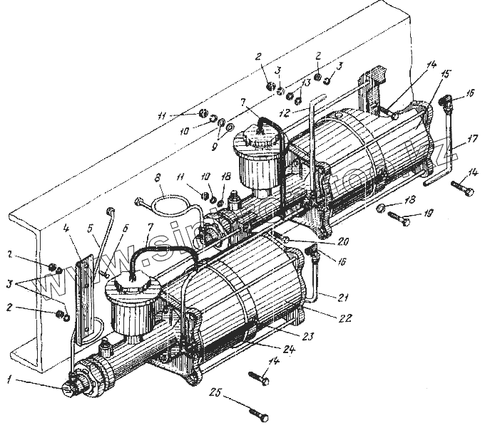
| 1 | 51-3506012 | Болт соединительный | |
| 2 | 250514-П29 | Гайка М12-6Н | |
| 3 | 252137-П9 | Шайба пружинная 12 | |
| 4 | 375-3510027 | Кронштейн пневмоусилителя передний | |
| 5 | 375-3506014 | Трубопровод к первому главному тормозному цилиндру в сборе | |
| 6 | 256870 | Заклепка 12х28 | |
| 7 | 375-4245043-10 | Шланг соединительный | |
| 8 | 375-3506005-Б | Трубопровод ко второму главному тормозному цилиндру в сборе | |
| 9 | 252039-П29 | Шайба 10 | |
| 10 | 252136-П9 | Шайба пружинная 10 | |
| 11 | 250512-П29 | Гайка М10 | |
| 12 | 375-4245057 | Трубка выводная пневмоусилителей в сборе | |
| 13 | 252045-П29 | Шайба 12 | |
| 14 | 201Б43-П29 | Болт М12-6gХ38.68.016 | |
| 15 | 375-3510004-В | Агрегат силовой с главным тормозным цилиндром второй в сборе | |
| 16 | 339046 | Угольник М20х1,5 КГ3/8" | |
| 17 | 375-3506120 | Воздухопровод от тормозного крана ко второму пневмоусилителю в сборе | |
| 18 | 252006-П29 | Шайба 10 | |
| 19 | 200319-П29 | Болт М10-6gх50 | |
| 20 | 201499-П29 | Болт М10-6gх30 | |
| 21 | 375-3506114-А2 | Воздухопровод от тормозного крана к первому пневмоусилителю в сборе | |
| 22 | 375-3510005-В | Агрегат силовой с главным тормозным цилиндром первый в сборе | |
| 23 | 375-3510006 | Угольник проставки | |
| 24 | 375-3510058-Б | Шланг | |
| 25 | 201537-П29 | Болт М12х22 |
Содержащиеся в справочниках-каталогах запасные части и детали не предлагаются к продаже, а носят исключительно информационный характер