Вернуться на главную
Поиск
Каталоги запчастей к технике
Грузовые автомобили и прицепы
УралАЗ
УРАЛ-44202-3511-80М
Задняя рессора
Каталог запасных частей к технике: УралАЗ УРАЛ-44202-3511-80М. Задняя рессора
zoom-in
zoom-out
enlarge
shrink
circle-right
circle-left
file-text2
info
cart
Тип техники
Не выбрано
Легковые автомобили
Грузовые автомобили и прицепы
Автобусы
Сельхозтехника
Спецтехника
Двигатели
Мототехника
Марка
Не выбрано
BAW
DAF
DongFeng
FAW
Foton
HOWO
Hyundai
IVECO
JAC Motors
LGMG
MAN
Shaanxi
SITRAK
Studebaker
Tata
Volvo
Автокомпонент Плюс
БелАЗ
Брянский Арсенал
ГАЗ
ЗИЛ
КАЗ
Камский автозавод
КрАЗ
Мадара
МАЗ
МЗКТ
МоАЗ
Нефтекамский автозавод
Ставропольский Завод АвтоПрицепов
ТАТРА
Тонар
УралАЗ
ЧМЗАП
Модель
Не выбрано
4320-0006982-74 (NEXT) (2017)
УРАЛ-375
УРАЛ-4320
УРАЛ-4320 (1981)
УРАЛ-4320-0971-58 (2010)
УРАЛ-4320-1151-59 (2010)
УРАЛ-4320-1951-58 (2010)
УРАЛ-4320-1958-70И (2012)
УРАЛ-4320-31
УРАЛ-4320-31
УРАЛ-4320-41
УРАЛ-4320-60 (2013)
УРАЛ-4320-61 (2013)
УРАЛ-4320-6951-74 (2015)
УРАЛ-4320-80М/82М (2015)
УРАЛ-43202
УРАЛ-43203-10
УРАЛ-43204-1111-70 (2012)
УРАЛ-43204-1153-70 (2012)
УРАЛ-43206-41
УРАЛ-4420 (1981)
УРАЛ-44202-0511-58 (2010)
УРАЛ-44202-3511-80 (2012)
УРАЛ-44202-3511-80 (2013)
УРАЛ-44202-3511-80М (2015)
УРАЛ-532301
УРАЛ-532361 (2015)
УРАЛ-5557
УРАЛ-5557-31 (2010)
УРАЛ-5557-40
УРАЛ-55571-1121-70 (2011)
УРАЛ-55571-30 (2010)
УРАЛ-55571-40 (2010)
УРАЛ-63674
УРАЛ-63685
УРАЛ-6370-1121 (2011)
УРАЛ-6370-1151 (2011)
УРАЛ-63704 (2011)
Схема
>
Не выбрано
Установка противооткатных упоров
Кабина в сборе
Опора кабины передняя
Опора кабины задняя
Механизм опрокидывания кабины
Изоляция мотоотсека наружная
Настил пола
Стеклоочиститель
Стекла кабины
Омыватель ветрового стекла
Установка панели приборов
Обивка кабины
Установка наружной облицовки
Обивка крыши
Двери кабины
Замок двери
Стеклоподъемник
Сиденье водителя
Сиденье пассажира
Установка системы отопления
Установка шумоизоляции и накладки мотоотсека
Установка крыльев передних
Установка передних брызговиков
Установка крыльев среднего моста и задних брызговиков
Установка спального места
Установка подножек
Подвеска двигателя передняя
Подвеска двигателя задняя
Установка указателя уровня масла
Установка агрегатов системы предпускового подогрева двигателя
Трубопроводы и шланги системы предпускового подогрева двигателя
Основной топливный бак
Дополнительный топливный бак
Трубопроводы и шланги системы питания
Установка фильтра грубой очистки топлива
Установка педали акселератора
Система питания двигателя воздухом
Установка воздушного фильтра и воздухозаборной трубы
Система выпуска газов
Система охлаждения
Установка расширительного бачка
Установка системы отопления на двигателе
Привод педалей сцепления и тормоза
Установка пневмопривода выключения сцепления
Установка бачка привода сцепления
Установка коробки передач
Установка управления коробкой передач
Картер и подвеска раздаточной коробки
Первичный вал раздаточной коробки
Промежуточный вал раздаточной коробки и привод спидометра
Вал привода переднего моста и дифференциал раздаточной коробки
Вал привода задних мостов раздаточной коробки
Управление и механизм переключения раздаточной коробки
Установка управления раздаточной коробкой
Карданная передача
Картер переднего моста
Передний мост
Картер заднего (среднего) моста
Редуктор главной передачи
Проходной вал редуктора главной передачи
Дифференциал переднего моста
Дифференциал и полуоси среднего и заднего моста
Установка седельного устройства
Установка передней площадки
Установка поперечины №6 рамы
Рама
Установка переднего буфера
Передняя подвеска
Передняя рессора
Задняя подвеска
Задняя рессора
Ось балансира задней подвески в сборе с кронштейнами и балансиром
Реактивная штанга
Колесо и шина
Кран колесный
Ступица колеса и тормозной барабан
Система регулирования давления воздуха в шинах
Установка электромагнитного клапана системы накачки шин
Вертикальный держатель запасного колеса
Редуктор подъема запасного колеса
Рулевое управление
Установка рулевого механизма
Насос
Колесо и вал рулевого управления
Масляный бачок
Тяга сошки 180-3414010-10
Тяга сошки БМ4420-3414010
Тяга поперечная 180-3414052 (Возможна замена на БМ4320-3414052-11)
Тяга поперечная БМ4320-3414052-11 (Применяется взамен 180-3414052)
Рабочий тормоз переднего и заднего мостов
Рабочий тормоз среднего моста
Клиновой механизм
Установка тормозной камеры на передний мост
Установка тормозной камеры с пружинным энергоаккумулятором на средний и задний мосты
Установка агрегатов пневматического привода рабочих тормозов
Трубопроводы и шланги пневматического привода рабочих тормозов
Крепление трубопроводов и шлангов пневматического привода рабочих тормозов
Пневмопривод стояночного тормоза
Установка адсорбера и четырехконтурного защитного клапана
Установка баллона адсорбера и влагомаслоотделителя
Установка воздушных баллонов
Установка пневмовыводов от тормозного крана
Установка крана тормозного
Установка клапана контрольного вывода
Установка модуляторов
Установка клапана ускорительного с модуляторами
Установка ускорительного клапана стояночного тормоза
Установка соединительных головок
Установка клапана прицепа
Установка фар, фонарей знака автопоезда, габаритных и указателей поворота
Установка замка зажигания
Установка фары-прожектора
Установка задних осветительных приборов
Установка электрического сигнала
Установка контейнера аккумуляторных батарей
Комбинация приборов
Щиток выключателей
Схема электрооборудования
Коммутационный блок
Перечень жгутов и проводов
1
2
3
4
5
6
7
8
9
10
11
12
13
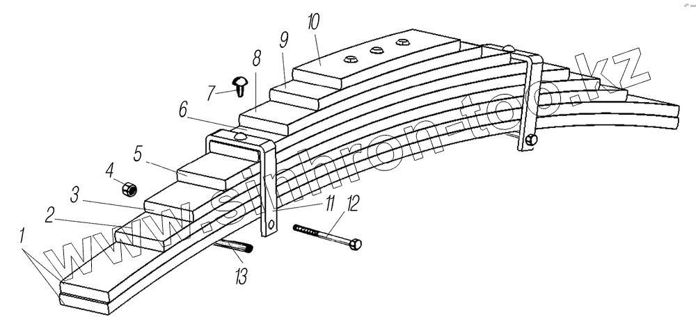
Позиция на иллюстрации
Заводской номер детали
Название детали
1
55571Х-2912101
Лист рессоры №1
2
55571Х-2912103
Лист рессоры №3
3
55571Х-2912104
Лист рессоры №4
4
250514-П29
Гайка М12-6Н
5
55571Х-2912105
Лист рессоры №5
6
55571Х-2912106
Лист рессоры №6
7
256872
Заклепка 12х32
8
55571Х-2912107
Лист рессоры №7
9
55571Х-2912108
Лист рессоры №8
10
55571Х-2912109-01
Лист рессоры №9
11
55571Х-2912061
Хомут 6-го листа
12
200383-П29
Болт М12-6gх120
13
5323-2902068
Трубка распорная
Содержащиеся в справочниках-каталогах запасные части и детали не предлагаются к продаже, а носят исключительно информационный характер
Дополнительная информация
×
Название:
Номер:
Примечание: