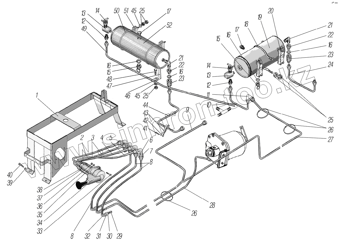
Каталог запасных частей к технике: УралАЗ УРАЛ-44202-0511-58. Пневмопривод стояночного тормоза
1
2
3
4
5
6
7
8
8
9
10
11
12
12
13
13
14
14
15
15
16
16
16
16
17
17
18
19
20
21
21
22
22
23
23
24
25
25
25
26
26
27
28
29
30
31
32
33
34
35
36
37
38
39
40
41
42
43
44
45
45
46
47
48
49
50
51
52
| Позиция на иллюстрации | Заводской номер детали | Название детали | |
|---|---|---|---|
| 1 | 55571П-3508410-10 | Кронштейн блока управления | |
| 2 | 55571П-3508430-10 | Трубка выводная | |
| 3 | 55571П-3508425-10 | Трубка от баллона | |
| 4 | 55571П-3508420-10 | Трубка от крана первая | |
| 5 | 55571П-3508415-10 | Трубка к клапану прицепа | |
| 6 | 334057 | Угольник | |
| 7 | 250561-П29 | Гайка М16х1,5-6Н | |
| 8 | 55571П-3508516 | Трубка промежуточная первая | |
| 9 | 55571П-3508366 | Трубка к крану стояночного тормоза | |
| 10 | 3255-3508366 | Трубка от баллона стояночного тормоза первая | |
| 11 | 339835 | Угольник | |
| 12 | 339051-П | Штуцер М16х1,5 К3/8" | |
| 13 | 339824 | Тройник М22х1,5 К3/8" | |
| 14 | 100-3515310-01 | Клапан контрольного вывода | |
| 15 | 100-3513110 | Клапан слива конденсата в сборе | |
| 16 | 4320-3514023 | Прокладка | |
| 17 | 338765 | Пробка К3/8" | |
| 18 | 4322-3513018 | Хомут | |
| 19 | 4320-3513015 | Баллон воздушный | |
| 20 | 4322-3513017 | Подкладка | |
| 21 | 339904 | Угольник | |
| 22 | 4320-3515068 | Пробка | |
| 23 | 100-3562210-20 | Клапан обратный | |
| 24 | 3255-3508372 | Трубка к баллону стояночного тормоза | |
| 25 | 250510-П29 | Гайка М8-6Н | |
| 26 | 42099076ED12-8328 | Хомут | |
| 27 | 44202П-3508368 | Трубка от баллона стояночного тормоза вторая | |
| 28 | 55571П-3508358 | Трубка к тормозной камере | |
| 29 | D651015-M16x1.5-S | Штуцер | |
| 30 | 250659-П29 | Гайка М22х1,5-6Н | |
| 31 | 336907-П2 | Штуцер | |
| 32 | D650210-M16x1.5-S | Фитинг угловой | |
| 33 | 221605-П29 | Винт М6х16 | |
| 34 | 6029-3537310-30 | Кран тормозной с ручным управлением | |
| 35 | 252134-П2 | Шайба 6 пружинная | |
| 36 | 250508-П29 | Гайка М6-6Н | |
| 37 | 4320-1104139 | Прокладка уплотнительная | |
| 38 | 339900 | Штуцер | |
| 39 | 252037-П29 | Шайба 6 | |
| 40 | 201420-П29 | Болт М6-6gх20 | |
| 41 | 258068-П29 | Шплинт 5х35 | |
| 42 | 339000-П29 | Пряжка хомута | |
| 43 | 339345-П29 | Лента стяжная | |
| 44 | 44202П-3508372 | Трубка к баллону стояночного тормоза | |
| 45 | 252135-П2 | Шайба 8 пружинная | |
| 46 | 339178-П29 | Хомут 9 | |
| 47 | 432001-1104177 | Кронштейн | |
| 48 | 201454-П29 | Болт М8-6gх16 | |
| 49 | 44202П-3508366 | Трубка от баллона стояночного тормоза первая | |
| 50 | 6363-3513018 | Хомут баллона | |
| 51 | Проставка | Проставка воздушного баллона | |
| 52 | 375-3513015-10 | Баллон воздушный в сборе |
Содержащиеся в справочниках-каталогах запасные части и детали не предлагаются к продаже, а носят исключительно информационный характер