Вернуться на главную
Поиск
Каталоги запчастей к технике
Грузовые автомобили и прицепы
УралАЗ
УРАЛ-4320-80М/82М
Задняя подвеска
Каталог запасных частей к технике: УралАЗ УРАЛ-4320-80М/82М. Задняя подвеска
zoom-in
zoom-out
enlarge
shrink
circle-right
circle-left
file-text2
info
cart
Тип техники
Не выбрано
Легковые автомобили
Грузовые автомобили и прицепы
Автобусы
Сельхозтехника
Спецтехника
Двигатели
Мототехника
Марка
Не выбрано
BAW
DAF
DongFeng
FAW
Foton
HOWO
Hyundai
IVECO
JAC Motors
LGMG
MAN
Shaanxi
SITRAK
Studebaker
Tata
Volvo
Автокомпонент Плюс
БелАЗ
Брянский Арсенал
ГАЗ
ЗИЛ
КАЗ
Камский автозавод
КрАЗ
Мадара
МАЗ
МЗКТ
МоАЗ
Нефтекамский автозавод
Ставропольский Завод АвтоПрицепов
ТАТРА
Тонар
УралАЗ
ЧМЗАП
Модель
Не выбрано
4320-0006982-74 (NEXT) (2017)
УРАЛ-375
УРАЛ-4320
УРАЛ-4320 (1981)
УРАЛ-4320-0971-58 (2010)
УРАЛ-4320-1151-59 (2010)
УРАЛ-4320-1951-58 (2010)
УРАЛ-4320-1958-70И (2012)
УРАЛ-4320-31
УРАЛ-4320-31
УРАЛ-4320-41
УРАЛ-4320-60 (2013)
УРАЛ-4320-61 (2013)
УРАЛ-4320-6951-74 (2015)
УРАЛ-4320-80М/82М (2015)
УРАЛ-43202
УРАЛ-43203-10
УРАЛ-43204-1111-70 (2012)
УРАЛ-43204-1153-70 (2012)
УРАЛ-43206-41
УРАЛ-4420 (1981)
УРАЛ-44202-0511-58 (2010)
УРАЛ-44202-3511-80 (2012)
УРАЛ-44202-3511-80 (2013)
УРАЛ-44202-3511-80М (2015)
УРАЛ-532301
УРАЛ-532361 (2015)
УРАЛ-5557
УРАЛ-5557-31 (2010)
УРАЛ-5557-40
УРАЛ-55571-1121-70 (2011)
УРАЛ-55571-30 (2010)
УРАЛ-55571-40 (2010)
УРАЛ-63674
УРАЛ-63685
УРАЛ-6370-1121 (2011)
УРАЛ-6370-1151 (2011)
УРАЛ-63704 (2011)
Схема
>
Не выбрано
Кабина в сборе
Опора кабины передняя
Опора кабины задняя
Механизм опрокидывания кабины
Изоляция мотоотсека наружная и внутренняя
Настил пола
Стеклоочиститель
Стекла кабины
Омыватель ветрового стекла
Установка панели приборов
Обивка кабины
Установка наружной облицовки
Обивка крыши
Двери кабины
Замок двери
Стеклоподъемник
Сиденье водителя
Сиденье пассажира
Установка системы отопления
Установка спального места для автомобилей 4320-0004971-82М, 4320-0004972-82М
Установка шумоизоляции и накладки мотоотсека
Установка крыльев передних для автомобилей 4320-0004951-80М, 4320-0004951-82М, 4320-0004952-80М, 4320-0004952-82М
Установка крыльев передних для автомобилей 4320-0004971-82М и 4320-0004972-82М
Установка передних брызговиков
Установка подножек
Установка брызговиков задних колес
Схема электрооборудования
Коммутационный блок
Перечень жгутов и проводов
Основной топливный бак
Дополнительный топливный бак
Трубопроводы и шланги системы питания
Подвеска двигателя передняя
Подвеска двигателя задняя
Установка указателя уровня масла
Установка агрегатов системы предпускового подогрева двигателя
Трубопроводы и шланги системы предпускового подогрева двигателя
Топливный бак
Трубопроводы и шланги системы питания
Установка фильтра грубой очистки топлива
Установка педали акселератора
Система питания двигателя воздухом на автомобили 4320-0004951-80М, 4320-0004951-82М, 4320-0004952-80М, 4320-0004952-82М
Система питания двигателя воздухомy на автомобили 4320-0004971-82М, 4320-0004972-82М
Установка воздушного фильтра и воздухозаборной трубы на автомобили 4320-0004951-80М, 4320-0004951-82М, 4320-0004952-80М, 4320-0004952-82М
Установка воздушного фильтра и воздухозаборной трубы на автомобили 4320-0004971-82М, 4320-0004972-82М
Система выпуска газов
Система охлаждения
Установка расширительного бачка на автомобили 4320-0004951-80М, 4320-0004951-82М, 4320-0004952-80М, 4320-0004952-82М
Установка расширительного бачка на автомобили 4320-0004971-82М, 4320-0004972-82М
Установка системы отопления на двигателе
Привод педалей сцепления и тормоза
Установка пневмопривода выключения сцепления
Установка бачка привода сцепления
Установка коробки передач
Установка управления коробкой передач
Картер и подвеска раздаточной коробки
Первичный вал раздаточной коробки
Промежуточный вал раздаточной коробки и привод спидометра
Вал привода переднего моста и дифференциал раздаточной коробки
Вал привода задних мостов раздаточной коробки
Управление и механизм переключения раздаточной коробки
Установка управления раздаточной коробкой для автомобилей 4320-0004951-80М, 4320-0004951-82М, 4320-0004971-82М
Установка управления раздаточной коробкой для автомобилей 4320-0004952-80М, 4320-0004952-82М, 4320-0004972-82М
Карданная передача
Картер переднего моста
Передний мост
Дифференциал переднего моста
Картер заднего (среднего) моста
Дифференциал и полуоси среднего и заднего моста
Редуктор главной передачи
Проходной вал редуктора главной передачи
Установка буксирного прибора
Рама
Установка переднего буфера
Передняя подвеска
Передняя рессора
Задняя подвеска
Задняя рессора
Ось балансира задней подвески в сборе с кронштейнами и балансиром
Реактивная штанга
Колесо и шина
Кран колесный
Ступица колеса и тормозной барабан
Система регулирования давления воздуха в шинах
Установка электромагнитного клапана системы накачки шин
Вертикальный держатель запасного колеса для автомобилей 4320-0004971-82М, 4320-0004972-82М
Редуктор подъема запасного колеса для автомобилей 4320-0004971-82М, 4320-0004972-82М
Рулевое управление для автомобилей для автомобилей 4320-0004951-80М, 4320-0004951-82М, 4320-0004952-80М, 4320-0004952-82М
Рулевое управление для автомобилей 4320-0004971-82М, 4320-0004972-82М
Установка рулевого механизма
Насос
Колесо и вал рулевого управления
Масляный бачок
Тяга сошки 180-3414010-10
Тяга сошки БМ4420-3414010
Тяга поперечная 180-3414052 (Возможна замена на БМ4320-3414052-11)
Тяга поперечная БМ4320-3414052-11 (Применяется взамен 180-3414052)
Рабочий тормоз переднего и заднего мостов
Рабочий тормоз среднего моста
Клиновой механизм
Установка тормозной камеры на передний мост
Установка тормозной камеры с пружинным энергоаккумулятором на средний и задний мосты
Установка агрегатов пневматического привода рабочих тормозов
Трубопроводы и шланги пневматического привода рабочих тормозов
Крепление трубопроводов и шлангов пневматического привода рабочих тормозов
Пневмопривод стояночного тормоза
Установка адсорбера и четырехконтурного защитного клапана
Установка баллона адсорбера и влагомаслоотделителя
Установка воздушных баллонов
Установка пневмовыводов от тормозного крана
Установка крана тормозного
Установка клапана контрольного вывода
Установка модуляторов
Установка клапана ускорительного с модуляторами
Установка ускорительного клапана стояночного тормоза
Установка соединительных головок
Установка клапана прицепа
Установка фар, фонарей знака автопоезда, габаритных и указателей поворота
Установка замка зажигания
Установка задних осветительных приборов
Установка электрического сигнала
Установка контейнера аккумуляторных батарей
Комбинация приборов
Щиток выключателей
Установка противооткатных упоров
Коробка дополнительного отбора мощности для автомобилей 4320-0004952-80М, 4320-0004952-82М и 4320-0004972-82М
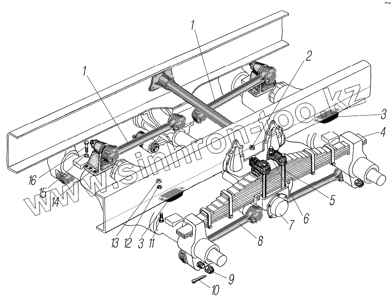
1
1
2
3
3
4
4
5
6
7
8
9
10
11
12
13
14
15
16
Позиция на иллюстрации
Заводской номер детали
Название детали
1
640-2919010-01
Штанга реактивная верхняя в сборе
2
4322-2912410
Гайка стремянки
3
5320-2912624
Буфер задней рессоры
4
55571Х-2912012
Рессора задняя
4
55571Х-2912122
Рессора задняя
5
55571Х-2912408
Стремянка задней рессоры
6
55571Х-2912412
Накладка стремянки
7
4320Ф-2918050
Ось задней балансирной подвески в сборе
8
640-2919012-01
Штанга реактивная нижняя в сборе
9
55571-2919101
Гайка М33х1,5
10
258085-П29
Шплинт 6х50
11
201502-П29
Болт М10х38
12
252136-П2
Шайба 10 пружинная
13
250512-П29
Гайка М10
14
4320Я2-2919038
Кронштейн верхней реактивной штанги
15
252140-П2
Шайба 18.ОТ
16
332763-П29
Болт М18х1,5х55
Содержащиеся в справочниках-каталогах запасные части и детали не предлагаются к продаже, а носят исключительно информационный характер
Дополнительная информация
×
Название:
Номер:
Примечание: