Вернуться на главную
Поиск
Каталоги запчастей к технике
Грузовые автомобили и прицепы
УралАЗ
УРАЛ-4320-6951-74
Задняя рессора
Каталог запасных частей к технике: УралАЗ УРАЛ-4320-6951-74. Задняя рессора
zoom-in
zoom-out
enlarge
shrink
circle-right
circle-left
file-text2
info
cart
Тип техники
Не выбрано
Легковые автомобили
Грузовые автомобили и прицепы
Автобусы
Сельхозтехника
Спецтехника
Двигатели
Мототехника
Марка
Не выбрано
BAW
DAF
DongFeng
FAW
Foton
HOWO
Hyundai
IVECO
JAC Motors
LGMG
MAN
Shaanxi
SITRAK
Studebaker
Tata
Volvo
Автокомпонент Плюс
БелАЗ
Брянский Арсенал
ГАЗ
ЗИЛ
КАЗ
Камский автозавод
КрАЗ
Мадара
МАЗ
МЗКТ
МоАЗ
Нефтекамский автозавод
Ставропольский Завод АвтоПрицепов
ТАТРА
Тонар
УралАЗ
ЧМЗАП
Модель
Не выбрано
4320-0006982-74 (NEXT) (2017)
УРАЛ-375
УРАЛ-4320
УРАЛ-4320 (1981)
УРАЛ-4320-0971-58 (2010)
УРАЛ-4320-1151-59 (2010)
УРАЛ-4320-1951-58 (2010)
УРАЛ-4320-1958-70И (2012)
УРАЛ-4320-31
УРАЛ-4320-31
УРАЛ-4320-41
УРАЛ-4320-60 (2013)
УРАЛ-4320-61 (2013)
УРАЛ-4320-6951-74 (2015)
УРАЛ-4320-80М/82М (2015)
УРАЛ-43202
УРАЛ-43203-10
УРАЛ-43204-1111-70 (2012)
УРАЛ-43204-1153-70 (2012)
УРАЛ-43206-41
УРАЛ-4420 (1981)
УРАЛ-44202-0511-58 (2010)
УРАЛ-44202-3511-80 (2012)
УРАЛ-44202-3511-80 (2013)
УРАЛ-44202-3511-80М (2015)
УРАЛ-532301
УРАЛ-532361 (2015)
УРАЛ-5557
УРАЛ-5557-31 (2010)
УРАЛ-5557-40
УРАЛ-55571-1121-70 (2011)
УРАЛ-55571-30 (2010)
УРАЛ-55571-40 (2010)
УРАЛ-63674
УРАЛ-63685
УРАЛ-6370-1121 (2011)
УРАЛ-6370-1151 (2011)
УРАЛ-63704 (2011)
Схема
>
Не выбрано
Кабина и оперение
Установка экрана противосолнечного
Кабина (без окраски и обивки)
Установка кабины на раме
Кронштейн крепления кабины задний
Установка деталей кабины
Установка коврика пола
Установка уплотнителей коврика пола
Установка стеклоочистителя
Установка стекла ветрового окна
Стекло ветрового окна
Стекло ветрового окна (опция Теплопоглащающие стекла)
Установка омывателя
Установка обивки передка
Установка термошумоизоляции щитка передка
Установка панели приборов
Панель приборов
Установка системы распределения
Установка магнитолы
Ящик вещевой
Ящик вещевой верхний
Ящик вещевой верхний (опция)
Установка обивки боковины
Установка обивки задка
Установка обивки крыши
Установка обивки крыши (опция Консоль потолочная)
Установка обивок дверей
Обивка двери правая
Обивка двери левая
Установка деталей двери
Установка электрических стеклоподъемников
Установка замков и приводов замков дверей
Установка навески дверей
Установка уплотнителей дверей
Установка сиденья водителя
Установка переднего сиденья
Сиденье переднее
Ремни безопасности переднего сиденья
Установка антенны
Установка громкоговорителей
Установка отопителя
Воздухозаборник
Установка вентиляции кузова
Установка зеркал
Установка поручней
Установка противосолнечных козырьков
Установка огнетушителя (опция Огнетушитель)
Установка оперения
Каркас оперения
Установка передней опоры оперения
Капот с термошумоизоляцией
Установка деталей оперения
Установка фартуков и щитков передних крыльев
Установка надставок передних крыльев
Установка накладок
Установка подножек
Установка замка капота
Привод замка капота
Установка упора капота
Установка брызговиков задних колес
Установка нижних поручней
Подвеска двигателя передняя
Подвеска двигателя задняя
Установка агрегатов системы предпускового подогрева двигателя
Трубопроводы и шланги системы предпускового подогрева двигателя
Установка топливных баков
Системы питания топливом
Установка фильтра грубой очистки топлива
Установка топливных кранов
Система питания двигателя воздухом
Установка воздушного фильтра
Установка деталей акселератора
Система выпуска газов
Система охлаждения
Установка расширительного бачка и трубопроводов системы отопления
Установка трубопроводов отопителя
Установка защиты радиатора
Установка деталей привода сцепления на кабине
Цилиндр гидравлический
Установка пневмопривода выключения сцепления
Установка привода сцепления в кабине
Кронштейн с педалью выключения сцепления
Подключение электропневмоклапана
Установка управления коробкой передач
Картер и подвеска раздаточной коробки
Первичный вал раздаточной коробки
Промежуточный вал раздаточной коробки и привод спидометра
Вал привода переднего моста и дифференциал раздаточной коробки
Вал привода задних мостов раздаточной коробки
Управление и механизм переключения раздаточной коробки
Установка управления раздаточной коробкой и блокировкой межколесных дифференциалов
Карданная передача
Картер переднего моста
Передний мост
Картер заднего (среднего) моста
Редуктор главной передачи
Проходной вал редуктора главной передачи
Дифференциал переднего моста
Дифференциал и полуоси среднего и заднего мостов
Механизм включения блокировки дифференциала
Установка буксирной поперечины и буксирного прибора
Установка буксирной поперечины и тягово-сцепного устройства
Рама
Установка переднего буфера
Установка подножки
Передняя подвеска
Передняя рессора
Задняя подвеска
Задняя рессора
Ось балансира задней подвески в сборе с кронштейнами и балансиром
Реактивная штанга
Колесо и шина
Кран колесный
Ступица колеса и тормозной барабан
Система регулирования давления воздуха в шинах
Установка электромагнитного клапана системы накачки шин
Вертикальный держатель запасного колеса
Редуктор подъема запасного колеса
Рулевое управление
Установка рулевого механизма
Насос
Установка колеса рулевого управления
Установка колонки рулевого управления
Колонка рулевого управления с карданным валом
Карданный вал рулевого управления
Установка масляного бачка
Масляный бачок
Тяга сошки 180-3414010-20
Тяга сошки БМ4320-3414010
Тяга поперечная 180-3414052 (Возможна замена на БМ4320-3414052-11)
Тяга поперечная БМ4320-3414052-11 (Применяется взамен 180-3414052)
Рабочий тормоз переднего и заднего мостов
Рабочий тормоз среднего моста
Клиновой механизм
Установка тормозной камеры на передний мост
Установка тормозной камеры на cредний мост
Установка тормозной камеры с пружинным энергоаккумулятором на задний мост
Установка агрегатов пневматического привода рабочих тормозов
Трубопроводы и шланги пневматического привода рабочих тормозов
Крепление трубопроводов и шлангов пневматического привода рабочих тормозов
невмопривод стояночного тормоза
Установка адсорбера и четырехконтурного защитного клапана
Установка влагомаслоотделителя
Установка клапана контрольного вывода
Установка воздушных баллонов на правом и левом лонжеронах
Установка воздушных баллонов на левом лонжероне
Установка тормозного крана на кабине
Установка модуляторов
Установка клапана ускорительного с модуляторами
Установка ускорительного клапана стояночного тормоза
Установка соединительных головок
Установка клапана управления тормозами прицепа
Установка педали тормоза
Кронштейн с педалью тормоза
Установка тормозного крана с ручным приводом
Установка фитингов тормозного крана с ручным приводом
Установка электрооборудования в буфере
Установка электрооборудования на оперении
Установка светотехники на противосолнечном экране
Установка переключателей
Установка электрических сигналов
Установка проводов под капотом и на облицовке
Установка проводов на двигателе
Установка проводов панели приборов
Установка проводов на двери
Установка электрооборудования на раме
Подключение электропневмоклапанов
Установка блока управления АБС
Установка задних осветительных приборов
Установка и подключение розеток прицепа и АБС
Установка контейнера аккумуляторных батарей
Установка плафона внутреннего освещения
Схема электрооборудования шасси (без кабины)
Перечень пучков и проводов
Установка деталей крепления инструмента
Установка инструментального ящика
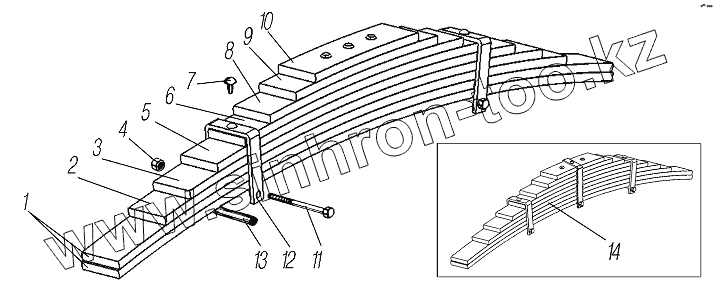
1
2
3
4
5
6
7
8
9
10
11
12
13
14
Позиция на иллюстрации
Заводской номер детали
Название детали
1
55571Х-2912101
Лист рессоры №1
2
55571Х-2912103
Лист рессоры №3
3
55571Х-2912104
Лист рессоры №4
4
250514-П29
Гайка М12-6Н
5
55571Х-2912105
Лист рессоры №5
6
55571Х-2912106
Лист рессоры №6
7
256873
Заклепка 12х36
8
55571Х-2912107
Лист рессоры №7
9
55571Х-2912108
Лист рессоры №8
10
55571Х-2912109-01
Лист рессоры №9
11
200383-П29
Болт М12-6gх120
12
55571Х-2912061
Хомут 6-го листа
13
5323-2902068
Трубка распорная
14
55571Х-2912122
Рессора задняя
Содержащиеся в справочниках-каталогах запасные части и детали не предлагаются к продаже, а носят исключительно информационный характер
Дополнительная информация
×
Название:
Номер:
Примечание: