Вернуться на главную
Поиск
Каталоги запчастей к технике
Грузовые автомобили и прицепы
УралАЗ
УРАЛ-4320-41
Задняя рессора
Каталог запасных частей к технике: УралАЗ УРАЛ-4320-41. Задняя рессора
zoom-in
zoom-out
enlarge
shrink
circle-right
circle-left
file-text2
info
cart
Тип техники
Не выбрано
Легковые автомобили
Грузовые автомобили и прицепы
Автобусы
Сельхозтехника
Спецтехника
Двигатели
Мототехника
Марка
Не выбрано
BAW
DAF
DongFeng
FAW
Foton
HOWO
Hyundai
IVECO
JAC Motors
LGMG
MAN
Shaanxi
SITRAK
Studebaker
Tata
Volvo
Автокомпонент Плюс
БелАЗ
Брянский Арсенал
ГАЗ
ЗИЛ
КАЗ
Камский автозавод
КрАЗ
Мадара
МАЗ
МЗКТ
МоАЗ
Нефтекамский автозавод
Ставропольский Завод АвтоПрицепов
ТАТРА
Тонар
УралАЗ
ЧМЗАП
Модель
Не выбрано
4320-0006982-74 (NEXT) (2017)
УРАЛ-375
УРАЛ-4320
УРАЛ-4320 (1981)
УРАЛ-4320-0971-58 (2010)
УРАЛ-4320-1151-59 (2010)
УРАЛ-4320-1951-58 (2010)
УРАЛ-4320-1958-70И (2012)
УРАЛ-4320-31
УРАЛ-4320-31
УРАЛ-4320-41
УРАЛ-4320-60 (2013)
УРАЛ-4320-61 (2013)
УРАЛ-4320-6951-74 (2015)
УРАЛ-4320-80М/82М (2015)
УРАЛ-43202
УРАЛ-43203-10
УРАЛ-43204-1111-70 (2012)
УРАЛ-43204-1153-70 (2012)
УРАЛ-43206-41
УРАЛ-4420 (1981)
УРАЛ-44202-0511-58 (2010)
УРАЛ-44202-3511-80 (2012)
УРАЛ-44202-3511-80 (2013)
УРАЛ-44202-3511-80М (2015)
УРАЛ-532301
УРАЛ-532361 (2015)
УРАЛ-5557
УРАЛ-5557-31 (2010)
УРАЛ-5557-40
УРАЛ-55571-1121-70 (2011)
УРАЛ-55571-30 (2010)
УРАЛ-55571-40 (2010)
УРАЛ-63674
УРАЛ-63685
УРАЛ-6370-1121 (2011)
УРАЛ-6370-1151 (2011)
УРАЛ-63704 (2011)
Схема
>
Не выбрано
Кабина в сборе
Уплотнители рычагов и коврики пола кабины
Стеклоочиститель и его привод
Омыватель ветрового стекла
Двери кабины
Ручки двери
Стеклоподъемник
Замок двери
Сиденья водителя и пассажиров
Отопитель кабины
Привод вентиляции и отопления кабины
Трубопроводы системы отопления кабины
Облицовка радиатора
Оперение автомобиля
Установка правой и левой подножек
Платформа
Сиденья платформы
Тент платформы и дополнительное оборудование
Подвеска двигателя
Вентиляция картера
Установка агрегатов системы предпускового подогрева
Трубы и шланги системы предпускового подогрева
Котел предпускового подогревателя
Нагнетатель насосного агрегата
Топливный насос насосного агрегата
Основной топливный бак
Трубопроводы и шланги системы питания
Установка ручного насоса прокачки топлива
Привод акселератора
Тяга ручного останова двигателя
Фильтр воздушный
Воздуховод с воздушным фильтром
Система выпуска газов
Радиатор системы охлаждения
Расширительный бачок
Привод управления сцеплением и тормозным краном
Пневмопривод выключения сцепления
Установка бачка привода сцепления
Цилиндр гидравлический
Установка рычага переключения передач коробки передач
Картер и подвеска раздаточной коробки
Первичный вал раздаточной коробки
Промежуточный вал раздаточной коробки и привод спидометра
Вал привода переднего моста и дифференциал раздаточной коробки
Вал привода заднего моста раздаточной коробки
Управление и механизм переключения раздаточной коробки
Карданная передача
Карданный вал заднего (переднего) моста
Промежуточный карданный вал
Карданный вал среднего моста
Картер переднего моста
Передний мост
Дифференциал переднего моста
Редуктор главной передачи
Дифференциал и полуоси среднего и заднего моста
Картер заднего (среднего) моста
Механизм включения блокировки дифференциала
Привод блокировки межколесных дифференциалов
Проходной вал редуктора главной передачи
Шайба регулировочная
Рама
Передний буфер и буксирные крюки
Передняя подвеска
Передняя рессора
Задняя балансирная подвеска
Ось задней балансирной подвески
Задняя рессора
Реактивная штанга
Колесо и шина
Ступица колеса и тормозной барабан переднего и заднего моста
Ступица колеса и тормозной барабан среднего моста (Устанавливается на все мосты без АБС)
Вертикальный держатель запасного колеса
Редуктор подъема запасного колеса
Рулевое управление
Рулевой механизм
Клапан управления усилительным механизмом
Колесо и вал рулевого управления
Усилительный механизм
Насос гидроусилителя руля
Бак масляный рулевого механизма
Тяга рулевой трапеции
Тяга сошки рулевого управления
Рулевое управление с рулевым механизмом 5557Я3-3400020
Механизм рулевой с распределителем
Механизм рулевой
Распределитель гидроусилителя
Рабочий тормоз переднего и заднего мостов
Рабочий тормоз среднего моста (Устанавливается на все мосты без АБС)
Установка усилителей тормозов и модуляторов с АБС (Без АБС см. Приложение №1)
Пневматический усилитель с главным тормозным цилиндром
Стояночный тормоз
Привод стояночного тормоза и управление краном торможения прицепа
Установка компрессора
Блок-картер компрессора
Головка компрессора
Поршень компрессора
Установка агрегатов пневмогидравлического привода рабочих тормозов (Без АБС см. Приложение №1)
Трубопроводы и шланги пневмогидравлического привода рабочих тормозов (Без АБС см. Приложение №1)
Крепление трубопроводов и шлангов пневмогидравлического привода рабочих тормозов (Без АБС см. Приложение №1)
Установка воздушных баллонов (Без АБС см. Приложение №1)
Установка тормозного крана
Установка тройного защитного клапана
Установка клапана прицепа с клапаном обрыва
Установка крана управления
Установка крестовины разбора воздуха
Установка влагомаслоотделителя со встроенным регулятором давления
Установка соединительных головок
Установка регулятора тормозных сил
Установка двухмагистрального клапана
Вспомогательный тормоз
Система вспомогательного тормоза
Установка клапана с трубками
Пневматические цилиндры вспомогательного тормоза
Установка пневматических усилителей с главными тормозными цилиндрами без АБС
Установка агрегатов пневмогидравлического привода рабочих тормозов без АБС
Трубопроводы и шланги пневмогидравлического привода рабочих тормозов без АБС
Крепление трубопроводов и шлангов пневмогидравлического привода рабочих тормозов без АБС
Установка воздушных баллонов без АБС
Установка тройного защитного клапана без АБС
Система герметизации пневмоусилителей без АБС
Система герметизации пневмоусилителей
Тормозная система
Схема электрооборудования
Фара и фонарь передний
Установка фонаря знака автопоезда, габаритного и бокового повторителя
Установка выключателя зажигания на рулевой колонке
Установка электрического сигнала
Установка аккумуляторных батарей
Установка задних осветительных приборов
Панель приборов
Буксирный прибор
Коробка дополнительного отбора мощности
Установка пневмоуправления ДОМ, БМКД
Кран пневмоуправления
Установка пневмоуправления ДОМ, БМКД
Система регулирования давления воздуха в шинах
Система регулирования давления воздуха в шинах
Кран колесный в сборе
Установка крана управления давлением
Кран управления давлением
Лебедка с тросоукладчиком в сборе
Редуктор лебедки
Детали редуктора лебедки
Привод лебедки
Тормоз и управление лебедкой
Тросоукладчик
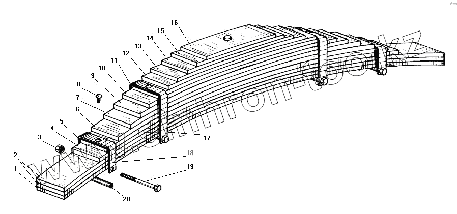
1
2
3
4
5
6
7
8
9
10
11
12
13
14
15
16
17
18
19
20
Позиция на иллюстрации
Заводской номер детали
Название детали
1
55571-2912101
Лист рессоры N1
2
5557-2912101
Лист рессоры №1
3
250514-П29
Гайка М12-6Н
4
55571-2912104
Лист рессоры N4
5
55571-2912105
Лист рессоры N5
6
55571-2912106
Лист рессоры N6
7
55571-2912107
Лист рессоры N7
8
256870
Заклепка 12х28
9
55571-2912108
Лист рессоры N8
10
55571-2912109
Лист рессоры N9
11
55571-2912110
Лист рессоры N10
12
55571-2912111
Лист рессоры N11
13
55571-2912112
Лист рессоры N12
14
55571-2912113
Лист рессоры N13
15
55571-2912114
Лист рессоры N14
16
55571-2912115
Лист рессоры N15
17
55571-2912062
Хомут 10-го листа
18
55571-2902061
Хомут 5-го листа
19
200383-П29
Болт М12-6gх120
20
5323-2902068
Трубка распорная
Содержащиеся в справочниках-каталогах запасные части и детали не предлагаются к продаже, а носят исключительно информационный характер
Дополнительная информация
×
Название:
Номер:
Примечание: