Вернуться на главную
Поиск
Каталоги запчастей к технике
Грузовые автомобили и прицепы
УралАЗ
УРАЛ-4320-31
Задняя рессора
Каталог запасных частей к технике: УралАЗ УРАЛ-4320-31. Задняя рессора
zoom-in
zoom-out
enlarge
shrink
circle-right
circle-left
file-text2
info
cart
Тип техники
Не выбрано
Легковые автомобили
Грузовые автомобили и прицепы
Автобусы
Сельхозтехника
Спецтехника
Двигатели
Мототехника
Марка
Не выбрано
BAW
DAF
DongFeng
FAW
Foton
HOWO
Hyundai
IVECO
JAC Motors
LGMG
MAN
Shaanxi
SITRAK
Studebaker
Tata
Volvo
Автокомпонент Плюс
БелАЗ
Брянский Арсенал
ГАЗ
ЗИЛ
КАЗ
Камский автозавод
КрАЗ
Мадара
МАЗ
МЗКТ
МоАЗ
Нефтекамский автозавод
Ставропольский Завод АвтоПрицепов
ТАТРА
Тонар
УралАЗ
ЧМЗАП
Модель
Не выбрано
4320-0006982-74 (NEXT) (2017)
УРАЛ-375
УРАЛ-4320
УРАЛ-4320 (1981)
УРАЛ-4320-0971-58 (2010)
УРАЛ-4320-1151-59 (2010)
УРАЛ-4320-1951-58 (2010)
УРАЛ-4320-1958-70И (2012)
УРАЛ-4320-31
УРАЛ-4320-31
УРАЛ-4320-41
УРАЛ-4320-60 (2013)
УРАЛ-4320-61 (2013)
УРАЛ-4320-6951-74 (2015)
УРАЛ-4320-80М/82М (2015)
УРАЛ-43202
УРАЛ-43203-10
УРАЛ-43204-1111-70 (2012)
УРАЛ-43204-1153-70 (2012)
УРАЛ-43206-41
УРАЛ-4420 (1981)
УРАЛ-44202-0511-58 (2010)
УРАЛ-44202-3511-80 (2012)
УРАЛ-44202-3511-80 (2013)
УРАЛ-44202-3511-80М (2015)
УРАЛ-532301
УРАЛ-532361 (2015)
УРАЛ-5557
УРАЛ-5557-31 (2010)
УРАЛ-5557-40
УРАЛ-55571-1121-70 (2011)
УРАЛ-55571-30 (2010)
УРАЛ-55571-40 (2010)
УРАЛ-63674
УРАЛ-63685
УРАЛ-6370-1121 (2011)
УРАЛ-6370-1151 (2011)
УРАЛ-63704 (2011)
Схема
>
Не выбрано
Кабина в сборе
Уплотнители рычагов и коврики пола кабины
Стеклоочиститель и его привод
Омыватель ветрового стекла
Двери кабины
Ручки двери
Стеклоподъемник
Замок двери
Сиденья водителя и пассажиров
Сиденья водителя и пассажиров (по требованию заказчика)
Привод вентиляции и отопления кабины
Трубопроводы системы отопления кабины
Облицовка радиатора
Оперение автомобиля
Установка правой и левой подножек
Платформа
Сиденья платформы
Тент платформы
Подвеска двигателя
Масляный радиатор
Вентиляция картера
Установка агрегатов системы предпускового подогрева
Трубы и шланги системы предпускового подогрева
Трубы и шланги системы предпускового подогрева (двигатель с насосом повышенной производительности)
Котел предпускового подогревателя
Нагнетатель насосного агрегата
Топливный насос насосного агрегата
Основной топливный бак
Дополнительный топливный бак
Трубопроводы и шланги системы питания
Привод акселератора
Тяга ручного останова двигателя
Воздуховод с воздушным фильтром
Фильтр воздушный
Система выпуска газов
Радиатор системы охлаждения
Радиатор системы охлаждения (двигатель с насосом повышенной производительности)
Расширительный бачок
Штора радиатора
Привод управления сцеплением и тормозным краном
Привод педалей сцепления и тормоза (трансмиссия для МО)
Пневмопривод выключения сцепления
Установка бачка привода сцепления
Цилиндр гидравлический
Установка пневмоцилиндра (трансмиссия для МО)
Тяга с краном (трансмиссия для МО)
Установка рычага переключения передач коробки передач
Картер и подвеска раздаточной коробки
Первичный вал раздаточной коробки
Промежуточный вал раздаточной коробки и привод спидометра
Промежуточный вал раздаточной коробки и привод спидометра (трансмиссия для МО)
Вал привода переднего моста и дифференциал раздаточной коробки
Вал привода задних мостов раздаточной коробки
Управление и механизм переключения раздаточной коробки
Карданная передача
Карданный вал заднего (переднего) моста
Карданный вал промежуточный
Карданный вал среднего моста
Картер переднего моста
Передний мост
Дифференциал переднего моста
Редуктор главной передачи
Дифференциал и полуоси среднего и заднего моста
Картер заднего (среднего) моста
Привод блокировки межколесных дифференциалов
Механизм включения блокировки дифференциала
Проходной вал редуктора главной передачи
Рама
Передний буфер и буксирные крюки
Передний буфер и буксирные крюки (для МО)
Передняя подвеска
Передняя рессора
Задняя балансирная подвеска
Задняя балансирная подвеска (для МО)
Задняя рессора
Ось задней балансирной подвески
Реактивная штанга
Реактивная штанга (для МО)
Колесо и шина
Колесо и шина (для МО)
Ступица колеса и тормозной барабан переднего и заднего моста
Ступица колеса и тормозной барабан среднего моста (устанавливается на все мосты без АБС)
Вертикальный держатель запасного колеса
Редуктор подъема запасного колеса
Уплотнение трубопроводов (система регулирования давления воздуха в шинах для н/х)
Уплотнение трубопроводов (система регулирования давления воздуха в шинах для МО)
Рулевое управление
Рулевой механизм
Клапан управления усилительным механизмом
Колесо и вал рулевого управления
Усилительный механизм
Насос гидроусилителя руля
Бак масляный рулевого механизма
Тяга рулевой трапеции
Тяга сошки рулевого управления
Рулевое управление с рулевым механизмом 5557Я3-3400020
Механизм рулевой 555Я-3400020-10 с распределителем
Механизм рулевой 555Я-3400020-10
Распределитель гидроусилителя рулевого механизма 555Я-3400020-10
Рабочий тормоз переднего и заднего мостов
Рабочий тормоз среднего моста (устанавливается на все мосты без АБС)
Установка усилителей тормозов и модуляторов с АБС (без АБС см. Приложение №1)
Пневматический усилитель с главным тормозным цилиндром
Стояночный тормоз
Привод стояночного тормоза и управление краном торможения прицепа
Установка компрессора
Блок-картер компрессора
Головка компрессора
Поршень компрессора
Установка агрегатов пневмогидравлического привода рабочих тормозов (без АБС см. Приложение №1)
Трубопроводы и шланги пневмогидравлического привода рабочих тормозов
Крепление трубопроводов и шлангов пневмогидравлического привода рабочих тормозов
Установка воздушных баллонов
Установка тройного защитного клапана
Установка тормозного крана
Установка клапана прицепа с клапаном обрыва
Установка крана управления
Установка крестовины разбора воздуха
Установка влагомаслоотделителя со встроенным регулятором давления
Установка соединительных головок
Установка регулятора тормозных сил
Установка двухмагистрального клапана
Вспомогательный тормоз
Система вспомогательного тормоза
Установка клапана с трубками
Пневматические цилиндры вспомогательного тормоза
Установка пневматических усилителей с главными тормозными цилиндрами без АБС
Установка агрегатов пневмогидравлического привода рабочих тормозов без АБС
Трубопроводы и шланги пневмогидравлического привода рабочих тормозов без АБС
Крепление трубопроводов и шлангов пневмогидравлического привода рабочих
Установка агрегатов пневмогидравлического привода рабочих тормозов с комбинированным приводом
Трубопроводы и шланги пневмогидравлического привода рабочих тормозов с комбинированным приводом
Крепление трубопроводов и шлангов пневмогидравлического привода рабочих тормозов с комбинированным приводом
Установка воздушных баллонов без АБС
Установка клапана прицепа с клапаном обрыва
Установка крана управления тормозами прицепа
Уплотнение трубопроводов
Схема электрооборудования
Установка фар, фонарей знака автопоезда, передних, габаритных и боковых повторителей
Установка фар, фонарей знака автопоезда и передних, фары-прожектора, световозвращателей и боковых повторителей (для МО)
Установка выключателя зажигания и переключателя указателей поворота на рулевой колонке
Установка электрического сигнала
Установка аккумуляторных батарей
Установка аккумуляторных батарей (для МО)
Установка задних осветительных приборов
Установка задних осветительных приборов (для МО)
Панель приборов
Панель приборов (для МО)
Буксирный прибор
Буксирный прибор (для МО)
Коробка дополнительного отбора мощности
Установка пневмоуправления ДОМ, БМКД
Коробка отбора мощности
Установка пневмоуправления КОМ
Кран пневмоуправления
Кран колесный в сборе
Система регулирования давления воздуха в шинах
Система регулирования воздуха в шинах (для МО)
Установка крана управления давлением
Лебедка с тросоукладчиком в сборе
Редуктор лебедки
Детали редуктора лебедки
Привод лебедки
Тормоз и управление лебедкой
Тросоукладчик
Система герметизации пневмоусилителей
Система герметизации пневмоусилителей без АБС
Установка системы герметизации
Установка инструментального ящика
Шайба регулировочная
Номенклатура мостов без АБС и БМКД
Номенклатура мостов с АБС
Номенклатура мостов с БМКД
Уплотнения трубопроводов (установка пневмоуправления ДОМ, КОМ, БМКД)
Уплотнения трубопроводов (тормозная система)
Уплотнения трубопроводов (система регулирования давления воздуха в шинах)
Уплотнения трубопроводов (установка пневмоуправления ДОМ, БМКД)
Автомобильные лампы (МО)
Автомобильные лампы (НХ)
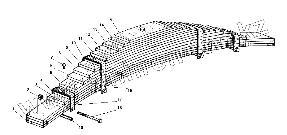
1
2
3
4
5
6
7
8
9
10
11
12
13
14
15
16
17
18
19
Позиция на иллюстрации
Заводской номер детали
Название детали
1
5557-2912101
Лист рессоры №1
2
250514-П29
Гайка М12-6Н
3
5557-2912104-11
Лист рессоры №4
4
5557-2912105
Лист рессоры №5
5
5557-2912106
Лист рессоры №6
6
5557-2912107-11
Лист рессоры №7
7
256869
Заклепка 12х26
8
5557-2912108
Лист рессоры №8
9
5557-2912109
Лист рессоры №9
10
5557-2912110
Лист рессоры №10
11
5557-2912111-11
Лист рессоры №11
12
5557-2912112
Лист рессоры №12
13
5557-2912113
Лист рессоры №13
14
5557-2912114-10
Лист рессоры №14
15
5557-2912115-11
Лист рессоры №15
16
5557-2912062-10
Хомут 10-го листа
17
5323-2902063
Хомут 5-го листа
18
200383-П29
Болт М12-6gх120
19
5323-2902068
Трубка распорная
Содержащиеся в справочниках-каталогах запасные части и детали не предлагаются к продаже, а носят исключительно информационный характер
Дополнительная информация
×
Название:
Номер:
Примечание: