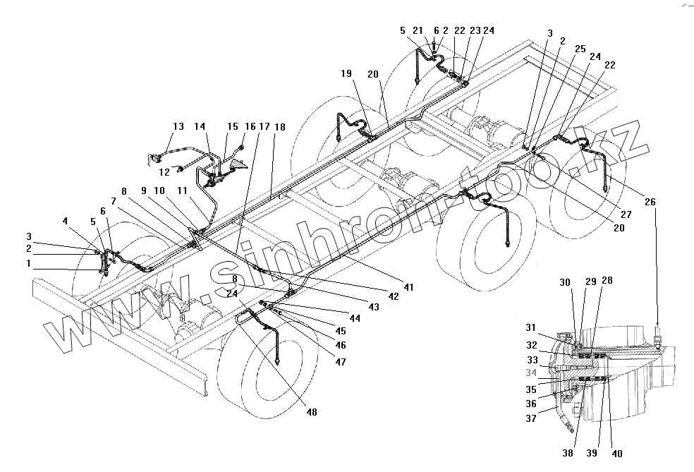
Каталог запасных частей к технике: УралАЗ УРАЛ-4320-31. Система регулирования давления воздуха в шинах
1
2
2
2
3
3
4
5
5
6
6
7
8
8
9
10
11
12
13
14
15
16
17
18
19
20
20
21
22
22
23
24
24
24
25
26
27
28
29
30
31
32
33
34
35
36
37
38
39
40
41
42
43
44
45
46
47
48
| Позиция на иллюстрации | Заводской номер детали | Название детали | |
|---|---|---|---|
| 1 | 4320-3125032 | Кронштейн шланга | |
| 2 | 252136-П2 | Шайба 10 пружинная | |
| 3 | 250512-П29 | Гайка М10 | |
| 4 | 339124-П29 | Хомут крепления шланга | |
| 5 | 375-3506023-01 | Прокладка | |
| 6 | 201493-П29 | Болт М10-6gх16 | |
| 7 | 375Ю-4225092-01 | Трубка от тройника к правому переднему колесу в сборе | |
| 8 | 339296 | Тройник М14х1,5 | |
| 9 | 432007-3125094-11 | Трубка от тройника к правым колесам в сборе | |
| 10 | 339547 | Тройник М16х1,5-М14х1,5 | |
| 11 | 4320-3125100-01 | Трубка от крана к центральному тройнику в сборе | |
| 12 | Н-202 | Втулка | |
| 13 | 4320-3125102-02 | Трубка от крестовины к крану управления давлением в сборе | |
| 14 | 375Ю-4222022-01 | Трубка выводная крана управления давлением в сборе | |
| 15 | 4320-3125132-01 | Трубка к шинному манометру в сборе | |
| 16 | 339157-П29 | Штуцер М10х1 манометра | |
| 17 | 555707-3125046-01 | Трубка к левым колесам, первая в сборе | |
| 18 | 432007-3125218-01 | Трубка от тройника к среднему правому колесу в сборе | |
| 19 | 339225 | Тройник К1/4"-М14х1,5 | |
| 20 | 432007-3125192-01 | Трубка от среднего к задним колесам в сборе | |
| 21 | 339098-П29 | Хомут крепления шланга | |
| 22 | 375-4225251 | Фланец переходный | |
| 23 | 250640-П29 | Гайка М20х1,5-6Н | |
| 24 | 339040 | Угольник М14х1,5 КГ1/4" | |
| 25 | 375-4225046 | Скоба | |
| 26 | 375-4225075-02 | Шланг гибкий системы накачки шин в сборе | |
| 27 | 201500-П29 | Болт М10 | |
| 28 | 375-3124013 | Кольцо распорное | |
| 29 | 4320-3103076 | Гайка подшипника колеса в сборе | |
| 30 | 375-3103079-01 | Шайба замочная | |
| 31 | 375-3103081-Г | Контргайка подшипников колеса | |
| 32 | 375-2303067-А | Кольцо стопорное | |
| 33 | 375-3124094 | Угольник подвода воздуха | |
| 34 | 00.10.00 | Хомут червячный (12-22) | |
| 35 | 375-4224017-03 | Сальник подвода воздуха в сборе | |
| 36 | 375-3103080-Б | Шайба стопорная | |
| 37 | 375-4225073-02 | Шланг гибкий подвода воздуха в сборе | |
| 38 | 375-4224020-01 | Обойма манжеты | |
| 39 | 375-4224081 | Обойма | |
| 40 | 375-2303066 | Направляющая полуоси | |
| 41 | 375Ю-4225206-01 | Трубка от тройника к среднему левому колесу в сборе | |
| 42 | 339035 | Штуцер 14х1,5 | |
| 43 | 555717-3125048-01 | Трубка к левым колесам, вторая в сборе | |
| 44 | 250514-П29 | Гайка М12-6Н | |
| 45 | 339168-П29 | Хомут | |
| 46 | 201539-П29 | Болт М12-6gх28 | |
| 47 | 252137-П2 | Шайба 12 пружинная | |
| 48 | 432007-3125034-02 | Трубка к левому переднему колесу в сборе |
Содержащиеся в справочниках-каталогах запасные части и детали не предлагаются к продаже, а носят исключительно информационный характер