Каталог запасных частей к технике: УралАЗ УРАЛ-4320-31. Двери кабины
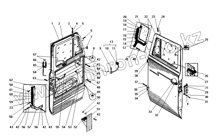
1
2
3
4
4
5
6
7
8
9
10
11
12
13
14
15
16
17
18
19
20
21
22
23
23
24
25
26
27
28
29
30
31
32
33
34
35
36
37
38
39
40
41
42
42
42
42
43
43
43
43
44
45
46
47
48
49
50
51
52
53
54
55
56
56
57
58
58
59
60
61
62
63
64
65
66
67
| Позиция на иллюстрации | Заводской номер детали | Название детали | |
|---|---|---|---|
| 1 | 377-6107025-01 | Уплотнитель двери | |
| 2 | 377-6107027-01 | Уплотнитель двери, передний | |
| 3 | 224600-П29 | Винт М5-6gх16 | |
| 4 | 252153-П2 | Шайба 5 пружинная | |
| 5 | 252036-П29 | Шайба 5 | |
| 6 | 240622-П29 | Винт 4х20 | |
| 7 | 240820-П29 | Винт 4х18 | |
| 8 | 377-6107012 | Уплотнитель петли двери верхний | |
| 9 | 260018-П52 | Палец 6х35 | |
| 10 | 377-6106085 | Буфер | |
| 11 | 250510-П29 | Гайка М8-6Н | |
| 12 | 377-6103088 | Пружина | |
| 13 | 377-6106082 | Ограничитель хода двери с буфером в сборе | |
| 14 | 252005-П29 | Шайба 8 | |
| 15 | 377-6103130 | Обойма уплотнительная в сборе правая | |
| 16 | 377-6103131 | Обойма уплотнительная в сборе левая | |
| 17 | 377-6103122-А | Уплотнитель правый | |
| 18 | 377-6103123-А | Уплотнитель левый | |
| 19 | 377-6103064 | Рамка в сборе правая | |
| 20 | 377-6103065 | Рамка в сборе левая | |
| 21 | 377-6103055 | Прокладка поворотного стекла | |
| 22 | 377-6103052 | Стекло поворотное двери | |
| 23 | 252002-П29 | Шайба 4 | |
| 24 | 255063-П29 | Заклепка 4х8 | |
| 25 | 4320Х-6103296 | Желобок верхний (длина 1265 мм) | |
| 26 | 377-6103286 | Уплотнитель | |
| 27 | 377-6103283 | Держатель нижнего уплотнителя | |
| 28 | 377-6101050-Б | Крышка замка правая | |
| 29 | 377-6101051-Б | Крышка замка левая | |
| 30 | 252003-П29 | Шайба 5 | |
| 31 | 220077-П29 | Винт М5-6gх10 | |
| 32 | 377-6105150-02 | Ручка двери наружная левая с замком в сборе | |
| 33 | 377-6105151-01 | Ручка двери наружная правая в сборе | |
| 34 | А230-6106026-01 | Петля нижняя правая в сборе | |
| 35 | А230-6106027-01 | Петля нижняя левая в сборе | |
| 36 | 252155-П2 | Шайба 8 пружинная | |
| 37 | 201458-П29 | Болт М8-6gх25 | |
| 38 | А230-6106012-01 | Петля верхняя правая в сборе | |
| 39 | А230-6106013-01 | Петля верхняя левая в сборе | |
| 40 | 258025-П29 | Шплинт 2,5х20 | |
| 41 | 334734-П29 | Гайка М8х1 | |
| 42 | 252154-П2 | Шайба 6 пружинная | |
| 43 | 220103-П29 | Винт М6-6gх12 | |
| 44 | 258012-П29 | Шплинт 2х12 | |
| 45 | 4320-6104016 | Стеклоподъемники в сборе правый | |
| 46 | 4320-6104017 | Стеклоподъемники в сборе левый | |
| 47 | 5557-6102043 | Шайба | |
| 48 | 240619-П29 | Винт М4х16 | |
| 49 | 377-6107014-А | Уплотнитель нижней петли | |
| 50 | 250508-П29 | Гайка М6-6Н | |
| 51 | 4320-6103270-10 | Упор опускного стекла | |
| 52 | 375-6103274 | Прокладка упора стекла | |
| 53 | 377-6102010 | Обивка правая | |
| 54 | 377-6102011 | Обивка левая | |
| 55 | 5320-8202011 | Поручень входной | |
| 56 | 252004-П29 | Шайба 6 | |
| 57 | 377-6103260 | Кронштейн нижний в сборе | |
| 58 | 255028-П29 | Заклепка 3х10 | |
| 59 | 377-6103262-02 | Желобок опускного стекла | |
| 60 | 377-6103254 | Стойка в сборе правая | |
| 61 | 377-6103255 | Стойка в сборе левая | |
| 62 | 377-6103265 | Уплотнитель в сборе | |
| 63 | 221665-П29 | Винт М8-6gх22 | |
| 64 | 377-6103220 | Обойма в сборе правая | |
| 65 | 377-6103221 | Обойма в сборе левая | |
| 66 | 377-6103218 | Прокладка опускного стекла | |
| 67 | 377-6103216 | Стекло опускное двери |
Содержащиеся в справочниках-каталогах запасные части и детали не предлагаются к продаже, а носят исключительно информационный характер