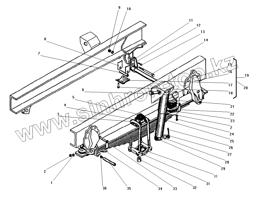
Каталог запасных частей к технике: УралАЗ УРАЛ-43203-10. Передняя подвеска
1
2
2
3
4
5
6
7
8
9
10
11
12
13
14
15
16
17
18
19
20
21
22
23
24
25
26
27
28
29
30
31
32
33
34
35
36
| Позиция на иллюстрации | Заводской номер детали | Название детали | |
|---|---|---|---|
| 1 | 250512-П29 | Гайка М10 | |
| 2 | 252136-П2 | Шайба 10 пружинная | |
| 3 | 4320-2902408 | Стремянка передней рессоры | |
| 4 | 4320-2902413 | Накладка передней рессоры | |
| 5 | 375-2902414 | Буфер передней рессоры дополнительный | |
| 6 | 338321-П29 | Палец амортизатора верхний | |
| 7 | 4320-2902448 | Втулка распорная | |
| 8 | 375-2902453 | Вкладыш заднего кронштейна передней рессоры боковой | |
| 9 | 250560-П29 | Гайка М16х1,5-6Н | |
| 10 | 252139-П2 | Шайба 16 | |
| 11 | 4320-2902437 | Пластина | |
| 12 | 4320-2902432 | Стяжка в сборе | |
| 13 | 330022-П29 | Болт М14х1,5х29 | |
| 14 | 332691-П29 | Болт М16х176 | |
| 15 | 4320-2902446 | Кронштейн задний правый | |
| 16 | 4320-2902447 | Кронштейн задний левый | |
| 17 | 375-2902449-20 | Вкладыш заднего кронштейна | |
| 18 | 257045 | Заклепка 10х40 | |
| 19 | 4320-2902442 | Кронштейн передней рессоры задний правый в сборе | |
| 20 | 4320-2902443 | Кронштейн передней рессоры задний левый в сборе | |
| 21 | 375-2902690 | Подкладка дополнительного буфера | |
| 22 | 4320-2902644 | Обойма правая | |
| 23 | 4320-2902645 | Обойма левая | |
| 24 | 201496-П29 | Болт М10-6gх22 | |
| 25 | А1-300/475.2905006 | Амортизатор в сборе | |
| 26 | 258054-П29 | Шплинт 4х32 | |
| 27 | 6361-2905130 | Гайка | |
| 28 | 336448-П29 | Шайба 24 | |
| 29 | 5557-2905410 | Втулка головки амортизатора | |
| 30 | 6361-2301025 | Хомут правый | |
| 31 | 6361-2301042 | Хомут левый | |
| 32 | 334932-П29 | Гайка М22х2,5 | |
| 33 | 5557-2902012-04 | Рессора передняя в сборе | |
| 34 | 375-2902479-01 | Клин стопорный | |
| 35 | 375-2902478-В | Палец переднего ушка | |
| 36 | 264040-П29 | Масленка 2.3.90.01 в сборе |
Содержащиеся в справочниках-каталогах запасные части и детали не предлагаются к продаже, а носят исключительно информационный характер