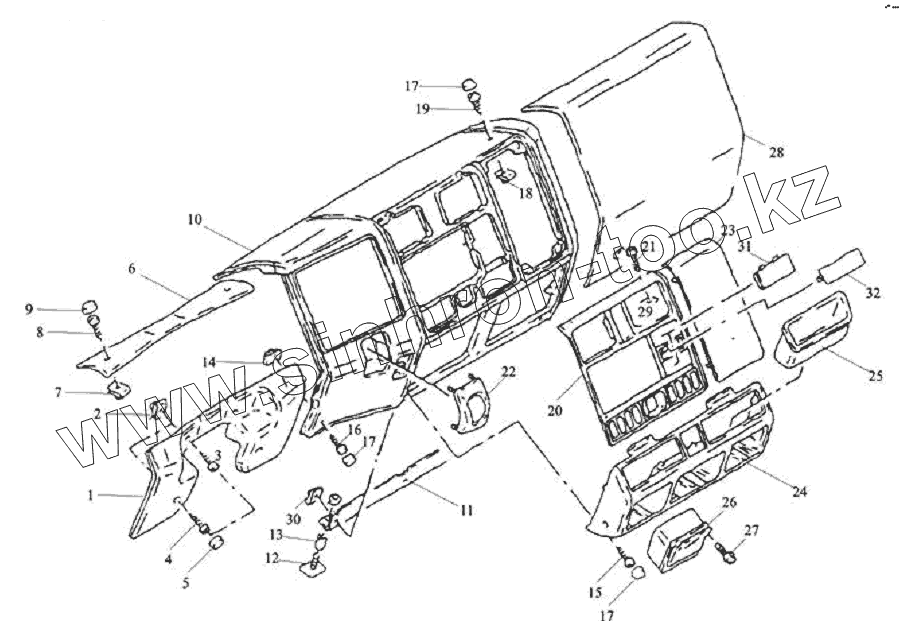
Каталог запасных частей к технике: Тонар-6428. Панель приборов
1
2
3
4
5
6
7
8
9
10
11
12
13
14
15
16
17
17
17
18
19
20
21
22
23
24
25
26
27
28
29
30
31
32
| Позиция на иллюстрации | Заводской номер детали | Название детали | |
|---|---|---|---|
| 1 | 81617010120 | Крышка нижняя | |
| 2 | 06131890051 | Пластина-фиксатор | |
| 3 | 06071584503 | Винт | |
| 4 | 06071584505 | Винт | |
| 5 | 81960020420 | Пробка | |
| 6 | 81617010119 | Крышка верхняя | |
| 7 | 06131890051 | Пластина-фиксатор | |
| 8 | 06071584503 | Винт | |
| 9 | 81960020420 | Пробка | |
| 10 | 81617015169 | Центральная панель | |
| 11 | 81614300053 | Кронштейн | |
| 12 | 81942890158 | Трубка стальная | |
| 13 | 06150130409 | Шайба | |
| 14 | 06131890051 | Пластина-фиксатор | |
| 15 | 06020990362 | Винт | |
| 16 | 06071584505 | Винт | |
| 17 | 81960020420 | Пробка | |
| 18 | 06131890012 | Гайка | |
| 19 | 06071584505 | Винт | |
| 20 | 81617012227 | Центральная облицовка | |
| 21 | 06071584505 | Винт | |
| 22 | 81617010135 | Крышка | |
| 23 | 81617010125 | Центральная крышка | |
| 24 | 81617016179 | Центральная часть панели | |
| 25 | 81637450019 | Кармашек | |
| 26 | 85637400003 | Пепельница | |
| 27 | 81904700611 | Болт | |
| 28 | 81617016178 | Крышка блока предохранителей | |
| 29 | 06131890051 | Пластина-фиксатор | |
| 30 | 06131890051 | Пластина-фиксатор | |
| 31 | 81617010123 | Крышка прикуривателя | |
| 32 | 81617010150 | Крышка |
Содержащиеся в справочниках-каталогах запасные части и детали не предлагаются к продаже, а носят исключительно информационный характер