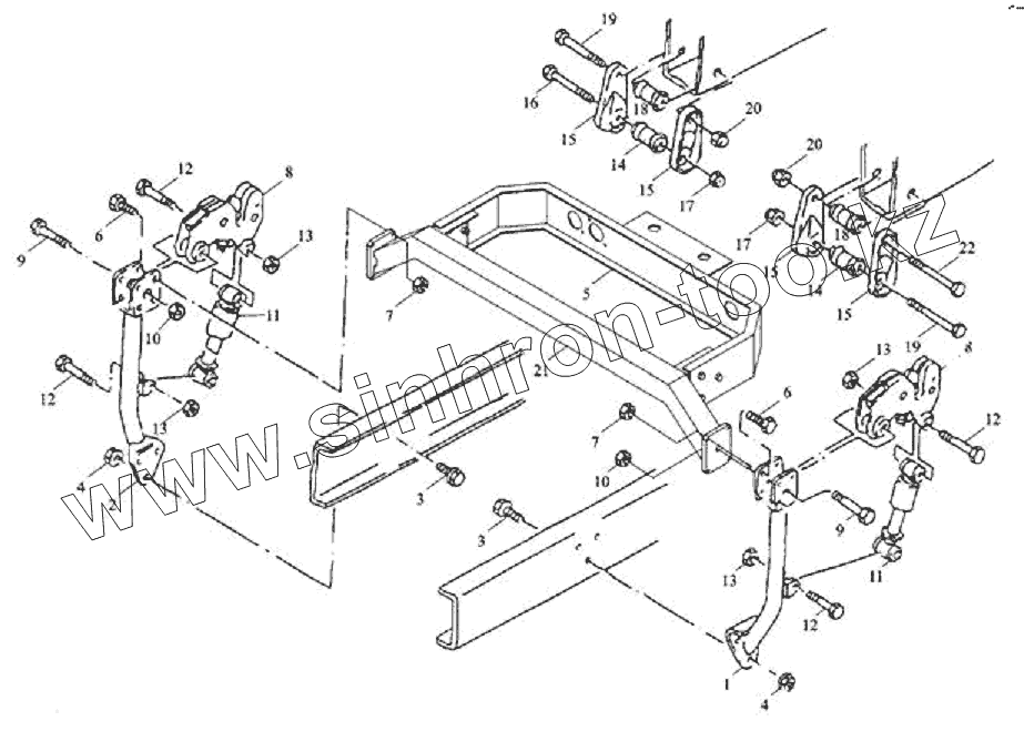
Каталог запасных частей к технике: Тонар-6428. Механизм замка кабины
1
2
3
3
4
4
5
6
6
7
7
8
8
9
9
10
10
11
11
12
12
12
12
13
13
13
13
14
14
15
15
15
15
16
17
17
18
19
19
19
20
20
21
| Позиция на иллюстрации | Заводской номер детали | Название детали | |
|---|---|---|---|
| 1 | 81417015344 | Кронштейн подвески левой задней | |
| 2 | 81417015345 | Кронштейн подвески правой задней | |
| 3 | Q150В1440 | Болт | |
| 4 | Q33414 | Гайка | |
| 5 | DZ1640440036 | Рама в сборе | |
| 6 | Q150В1225 | Болт | |
| 7 | Q33412 | Гайка | |
| 8 | 81618516020 | Замок кабины | |
| 9 | Q150В1690 | Болт | |
| 10 | Q33416 | Гайка | |
| 11 | 81417226013 | Цилиндр гидравлический | |
| 12 | Q150В1470 | Болт | |
| 13 | Q33414 | Гайка | |
| 14 | 81962100462 | Втулка | |
| 15 | 81618510008 | Крепежная пластина | |
| 16 | Q150В1470 | Болт | |
| 17 | Q33414 | Гайка | |
| 18 | 81962100364 | Втулка | |
| 19 | Q150В16110 | Болт | |
| 20 | Q33416 | Гайка | |
| 21 | DZ1643440070 | Рама U-формы в сборе |
Содержащиеся в справочниках-каталогах запасные части и детали не предлагаются к продаже, а носят исключительно информационный характер