Каталог запасных частей к технике: Тонар-6428. Бампер дополнительный
1
2
3
4
5
6
6
7
7
8
8
9
9
9
10
11
12
13
14
15
16
17
18
19
20
21
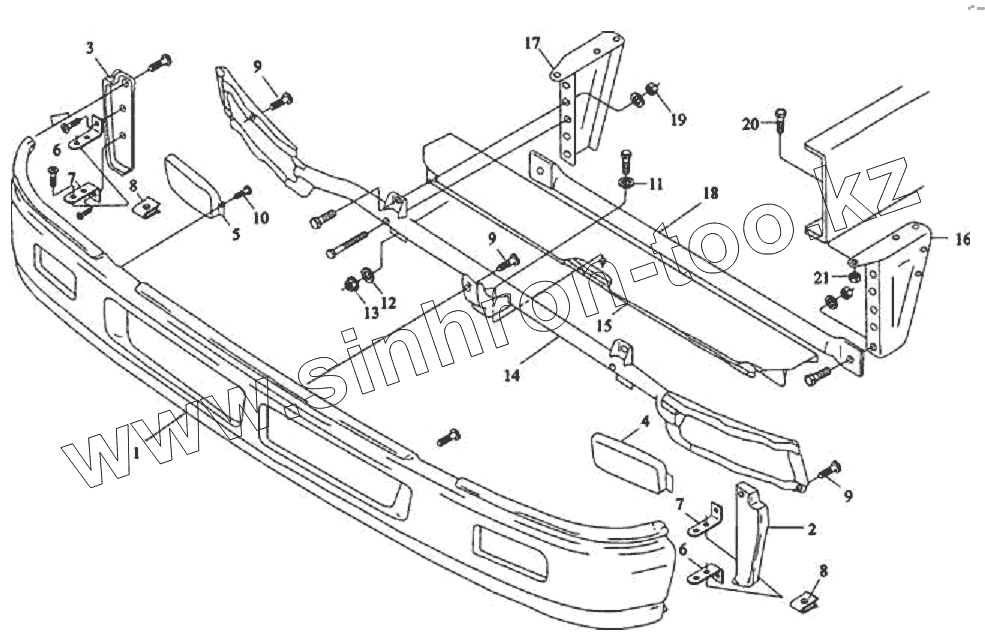
| Позиция на иллюстрации | Заводской номер детали | Название детали | |
|---|---|---|---|
| 1 | 81416130074 | Бампер в сборе | |
| 2 | 81416130069 | Крышка левая | |
| 3 | 81416130066 | Крышка правая | |
| 4 | 81416130081 | Крышка левая | |
| 5 | 81416130080 | Крышка правая | |
| 6 | 81416130077 | Кронштейн верхний | |
| 7 | 81416130076 | Кронштейн нижний | |
| 8 | 81416135031 | Пластина | |
| 9 | 81904700618 | Винт | |
| 10 | 81904700619 | Болт | |
| 11 | 06151900309 | Шайба | |
| 12 | 06151900311 | Шайба | |
| 13 | 06112400406 | Гайка | |
| 14 | 81416135035 | Крепление фар | |
| 15 | 81416155061 | Подножка | |
| 16 | DZ9112930252 | Кронштейн левый | |
| 17 | DZ9112930253 | Кронштейн правый | |
| 18 | 81416530004 | Балка | |
| 19 | 06112512001 | Гайка | |
| 20 | 06028134911 | Болт | |
| 21 | 06112512005 | Болт |
Содержащиеся в справочниках-каталогах запасные части и детали не предлагаются к продаже, а носят исключительно информационный характер