Вернуться на главную
Поиск
Каталоги запчастей к технике
Грузовые автомобили и прицепы
Tata
SFC 407 LHD Euro II
ENGINE SUSPENSION
Каталог запасных частей к технике: Tata SFC 407 LHD Euro II. ENGINE SUSPENSION
zoom-in
zoom-out
enlarge
shrink
circle-right
circle-left
file-text2
info
cart
Тип техники
Не выбрано
Легковые автомобили
Грузовые автомобили и прицепы
Автобусы
Сельхозтехника
Спецтехника
Двигатели
Мототехника
Марка
Не выбрано
BAW
DAF
DongFeng
FAW
Foton
HOWO
Hyundai
IVECO
JAC Motors
LGMG
MAN
Shaanxi
SITRAK
Studebaker
Tata
Volvo
Автокомпонент Плюс
БелАЗ
Брянский Арсенал
ГАЗ
ЗИЛ
КАЗ
Камский автозавод
КрАЗ
Мадара
МАЗ
МЗКТ
МоАЗ
Нефтекамский автозавод
Ставропольский Завод АвтоПрицепов
ТАТРА
Тонар
УралАЗ
ЧМЗАП
Модель
Не выбрано
LP/LPT 613 LHD (2006)
LPT 1618 TC/52 (2009)
LPT 613 Euro-III (2009)
LPT 613 LHD EURO II (2009)
LPT 613/34 WB Euro III (2009)
SFC 407 LHD Euro II (2009)
Схема
>
Не выбрано
ENGINE CHASSIS TYPE 357175, 357174
ENGINE CHASSIS TYPE 357171, 357172, 357173
HALF BLOCK AND LONG BLOCK
ENGINE OVERHAULING GASKET KIT
CYLINDER BLOCK
CYLINDER HEAD AND COVER
MOVING PARTS
ENGINE TIMING
FUEL INJECTION EQUIPMENT
INJECTOR
FUEL FILTER MOUNTING
FUEL FILTER (MICO)
AIR FILTER
AIR SUCTION UNIT
EXHAUST MANIFOLD AND TURBOCHARGER
STARTER AND ALTERNATOR
OIL PUMP
ENGINE LUBRICATION(OIL COOLER)
WATER PUMP 357175, 357174
WATER PUMP 357171, 357172, 357173
POWER STEERING PUMP MOUNTING
ENGINE SUSPENSION
CLUTCH HOUSING
GEAR BOX(HOUSING)
GEAR BOX(TOP COVER)
GEAR SHAFTS AND GEARS
CLUTCH/BRAKE PEDALS
REPAIR KITS FOR CMC AND CSC
ACCELERATOR CONTROLS
FRAME 357171, 357174
FRAME 357172, 357173, 357175
FRONT SPRING AND SUSPENSION
REAR SPRING AND SUSPENSION
FRONT SHOCK ABSORBER
REAR SHOCK ABSORBER
FRONT ANTIROLL BAR
FRONT AXLE
REAR AXLE(SINGLE TYPE)
REAR AXLE (SINGLE TYRE-CHINA BEAM)
WHEEL AND SPARE WHEEL CARRIER
PROPELLER SHAFT
PROPELLER SHAFT (MSL MAKE)
FRONT WHEEL BRAKES
REAR WHEEL BRAKES
TANDEM MASTER CYLINDER
BRAKE PIPE LINES
PARKING BRAKE 357175, 357174
PARKING BRAKES 357171, 357172, 357173
STEERING LINKAGES
POWER STEERING PUMP MOUNTING 357175, 357174
POWER STEERING COMPONENTS AND PIPE LINES 357175, 357174
POWER STEERING COMPONENT & PIPE LINES 357171, 357172, 357173
POWER STEERING PUMP (ZF)
POWER STEERING GEARBOX (ZF)
POWER STEERING HYDRAULIC TANK(ZF)
ASSY FUEL SYSTEM 357175, 357174
ASSY FUEL SYSTEM 357171, 357172, 357173
EXHAUST SYSTEM
RADIATOR 357175, 357174
RADIATOR 357171, 357172, 357173
ELECTRICAL EQUIPMENTS 357175
ELECTRICAL EQUIPMENTS 357174
ELECTRICAL EQUIPMENTS 357172
ELECTRICAL EQUIPMENTS 357171
ELECTRICAL EQUIPMENTS 357173
WIRING HARNESS 357175
WIRING HARNESS 357174
WIRING HARNESS 357171, 357172
WIRING HARNESS 357173
ASSY CAB COMPLETE 357175
ASSY CAB COMPLETE 357174
ASSY CAB COMPLETE 357171, 357172
ASSY COWL COMPLETE357173
SHEET METAL PARTS 357171, 357172, 357175, 357174
SHEET METAL PARTS 357173
WIND SHIELD GLASS 357171, 357172, 357175, 357174
WINDSHIELD GLASS 357173
DASHBOARD 357175
DASHBOARD 357171, 357172, 357174
DASHBOARD 357173
INSIDE LINING 357171, 357172, 357175, 357174
INSIDE LINING 357173
LOAD BODY 357171, 357174
DOOR 357171, 357172, 357175, 357174
DOOR LOCKS AND HANDLES 357171, 357172, 357175, 357174
DOOR GLASS 357171, 357172, 357175, 357174
INTERNAL AND EXTERNAL FITMENTS 357175, 357174
INTERNAL AND EXTERNAL FITMENTS 357171, 357172
INTERNAL AND EXTERNAL FITMENTS 357173
WINDSHIELD WIPING AND WASHING SYSTEM
CAB HEATING 357175
CAB VENTILATION 357171, 357172, 357173, 357174
CENTRE BONNET 357175, 357174
CENTRE BONNET 357171, 357172, 357173
CENTRE BONNET LOCK
BUMPER AND ENGINE HOOD
CAB MOUNTING (FRONT AND REAR)
DRIVER AND CO-DRIVER SEAT357175, 357174
DRIVER AND CO DRIVER SEAT 357171, 357172
DRIVER AND CO DRIVER SEAT 357173
SEAT BELTS 357171, 357172, 357175, 357174
1
2
5
5
7
8
8
9
9
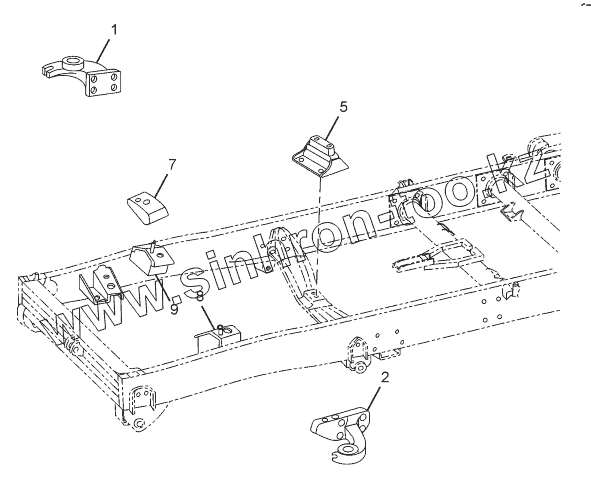
Позиция на иллюстрации
Заводской номер детали
Название детали
265124208204
265124208204
OIL BAFFLE
265124100113
265124100113
KIT FOR ENGINE MOUNTING PAD CONSISTING OF
1
253422125105
FRONT ENGINE SUPPORT LEFT
2
253422125104
FRONT ENGINE SUPPORT RIGHT
5
265124200102
ASSY. ENGINE MOUNTING REAR
5
ASSY. ENGINE MOUNTING REAR
ASSY. ENGINE MOUNTING REAR
7
264124108211
COVER ENGINE MOUNTING FRONT (RH)
8
264124100109
ASSY. ENGINE MOUNTING FRONT (RH)
8
ASSY. ENGINE MOUNTING FRONT RH
ASSY. ENGINE MOUNTING FRONT RH
9
264124100110
ASSY. ENGINE MOUNTING FRONT (LH)
9
ASSY. ENGINE MOUNTING FRONT LH
ASSY. ENGINE MOUNTING FRONT LH
Содержащиеся в справочниках-каталогах запасные части и детали не предлагаются к продаже, а носят исключительно информационный характер
Дополнительная информация
×
Название:
Номер:
Примечание: