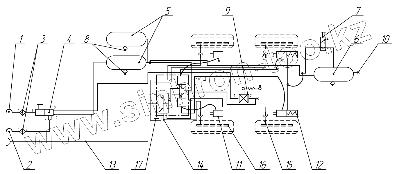
Каталог запасных частей к технике: Ставропольский Завод АвтоПрицепов СЗАП-9905. Пневмопривод тормозов с АБС
1
2
3
4
4
4
4
4
5
6
7
8
9
9
9
10
10
10
11
12
13
14
15
16
17
| Позиция на иллюстрации | Заводской номер детали | Название детали | |
|---|---|---|---|
| 1 | 100-3521110 | Соединительная головка | |
| 2 | 100-3521111 | Соединительная головка | |
| 3 | 12.3511.310 | Магистральный фильтр | |
| 4 | 100-3531008 | Воздухораспределитель | |
| 4 | ZH020.40 | Воздухораспределитель | |
| 4 | 971.002.700.0 | Воздухораспределитель | |
| 5 | 5320-3513014 | Баллон воздушный тормозов | |
| 6 | 9370-3513015 | Ресивер | |
| 7 | 100-3520010 | Разобщительный кран | |
| 8 | 100-3513110 | Кран слива конденсата | |
| 9 | 100-3533010 | Регулятор тормозных сил | |
| 9 | 8007-3513010 | Регулятор тормозных сил | |
| 10 | 100-3515310-01 | Клапан контрольного вывода | |
| 10 | 100-3515310 | Клапан контрольного вывода | |
| 11 | 100-3519210 | Камера тормозная тип 24 | |
| 12 | 100-3519200-30 | Камера тормозная с пружинным аккумулятором тип 24/24 | |
| 13 | 449.112.080.0 | Кабель с розеткой | |
| 14 | 449.412.060.0 | Кабель сенсора | |
| 15 | 441.032.579.0 | Датчик | |
| 16 | 8357-3541105 | Ротор датчика | |
| 17 | 446.108.040.0 | Блок управления |
Содержащиеся в справочниках-каталогах запасные части и детали не предлагаются к продаже, а носят исключительно информационный характер