Каталог запасных частей к технике: Shaanxi Shacman SX3316DT426C. FRONT COVER
1
2
3
3
3
4
4
4
5
6
7
8
8
9
9
10
11
12
13
14
15
16
17
18
19
20
21
22
23
24
24
25
25
26
26
27
27
28
28
29
29
30
30
31
31
32
32
33
33
33
33
33
33
33
33
33
33
34
34
34
34
35
35
36
36
37
38
39
40
41
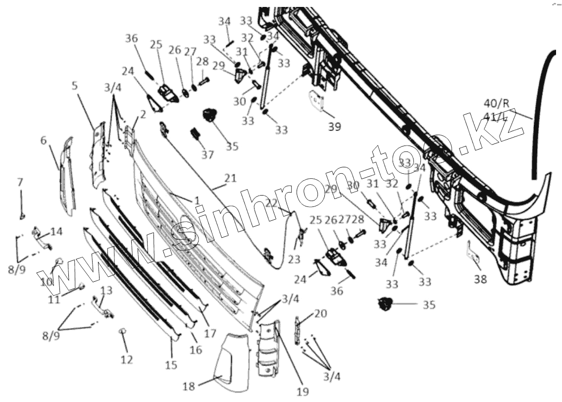
| Позиция на иллюстрации | Заводской номер детали | Название детали | |
|---|---|---|---|
| 1 | DZ13241110011 | Front cover | |
| 2 | DZ13241870016 | Right spoiler bracket | |
| 3 | Q150B0816 | Болт | |
| 4 | Q40108 | Шайба А8,4х16х1,6-200НV-МАN183-В4 | |
| 5 | DZ13241870028 | Right spoiler inner panel | |
| 6 | DZ13241870012 | Right spoiler outer panel | |
| 7 | 81.97001.0500 | Правая крышка | |
| 8 | Q150B0625 | Hex. Screw | |
| 9 | Q40106 | Шайба 8х16х2-SТ-А3С | |
| 10 | 81.97001.0501 | Левая крышка | |
| 11 | 81.97001.0498 | Правая крышка | |
| 12 | 81.97001.0499 | Левая крышка | |
| 13 | 81.97001.5081 | Левая ручка | |
| 14 | 81.97001.5082 | Правая ручка | |
| 15 | DZ13241110014 | Under the grill | |
| 16 | DZ13241110013 | Grille middle | |
| 17 | DZ13241110012 | On the grill | |
| 18 | DZ13241870011 | Left spoiler outer panel | |
| 19 | DZ13241870027 | Left spoiler inner panel | |
| 20 | DZ13241870015 | Left spoiler bracket | |
| 21 | SZ111000710 | Mask lock lock seat and tie rod assembly | |
| 22 | DZ13241110076 | Cable sheath | |
| 23 | DZ13241110073 | Mask lock handle and bracket | |
| 24 | 81.62440.0022 | Пластина | |
| 25 | 81.62440.0031 | Кронштейн | |
| 26 | Q40206 | Шайба | |
| 27 | Q40208 | Шайба | |
| 28 | Q150B0625 | Hex. Screw | |
| 29 | 81.62440.0023 | Кронштейн | |
| 30 | Q5100824 | Pin roll | |
| 31 | Q40106 | Шайба 8х16х2-SТ-А3С | |
| 32 | Q150B0616 | Болт | |
| 33 | Q40108 | Шайба А8,4х16х1,6-200НV-МАN183-В4 | |
| 34 | DZ13241110033 | Air spring assy | |
| 35 | SZ111000711 | Mask lock lock | |
| 36 | 81.90201.0163 | Палец | |
| 37 | 81.92501.0029 | Хомут | |
| 38 | SZ111000712 | Mask lock left bracket assembly | |
| 39 | SZ111000715 | Mask lock right bracket assembly | |
| 40 | 81.62910.0051 | Облицовка защитная левая | |
| 41 | 81.62910.0052 | Облицовка защитная правая |
Содержащиеся в справочниках-каталогах запасные части и детали не предлагаются к продаже, а носят исключительно информационный характер