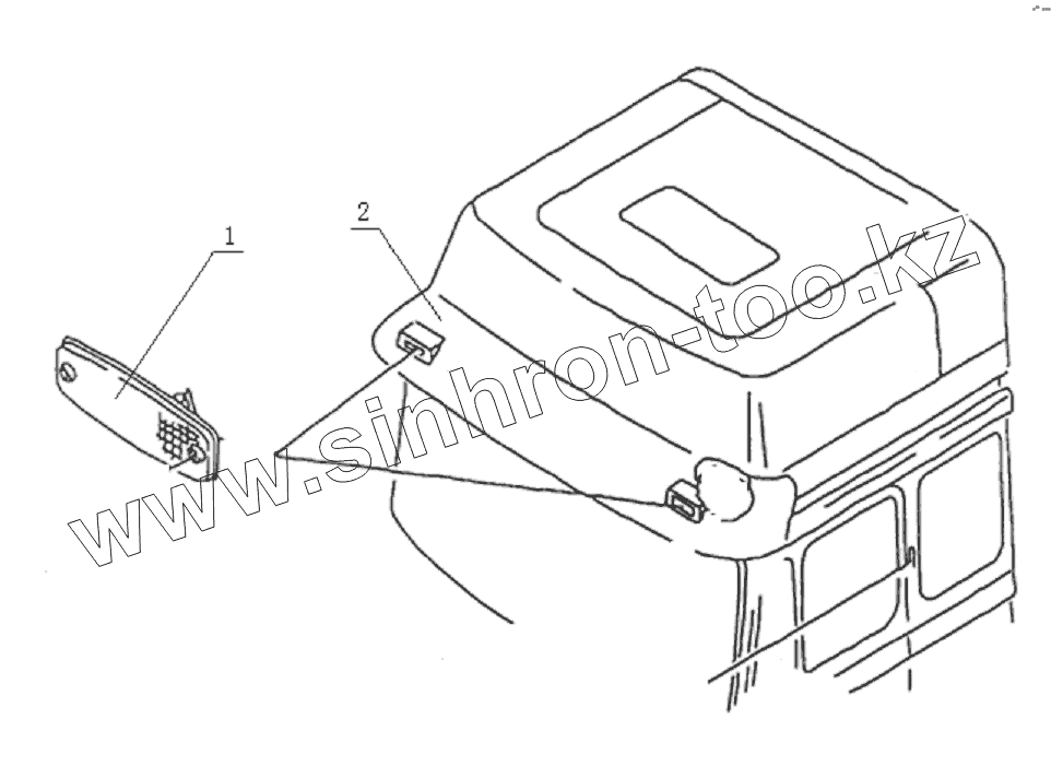
Каталог запасных частей к технике: Shaanxi Shacman SX3316DR366 (F2000). HIGH POSITION LIGHTS
1
2
2
2
2
2
2
2
2
2
2
2
2
2
2
2
2
2
2
2
2
2
2
2
2
2
2
2
2
2
2
2
2
2
2
2
2
2
2
2
2
2
2
2
2
2
2
2
2
2
| Позиция на иллюстрации | Заводской номер детали | Название детали | |
|---|---|---|---|
| 1 | 81.25260.6040 | Габаритные фонари | |
| 2 | 81.63701.6023 | Пластиковое крепление | |
| 2 | Q2714222 | Cross recessed pan head tapping screws | |
| 2 | 06.13189.0012 | Гайка SТ4,2-2-А3С | |
| 2 | Q2714222 | Cross recessed pan head tapping screws | |
| 2 | 06.13189.0071 | Пластина-фиксатор SТ4,2-7-А3С | |
| 2 | Q2714222 | Cross recessed pan head tapping screws | |
| 2 | 04.39535.9011 | Protective Strip |
Содержащиеся в справочниках-каталогах запасные части и детали не предлагаются к продаже, а носят исключительно информационный характер