Вернуться на главную
Поиск
Каталоги запчастей к технике
Грузовые автомобили и прицепы
Shaanxi
Shacman SX3258DR384—F2000
Expansion box system
Каталог запасных частей к технике: Shaanxi Shacman SX3258DR384—F2000. Expansion box system
zoom-in
zoom-out
enlarge
shrink
circle-right
circle-left
file-text2
info
cart
Тип техники
Не выбрано
Легковые автомобили
Грузовые автомобили и прицепы
Автобусы
Сельхозтехника
Спецтехника
Двигатели
Мототехника
Марка
Не выбрано
BAW
DAF
DongFeng
FAW
Foton
HOWO
Hyundai
IVECO
JAC Motors
LGMG
MAN
Shaanxi
SITRAK
Studebaker
Tata
Volvo
Автокомпонент Плюс
БелАЗ
Брянский Арсенал
ГАЗ
ЗИЛ
КАЗ
Камский автозавод
КрАЗ
Мадара
МАЗ
МЗКТ
МоАЗ
Нефтекамский автозавод
Ставропольский Завод АвтоПрицепов
ТАТРА
Тонар
УралАЗ
ЧМЗАП
Модель
Не выбрано
DeLONG Е-3 (самосвал) (2008)
DeLONG Е-3 (тягач) (2008)
MAN-F2000 (SX3254JS384) (2008)
Shacman F2000 (2013)
Shacman F3000 (2013)
Shacman SX3255DR385 (2011)
Shacman SX3256DR384 (F3000) (2015)
Shacman SX3256DT384 (2011)
Shacman SX3258DR384—F2000
Shacman SX3316DR366 (F2000) (2011)
Shacman SX3316DT366 (2011)
Shacman SX3316DT426C
Shacman SX3316HT406C
Shacman SX4255DV385 (2011)
Shacman SX4256NT324
Shacman SX42584V324
Shacman SX42584V384TL
Shacman SX5256GJBMR364 (2018)
Shacman SX5318GJBDT386TL
SX-3255-DR 3804B 6х4
Схема
>
Не выбрано
High Roofcab Welding assy
Left Fender
Right Fender
Front Cover
Dashboard (10 Interior)
Hand Griper
Tool Box
Tool Box
Door window lifter Left operated
Door window lifter Right operated
Door and Door glass
Door and Door glass
Door covering left
Door covering right
Door arrestor and door acuating system right
Door hinge left and right
Seat
Safety belt
Lower berth
Upper Berth
Ail-round curtain
Transverse curtain
Headlining mounting and grab hadle
Side-wall paneling closed with nounting I
Luggage rack
Floor mats front and anti-skid strip
Sun visor roller
Dashboard panelling
Engine cowling insulation
Noise insulation cab
Front windshield glass assembly
Wiper system
Windscreen washer pump and accessories
Rearview mirror
Rearview mirror left bracket
Rearview mirror right bracket
View mirror under the door
Sun visor
Melt-on foil
Sound proofing
Decorative assembly
Decorative assembly
Decorative assembly
Decorative assembly
Decorative assembly
Decorative assembly
MAN7.5 ton drum steering shaft
MAN Housing middle axle
MAN Two-stage deceleration drive axle rear axle axle shell
MAN Two-stage deceleration drive middle axle middle section
MAN Two-stage deceleration drive middle axle middle section
MAN Two-stage deceleration drive in the middle of the rear axle
MAN Two-stage deceleration drive axle wheel side
Air cleaning device (F3000-WP12)
Air cleaning device (F3000-WP12)
Cooler system (F3000-WP12)
Dustproof net
Expansion box system
Preventing circumfluence system
Exhausting and muffler F3000 (WP12 IV 6x4)
Urea supply tank
Engine suspension
Gear box support
Shifting device
Pull diaphragm clutch
Pull clutch control device
Propeller shaft
Front suspension (DC95259690902)
Rear suspension I
Rear suspension II
Front shock absorber
Front stabilizer assy
Rear stabilizer assy
Wheeling System
Steering transmission device
Steering column adjustable
Hydraulic device
Frame assy
Fuel tank assembly 380L
Accelerograph control device
Exhaust brake control
Air compressor outer line
Air tanl fixing (I)
Air compressor outer line
Air dryer, four-loop guard valve, air tank fixing
Dual-circuit brake system (6x4)
Connecting parts, line & nipple joint
Connecting parts, line & nipple joint
Connecting parts, line & nipple joint
Serve brake control device
Parking brake control device
Switch and cigarette lighter
Switch
Commbination switch
Brake light switch
Diagnosis panel
Loudhailer wire
Left, right front wiring
Electronical horn
Air pressure sensor
Combination gauge assy with frame
Switchm radio and cigarette lighter
Exhaust brake switch
Near switch
Electric panel I
Center electric panel II
Electric panel scutcheon
Plug
Center electrical system (Inside the dashboard)
Other cabin wiring
Relay, fuse
Other cabin wiring
Relay, fuse
ABS controller
Other cabin wiring
Relay, fuse
Switch
Other cabin wiring
Relay, fuse
Cab inner electronical device
Pump
Plug key for electric windows lifter switch
Floodlight
Floodlight on rear pannel
Wiring
Chassis electrical appliances-WP12E40-F3000HX-64-Dump truck-integrated urea tank-New cable-Russia
Chassis electrical appliances-WP12E40-F3000HX-64-Dump truck-integrated urea tank-New cable-Russia
Chassis electrical appliances-WP12E40-F3000HX-64-Dump truck-integrated urea tank-New cable-Russia
Chassis electrical appliances-WP12E40-F3000HX-64-Dump truck-integrated urea tank-New cable-Russia
Chassis electrical appliances-WP12E40-F3000HX-64-Dump truck-integrated urea tank-New cable-Russia
Chassis electrical appliances-WP12E40-F3000HX-64-Dump truck-integrated urea tank-New cable-Russia
Chassis electrical appliances-cold zone
Valve
Chassis appliances
Chassis electrical appliances/WP10/Cold zone
Valve
Chassis electrical appliances/cold zone
Chassis electrical appliances/cold zone
Chassis appliances/Accessories/K38/B38/WABCO 6ABS/New
Chassis electrical appliances/cold zone
Battery box mounting
Battery box
Main battery switch
Headlamps
Foglights
Flashers in bumper
High position lights
Side-marker lights
Taillight bracket/universal/F3000
Air system
Air system
Air intake box on cab
Air duct
Air condition pipes
Heater device (with air condition)
Heater device (with air condition), (Suitable for WP10, WP12, WD12 engines)
Temperature sensor
Air condition controller
Electronic control units for air conditioning
Cab tilting mechanism l.h. drive vehicle
Front bearing spring
Cab locking device
Cab hydraulic tilting equipment
Left-right fender bracket
Fender left behind cab
Fender right behind cab
Foot panel bracket
Left door step
Right door step
Bumper and front bracket
Rear anti-drilling protection frame
Cab vehicle type letters
Cab decoration signs and reflective signs
Fram forepart accessory
Draw gear
Parking wedge
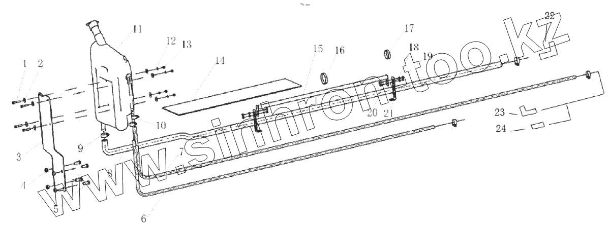
1
2
3
3
4
5
6
7
8
9
10
11
12
13
14
15
16
17
18
19
20
21
22
23
24
Позиция на иллюстрации
Заводской номер детали
Название детали
1
Q150B0840
Болт
2
Q40208
Шайба
3
DZ9114530361
Кронштейн расширительного бачка
3
DZ9114530362
Кронштейн расширительного бачка
4
Q33212
Гайка
5
Q150B1230TF2
Болт
6
199100530125
Hose
7
199114530428
Шланг
8
DZ9112530410
Hose
9
190003989301
Clip
10
190003989300
Хомут
11
DZ9114530260
Расширительный бачок в сборе
12
Q40308
Шайба пружинная
13
Q340B08
Гайка
14
DZ9112360041
Protecting jacket
15
DZ95259534009
Bracket assembly
16
190003171356
Лента крепления
17
190003171697
Хомут
18
Q40106
Шайба 8х16х2-SТ-А3С
19
Q33206
Шайба стопорная
20
Q150B0620
Hex.screw
21
159000360205
Хомут
22
DZ9112530260
Connect
23
DZ9112530250
Connect
24
2300-1303016
connect
Содержащиеся в справочниках-каталогах запасные части и детали не предлагаются к продаже, а носят исключительно информационный характер
Дополнительная информация
×
Название:
Номер:
Примечание: