Вернуться на главную
Поиск
Каталоги запчастей к технике
Грузовые автомобили и прицепы
Shaanxi
Shacman SX3256DR384 (F3000)
CENTER ELECTRIC PANEL II
Каталог запасных частей к технике: Shaanxi Shacman SX3256DR384 (F3000). CENTER ELECTRIC PANEL II
zoom-in
zoom-out
enlarge
shrink
circle-right
circle-left
file-text2
info
cart
Тип техники
Не выбрано
Легковые автомобили
Грузовые автомобили и прицепы
Автобусы
Сельхозтехника
Спецтехника
Двигатели
Мототехника
Марка
Не выбрано
BAW
DAF
DongFeng
FAW
Foton
HOWO
Hyundai
IVECO
JAC Motors
LGMG
MAN
Shaanxi
SITRAK
Studebaker
Tata
Volvo
Автокомпонент Плюс
БелАЗ
Брянский Арсенал
ГАЗ
ЗИЛ
КАЗ
Камский автозавод
КрАЗ
Мадара
МАЗ
МЗКТ
МоАЗ
Нефтекамский автозавод
Ставропольский Завод АвтоПрицепов
ТАТРА
Тонар
УралАЗ
ЧМЗАП
Модель
Не выбрано
DeLONG Е-3 (самосвал) (2008)
DeLONG Е-3 (тягач) (2008)
MAN-F2000 (SX3254JS384) (2008)
Shacman F2000 (2013)
Shacman F3000 (2013)
Shacman SX3255DR385 (2011)
Shacman SX3256DR384 (F3000) (2015)
Shacman SX3256DT384 (2011)
Shacman SX3258DR384—F2000
Shacman SX3316DR366 (F2000) (2011)
Shacman SX3316DT366 (2011)
Shacman SX3316DT426C
Shacman SX3316HT406C
Shacman SX4255DV385 (2011)
Shacman SX4256NT324
Shacman SX42584V324
Shacman SX42584V384TL
Shacman SX5256GJBMR364 (2018)
Shacman SX5318GJBDT386TL
SX-3255-DR 3804B 6х4
Схема
>
Не выбрано
HALF HIGH ROOF CAB WELDING ASSY
LEFT FENDER
RIGHT FENDER
FRONT COVER
DASHBOARD
TOOL BOX
DOOR WINDOW LIFTER LEFT OPERATED
DOOR WINDOW LIFTER RIGHT OPERATED
DOOR AND DOOR GLASS
DOOR AND DOOR GLASS
DOOR COVERING LEFT
DOOR COVERING RIGHT
DOOR ARRESTOR AND DOOR ACUATING SYSTEM RIGHT
DOOR HINGE LEFT AND RIGHT
SEAT
SAFETY BELT
LOWER BERTH
UPPER BERTH
AIL-ROUND CURTAIN
TRANSVERSE CURTAIN
HEADLINING WITH MOUNTING AND GRAB HANDLE
SIDE-WALL PANELING CLOSED WITH NOUNTING I
LUGGAGE RACK
FLOOR MATS FRONT AND ANTI-SKID STRIP
SUN VISOR ROLLER
DASHBOARD PANELLING
ENGINE COWLING INSULATION
NOISE INSULATION CAB
FRONT WINDSHIELD ASSEMBLY
WIPER SYSTEM
WINDSCREEN WASHER PUMP AND ACCESSORIES
REAR VIEW MIRROR LEFT BRACKET
REAR VIEW MIRROR RIGHT BRACKET
LOWER VIEW MIRROR ELECTRIC HEATABLE ADJUSTABLE
SUN VISOR
MELT-ON FOIL
SOUND PROOFING
DECORATIVE ASSEMBLY
DECORATIVE ASSEMBLY
DECORATIVE ASSEMBLY
DECORATIVE ASSEMBLY
DECORATIVE ASSEMBLY
DECORATIVE ASSEMBLY
MAN7.5 TON DRUM STEERING SHAFT
HOUSING MIDDLE AXLE
MAN DOUBLE-STAGE REDUCTION DRIVE AXLE REAR AXLE AXLE HOUSING (STR SUSPENSION)
MAN DOUBLE-STAGE DECELERATION DRIVE MIDDLE BRIDGE
MAN DOUBLE-STAGE DECELERATION DRIVE REAR AXLE MIDDLE SECTION
MAN DOUBLE-STAGE REDUCTION DRIVE AXLE WHEEL
AIR CLEANING DEVICE (WP10)
COOLER SYSTEM (F3000/WP10)
DUSTPROOF NET
EXPANSION BOX SYSTEM
UNDER POLE
EXHAUSTING AND MUFFLER
UREA SUPPLY TANK
ENGINE SUSPENSION
GEAR BOX SUPPORT
HIFTING DEVECE
PULL DIAPHRAGM CLUTCH
PULL CLUTCH CONTROL DEVICE
PROPELLER SHAFT
FRONT SUSPENSION (DC95259690902)
(DC95319520801) REAR SUSPENSION I
(DC95319520801) REAR SUSPENSION II
FRONT SHOCK ABSORBER
FRONT STABILIZER ASSY
REAR STABILIZER ASSY
WHEELING SYSTEM
STEERING TRANSMISSION DEVIC
STEERING COLUMN ADJUSTABLE
STEERING HYDRAULIC DEVICE
FRAM ASSY
FRAM ASSISTANT CROSS MEMBER
FUEL TANK ASSEMBLY 380L
ACCELEROGRAPH CONTROL DEVICE
EXHAUST BRAKE CONTROL
AIR COMPESSOR OUTER LINE
AIR TANK FIXING (I)
AIR COMPESSOR OUTER LINE
AIR DRYER,FOUR-LOOP GUARD VALVE,AIR TANK FIXING
DOUBLE CIRCUIT BRAKE SYSTEM (6x4)
CONNECTING PARTS,LINE & NIPPLE JOINT
CONNECTING PARTS,LINE & NIPPLE JOINT
CONNECTING PARTS,LINE & NIPPLE JOINT
SERVE BRAKE CONTROL DEVICE
PARKING BRAKE CONTROL DEVICE
CONNECTING PARTS,LINE & NIPPLE JOINT
CONNECTING PARTS,LINE & NIPPLE JOINT
CONNECTING PARTS,LINE & NIPPLE JOINT
SWITCH, RADIO AND CIGARETTE LIGHTER
SWITCH
COMMBINATION SWITCH
BRAKE SWITCH
RELAY, FUSE
DIAGNOSTIC INTERFACE DEVICE BOARD
RADIO LOUDHAILER TRANSFORMER WIRE
VARIOMETER
REAR LIGHT
LOOMS ON CAB OUTER
COMBINATION GAUGE ASSY WITH FRAME
SWITCH, RADIO AND CIGARETTE LIGHTER
EXHAUST BRAKE SWITCH
NEAR SWITCH
ELECTRIC PANEL I
CENTER ELECTRIC PANEL II
ELECTRIC PANEL SCUTCHEON
PLUG
CENTRAL ELECTRICAL SYSTEM
SWITCH
WIRING
OTHER CABIN WIRING
RELAY, FUSE
OTHER CABIN WIRING
RELAY, FUSE
ABS CONTROLLER
OTHER CABIN WIRING
RELAY, FUSE
SWITCH
OTHER CABIN WIRING
RELAY, FUSE
DOOR LAMP SWITCH
PUMP
PLUG KEY FOR ELECTRIC WINDOW LIFTER SWITCH
FLOODLIGHT
FLOODLIGHT ON REAR PANNEL
WIRING
CHASSIS APPLIANCE / WPE40 / COLD ZONE
CHASSIS APPLIANCE / WPE40 / COLD ZONE
CHASSIS APPLIANCE / WPE40
CHASSIS APPLIANCE / WPE40
CHASSIS APPLIANCE / WPE40
CHASSIS APPLIANCE / COLD AREA
VALVE
CHASSIS APPLIANCE
CHASSIS APPLIANCE / WP10 / COLD ZONE
VALVE
CHASSIS APPLIANCE / COLD AREA
CHASSIS APPLIANCE / COLD AREA
CHASSIS APPLIANCES / ADDITIONAL / K38 / B38 / WABCO 6ABS / NEW
CHASSIS APPLIANCE / COLD AREA
BATTERY BOX MOUNTING
BATTERY BOX
MAIN BATTERY SWITCH
HEADLAMPS
FLASHERS IN BUMPER
SUNSHADE LUMINAIRE
SIDE-MARKER LIGHTS
TAILLIGHT BRACKET / UNIVERSAL / F3000
AIR SYSTEM
AIR SYSTEM
AIR INTAKE BOX ON CAB
AIR DUCT
AIR CONDITION PIPES
HEATER DEVICE (WITH AIR CONDITION)
HEATER DEVICE (WITH AIR CONDITION) (WP10, WP12, WD12)
TEMPERATURE SENSOR
AIR CONDITION CONTROLLER
ELECTRONIC CONTROL UNITS FOR AIR CONDITIONING
CAB TILTING MECHANISM L.H. DRIVE VEHICLE
SPRING
CAB LOCKING DEVICE
CAB HYDRAULIC TILTING EQUIPMENT
LEFT/RIGHT FENDER BRACKET
FENDER LEFT BEHIND CAB
FENDER RIGHT BEHIND CAB
LEFT FOOT PANEL BRACKET
RIGHT FOOT PANEL BRACKET
LEFT DOOR STEP
RIGHT DOOR STEP
BUMPER AND FRONT BRACKET
REAR ANTI-DRILL PROTECTION FRAME
FRAM FOREPART ACCESSORY
DRAW GEAR
CAB VEHICLE TYPE LETTERS
CAB DECORATIVE SIGNAGE AND REFLECTIVE LOGO
PARKING WEDGE
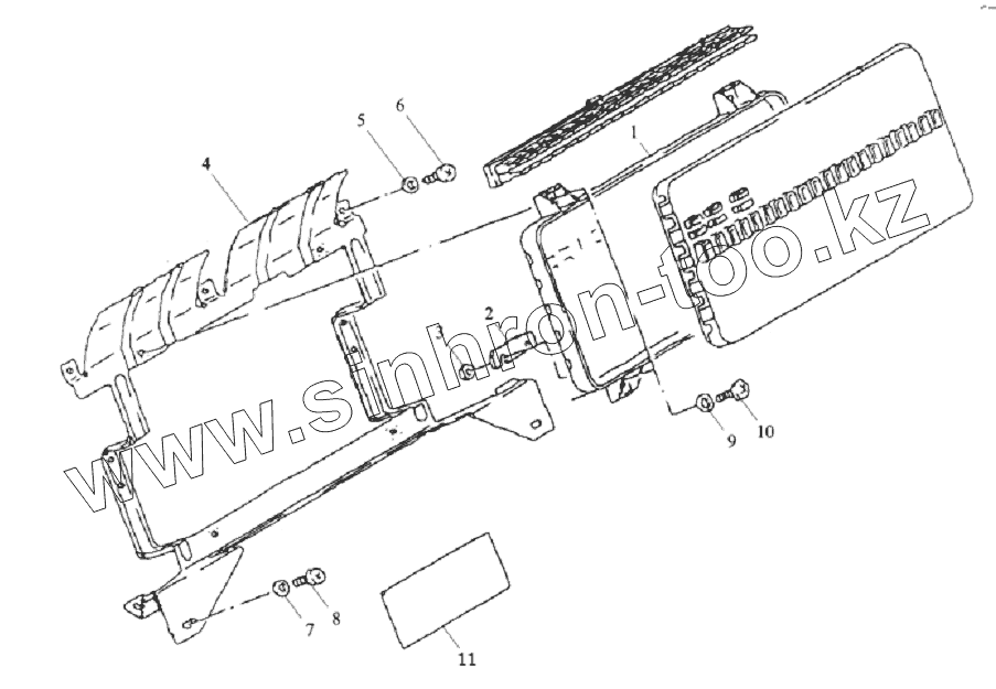
1
2
3
4
5
6
7
8
9
10
11
Позиция на иллюстрации
Заводской номер детали
Название детали
Q40305
Q40305
Шайба пружинная
DZ95189583650
DZ95189583650
Screw
06.13189.0099
06.13189.0099
Пластина-фиксатор SТ4,8-2-МАN183-В1
1
81.25444.6060
Панель
2
81.25908.0010
Соединительная пластина
3
Q340B05
Гайка
4
DZ95189583640
Bracket Assembly Flat washer
5
Q40106
Шайба 8х16х2-SТ-А3С
6
Q2714813
Screw
7
Q40206
Шайба
8
Q2140616
Болт
9
Q40206
Шайба
10
Q2540820
Винт
11
81.61460.2036
Защитная пластина
Содержащиеся в справочниках-каталогах запасные части и детали не предлагаются к продаже, а носят исключительно информационный характер
Дополнительная информация
×
Название:
Номер:
Примечание: