Вернуться на главную
Поиск
Каталоги запчастей к технике
Грузовые автомобили и прицепы
Shaanxi
MAN-F2000 (SX3254JS384)
Головка цилиндра
Каталог запасных частей к технике: Shaanxi MAN-F2000 (SX3254JS384). Головка цилиндра
zoom-in
zoom-out
enlarge
shrink
circle-right
circle-left
file-text2
info
cart
Тип техники
Не выбрано
Легковые автомобили
Грузовые автомобили и прицепы
Автобусы
Сельхозтехника
Спецтехника
Двигатели
Мототехника
Марка
Не выбрано
BAW
DAF
DongFeng
FAW
Foton
HOWO
Hyundai
IVECO
JAC Motors
LGMG
MAN
Shaanxi
SITRAK
Studebaker
Tata
Volvo
Автокомпонент Плюс
БелАЗ
Брянский Арсенал
ГАЗ
ЗИЛ
КАЗ
Камский автозавод
КрАЗ
Мадара
МАЗ
МЗКТ
МоАЗ
Нефтекамский автозавод
Ставропольский Завод АвтоПрицепов
ТАТРА
Тонар
УралАЗ
ЧМЗАП
Модель
Не выбрано
DeLONG Е-3 (самосвал) (2008)
DeLONG Е-3 (тягач) (2008)
MAN-F2000 (SX3254JS384) (2008)
Shacman F2000 (2013)
Shacman F3000 (2013)
Shacman SX3255DR385 (2011)
Shacman SX3256DR384 (F3000) (2015)
Shacman SX3256DT384 (2011)
Shacman SX3258DR384—F2000
Shacman SX3316DR366 (F2000) (2011)
Shacman SX3316DT366 (2011)
Shacman SX3316DT426C
Shacman SX3316HT406C
Shacman SX4255DV385 (2011)
Shacman SX4256NT324
Shacman SX42584V324
Shacman SX42584V384TL
Shacman SX5256GJBMR364 (2018)
Shacman SX5318GJBDT386TL
SX-3255-DR 3804B 6х4
Схема
>
Не выбрано
Блок цилиндров
Блок цилиндров
Блок цилиндров
Блок цилиндров
Коленчатый вал
Шатун и поршень
Головка цилиндра
Газораспределительный механизм
Водянная помпа и гидромуфта ветилятора
Водянная помпа в сборе
Шкиф натяжной в сборе
Маслянный насос и маслянный фильтр
Маслянный насос и маслянный фильтр
Топливный насос высокого давления
Шланг высокого давления топливного насоса
Топливопроводы
Привод ТНВД в сборе
Электрооборудование
Электрофакельное устройство
Впускной и выпускной коллектор
Впускной и выпускной коллектор
Воздушный компрессор
Поддон двигателя
M3400-1002000 CYLiNDER BLOCK
M3000-1003000A CYLiNDER HEAD AND CYLiNDER HEAD CAP
M3400-1004000 PiSTON AND CONNECTiNG ROD
M3400-1005000 CRANKSHAFT AND FLYWHEEL
M3400-1006000 CAMSHAFT
M3000-1007000 TiMiNG VALVE UNiT
M3400-1008100 AiR iNLET PiPE
M3400-1008200 AiR EXHAUST PiPE
M3400-1009000 OiL PAN
M3400-1010000A OiL STRAiNER
M3400-1011000 OiL PUMP
M3000-1012000 FiNE OiL FiLTER
M3400-1013000 OiL COOLER
M3400-1104000 SUPPLY SYSTEM PiPE ASSY
M3000-1105000 FUEL FiLTER
M3400-1111000 iNJECTiON PUMP
M3400-1112000 NOZZLE
M3400-1118000 TURBO CHAGER ASSY
M3400-1303000 RADiATOR AND RADiATOR HOSE ASSY
6105Q-1305100 iNLET WATER VALVE
M3400-1306000 THERMOSTAS ASSY
M3400-1307000 WATER PUMP ASSY
M3400-1600000 CLUTCH ASSY
M3400-3407000 HUDRAULiC PUMP
M3400-3509000 AiR BRAKE AiR COMPRESSOR
M3400-3701000A AC ALTERNATOR
G7600-3708000 STARTER
Радиатор кондиционера
Радиатор системы охлаждения
Интеркуллер
Топливный бак и топливопроводы
430L Алюминиевый бак
Воздушный фильтр в сборе и воздухозаборник
Воздушный фильтр
Система регулирования подачи топлива
Механизм управления акселератором
Система выпуска газов
Система выпуска газов
Подвеска двигателя (Евро II)
Подвеска двигателя (Двигатель YC)
Сцепление в сборе
Диаффрагма сцепления
Механизм привода сцепления
Клапан управления механизма сцепления
Кожух сцепления, муфта сцепления и кожух коробки передач
Первичный вал коробки передач и шестерня
Вторичный вал коробки передачи в сборе
Промежуточный вал коробки передачи
Вал передачи заднего хода
Механизм переключения передач
Привод управления механизмом переключения передач
Шестерня привода делителя
Вал делителя коробки передач
Левый и правый вал делителя
Задняя крышка в сборе
Сервоуселитель в сборе
Тормоз среднего вала в сборе
Регулятор воздушного фильтра в сборе
Подвеска коробки передач
Механизм переключения передач
Валы карданные в сборе
Валы карданныы
Валы карданные
Вал кардана в сборе
Валы кардана в сборе
Валы кардана в сборе
Валы кардана в сборе
Валы кардана в сборе
Валы кардана в сборе
Промежуточная опора карданого вала
Задняя опора карданого вала
Задняя опора карданого вала
Передняя ось
Передняя ось
Кулак поворотный в сборе
Двухосное управление
Кулак поворотный двухосный
Кожух среднего моста
Средний мост в сборе
Средний мост
Средний мост
Кожух заднего моста
Дифференциал заднего моста
Бортовой редуктор заднего моста
Бортовой редуктор заднего моста
Задний тормоз в сборе заднего колеса
Ось промежуточная
Задний тормоз с ABS и полуось одноосного автомобиля
Редуктор заднего моста одноосного автомобиля
Балка заднего моста одноосного автомобиля
Тормозной механизм
Ручной стояночный тормоз
Передний тормоз в сборе
Передний тормоз в сборе для вездеходов
Тормоз среднего моста
Механизм тормоза среднего моста
Тормоз заднего моста
Тормоз заднего моста
Схема тормозной системы для бортовых автомобилей 4x2 и 6x2
Схема тормозной системы для тягачей 4x2 и 6x2
Схема тормозной системы для бортовых автомобилей 64
Схема тормозной системы для тягачей 6x4
Схема тормозной системы для бортовых автомобилей 8x4
Система ABS для грузовиков (4x2)
Система ABS для грузовиков (6x4)
Пневмопроводы воздушного компрессора
Контроль тормозного привода
Воздушный сигнал
Контур стояночного тормоза
Воздушная линия блокировки дифферинциала
Контрольная воздушная линия блокировки дифферинциала
Контрольная воздушная линия блокировки дифферинциала двухосного автомобиля
Соединение трубок (A)
Соединение трубок (B)
Соединение трубок (A)
Соединение трубок (B)
Соединение трубок (C)
Соединение трубок (L)
Четырехпроводный защитный клапан
Влагоотделитель
Баллон
Ускорительный клапан
Передняя тормозная камера
Камера тормозная с пружинным энергоаккумулятором
Клапан управления тормозами прицепа
Клапан тормозной
Кронштейны для тормоза
QH50-4211010 Коробка отбора мощности
QH50-4211010 Коробка отбора мощности
QH50-4211010 Коробка отбора мощности в сборе
QF60-4211010 Коробка отбора мощности
QF60-4211010 Коробка отбора мощности
QF60 Коробка отбора мощности
QH70-4211010 Задняя коробка отбора мощности
QH70-4211010 Задняя коробка отбора мощности
QH70-4211010 Задняя коробка отбора мощности
1
2
3
4
5
6
7
8
9
10
11
11
11
11
12
13
14
15
15
16
16
16
17
18
23
24
25
26
26
27
28
29
30
31
32
33
33
33
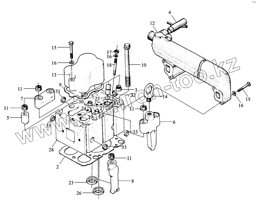
Позиция на иллюстрации
Заводской номер детали
Название детали
1
61500040058
Головка цилиндра в сборе
2
61500040049
Прокладка
3
61560040032
Маслоотражательный колпачек
4
61500040045
Соединительная трубка
5
61200040023
Втулка прижимная
6
61500040012
Кронштейн
7
61500040009
Блок прижимной
8
61200040027
Кронштейн
9
61560040039
Прокладка клапанной крышки
10
61500040023
Болт основной
11
61200040034
Гайка прижимная
12
61500040102
Выходное водное отверстие
13
614040065
Кожух головки
14
614010388
Винт
15
90003800466
Болт М8х60 D00931
16
90003932023
Шайба пружинная В8 D00137
17
90003871252
Гайка
18
90003813471
Шпилька
23
61560040057
Седло впускного клапана
24
61560040051
Направляющая втулка
25
406060010
Уплотнительное кольцо
26
614040023
Седло клапана
26
81560040037
Седло выпускного клапана
27
61560040049
Втулка масляного впрыска
28
61500040040
Головка цилиндра
29
61500040014
Втулка клапана
30
90003989277
Заглушка чашеобразная 12/8 N05564
31
90003989721
Заглушка чашеобразная 22/8 N05564
32
90003989725
Заглушка чашеобразная 25/8 N05564
33
90003989294
Заглушка чашеобразная 30/8 N05564
Содержащиеся в справочниках-каталогах запасные части и детали не предлагаются к продаже, а носят исключительно информационный характер
Дополнительная информация
×
Название:
Номер:
Примечание: