Вернуться на главную
Поиск
Каталоги запчастей к технике
Грузовые автомобили и прицепы
Shaanxi
DeLONG Е-3 (тягач)
Облицовочная панель правой двери
Каталог запасных частей к технике: Shaanxi DeLONG Е-3 (тягач). Облицовочная панель правой двери
zoom-in
zoom-out
enlarge
shrink
circle-right
circle-left
file-text2
info
cart
Тип техники
Не выбрано
Легковые автомобили
Грузовые автомобили и прицепы
Автобусы
Сельхозтехника
Спецтехника
Двигатели
Мототехника
Марка
Не выбрано
BAW
DAF
DongFeng
FAW
Foton
HOWO
Hyundai
IVECO
JAC Motors
LGMG
MAN
Shaanxi
SITRAK
Studebaker
Tata
Volvo
Автокомпонент Плюс
БелАЗ
Брянский Арсенал
ГАЗ
ЗИЛ
КАЗ
Камский автозавод
КрАЗ
Мадара
МАЗ
МЗКТ
МоАЗ
Нефтекамский автозавод
Ставропольский Завод АвтоПрицепов
ТАТРА
Тонар
УралАЗ
ЧМЗАП
Модель
Не выбрано
DeLONG Е-3 (самосвал) (2008)
DeLONG Е-3 (тягач) (2008)
MAN-F2000 (SX3254JS384) (2008)
Shacman F2000 (2013)
Shacman F3000 (2013)
Shacman SX3255DR385 (2011)
Shacman SX3256DR384 (F3000) (2015)
Shacman SX3256DT384 (2011)
Shacman SX3258DR384—F2000
Shacman SX3316DR366 (F2000) (2011)
Shacman SX3316DT366 (2011)
Shacman SX3316DT426C
Shacman SX3316HT406C
Shacman SX4255DV385 (2011)
Shacman SX4256NT324
Shacman SX42584V324
Shacman SX42584V384TL
Shacman SX5256GJBMR364 (2018)
Shacman SX5318GJBDT386TL
SX-3255-DR 3804B 6х4
Схема
>
Не выбрано
Кронштейны крыла левого/правого
Кронштейн подножки
Рабочая площадка
Задний кронштейн крыла
Высокая кабина сваривая в сборе
Высокая кабина сваривая в сборе
Компоновка кабины
Крыша высокой кабины в сборе
Электроподъемник люка
Ручной люк
Панель приборов
Кожух кабеля
Заглушка передней панели
Радиаторная решетка и вакуумный индикатор воздухофильтра
Стеклоочиститель
Кронштейн стеклоочистителя
Водонасос стеклоочистителя и его принадлежности
Лобовое стекло
Панель приборов
Крепление диагностической системы
Крышка правая вспомогательной электросистемы
Изоляция капота двигателя с кронштейном
Пол и капот двигателя
Покрытие пола и противозаносная лента
Половик
Звукоизоляционная панель
Врутреняя облицовка с кронштейном и ручкой
Боковая панель уплотнительная с кронштейном
Боковая панель уплотнительная с кронштейном
Боковина кабины
Задняя уплотнительная панель
Задняя уплотнительная панель
Крепление спального места
Крепление нижнего спального места
Спальное место нижнее
Спальное место верхнее
Панель задняя
Крышка сиденья
Сиденье левое
Сиденье правое
Ограничитель и механизм левой двери
Ограничитель и механизм правой двери
Шарниры левой и правой двери
Стеклоподъёмник ручной
Электростеклоподъёмник левой двери
Электростеклоподъёмник правой двери
Элементы левой двери
Элементы правой двери
Окно левой двери
Окно правой двери
Облицовочная панель левой двери
Облицовочная панель правой двери
Форточка левой двери
Форточка правой двери
Кронштейн пола
Крепление кронштейна пола
Механизм подъема кабины
Элементы передней подвески
Механизм законтривания кабины
Гидравлический механизм подъема кабины
Крыло левое
Крыло правое
Заднее крыло кабины левое
Заднее крыло кабины правое
Подножка левой двери
Подножка правой двери
Крышка защитная заднего брызговика
Ручка задней панели кабины
Облицовочная панель передняя боковая
Солнцезащитная занавеска
Окружающая шторка и крепление
Шторки
Багажник
Солнцезащитный козырек
Зеркало нижнего вида правое с подогревом
Зеркало заднего вида с подогревом
Зеркало заднего вида широкое правое с подогревом
Крепление зеркала заднего вида левое
Крепление зеркала заднего вида правое
Задние панели высокой кабины
Эмблемы
Ящик инструментов
Кронштейн домкрата
Буфер и связывающая упорка
Блок цилиндров
Маховик коленчатого вала
Шатун и поршень
Головка цилиндра в сборе
Воздухораспределительный механизм
Шестерёнчатый привод
Ременный привод
Система питания
Форсунка
Выхлопная система
Впускная система
Подвеска двигателя
Воздушный фильтр
Охлаждающая система (тягач)
Расширительный бачок
Газоотвод и глушитель
Механизм управления акселератором
Топливный бак 400 л. в сборе
Диафрагменное сцепление стяжное диаметр 430
Механизм привода сцепления стяжного
Клапан управления механизмом сцепления
Карданный вал в сборе
Карданный вал в сборе
Карданный вал в сборе
Карданный вал
Карданный вал
Корпус КПП 12JS180TA в сборе
Первичный вал в сборе
Корпус сцепления
Задняя крышка в сборе
Сервоусилитель в сборе
Крышка заднего подшипника в сборе
Сваренный удлиненный вал в сборе
Регулятор воздушного фильтра и пробка в сборе
Соединитель спидометра
Вторичный вал в сборе
Промежуточный вал в сборе
Борткольцо промежуточного вала в сборе
Промежуточный вал задней передачи в сборе
Подшипник вторичного вала
Верхняя крышка в сборе
Механизм управления в сборе
Клапан одинарный в сборе
Направляющая задней передачи в сборе
Механизм управления перемен передач
Вспомогательный держатель
Рама в сборе
Рама в сборе
Передняя подвеска (4х2 6х4)
Передняя подвеска (8х4)
Задняя подвеска (4х2)
Балансирная подвеска
Балансирная подвеска
Передний стабилизатор в сборе (6х4 4х2)
Передний стабилизатор в сборе (8х4)
Задний стабилизатор (4х2)
Задний стабилизатор (6х2)
Задний амортизатор
Амортизатор гаризонтальный (8х4)
Штанга реактивная верхняя
Штанга реактивная нижняя
Передняя рессора
Задняя рессора (4х2 6х2)
Передний мост
Поперечная рулевая тяга
Корпус среднего моста
Привод среднего моста
Привод среднего моста
Привод среднего моста
Корпус заднего моста
Привод заднего моста
Планетарный редуктор заднего моста
Планетарный редуктор заднего моста
Рулевая колонка
Гидравлическое устройство
Двухстороннее устройство
Двухстороннее гидравлическое устройство
Бачок в сборе
Гидронасос в сборе
Механизм управления рабочего тормоза
Механизм управления стояночного тормоза
Передний тормоз в сборе
Передний тормоз в сборе
Тормоз среднего моста
Тормоз среднего моста
Тормоз заднего моста
Тормоз заднего моста
Схема тормозной системы для бортовых автомобилей 4х2
Схема тормозной системы для тягача 4х2
Схема тормозной системы для тягача 6х4
Схема тормозной системы для тягача 6х4
Система AБС для автомобиля 4х2
Система AБС для автомобиля 6х4
Пневмопровода воздушного компрессора
Влагоотделитель, четырехконтурный предохранительный клапан, баллоны
Пневмопривод моторного тормоза
Воздушный сигнал
Трубопровода прицепа
Пневмопровода межколесной блокировки
Пневмопровода межосевой блокировки
Пневмопровода двухосной межколесной блокировки
Фитинги и штуцеры
Фитинги и штуцеры
Фитинги и штуцеры
Трубные штуцеры
Трубные штуцеры
Баллоны
Баллоны
Баллоны
Комплекс приборов в сборе
Лампочки индикаторные
Электронный спидометр
Электронный тахометр
Переключатель и прикуриватель
Переключатели
Система управления кондиционера
Отопитель и система управления
Воздухозаборное устройство для кабины
Воздухопровод
Отопительное оборудование (без кондиционера)
Трубопровода кондиционера
Емкость кондиционерной жидкости
Подрулевой переключатель и замок руля
Выключатель сцепления и выключатель тормозного света
Кнопка (моторное торможение)
Блок предохранителей и реле
Блок предохранителей и реле
Переключатель электростеклоподъемника (на выбор)
Элементы управления АБС
Жгуты магнитолы
Передние фары и лампочки поворота в сборе
Передние противотуманные фары
Указатель поворота на бампере
Электросигнал и электрооборудование на раме
Бокс распределения, зуммер заднего хода и розетка для прицепа
Задние фонари и кронштейн фонаря
Задние фонари с одноблочным брызговиком
Розетка АБС
Датчик системы АБС
Электромагнитный клапан системы АБС
Боковой указатель
Верхний лампы (на крыше высокой кабины)
Лампа внутренняя в кабине (низкая кабина)
Фонарь заднего освещения кабины
Рамка фонарей заднего освещения
Ящик аккумуляторных батарей
Жгут проводов
Жгуты внутри панели приборов
Жгут электростеклоподъемник
Жгут проводов предупреждающой лампы
Жгуты в потолке
Кабель спидометра
Жгут кондиционера
Жгуты левой и правой передней части
Установка седла
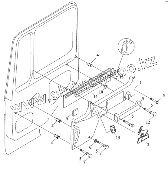
1
2
3
4
4
4
5
5
5
5
5
6
7
7
8
9
10
12
13
14
14
15
Позиция на иллюстрации
Заводской номер детали
Название детали
1
81.62630.6020
Облицовочная панель правой двери в сборе
2
81.62641.0100
Ручка правой двери
3
81.97610.0288
Пружина
4
81.90685.0374
Клипса
5
06.07159.0008
Винт 4,8х25
6
06.15190.0306
Шайба 5,3х15х1,2-140НV-МАN183-В1
7
81.96002.0414
Пробка
8
81.98702.0006
Прокладка
9
81.62641.0101
Ручка внутренняя
10
06.13189.0056
Пластина-фиксатор М6-16х24х4,0-С45-ZN
11
06.04201.2607
Винт М6х16-4,8-Н-Н31
12
81.96002.0414
Пробка
13
81.62651.0049
Уплотнитель
14
81.62630.2276
Облицовочная пластина
14
81.62630.2258
Пластина левая
15
81.61446.0037
Крышка
Содержащиеся в справочниках-каталогах запасные части и детали не предлагаются к продаже, а носят исключительно информационный характер
Дополнительная информация
×
Название:
Номер:
Примечание: