Вернуться на главную
Поиск
Каталоги запчастей к технике
Грузовые автомобили и прицепы
Shaanxi
DeLONG Е-3 (самосвал)
Указатель поворота на бампере
Каталог запасных частей к технике: Shaanxi DeLONG Е-3 (самосвал). Указатель поворота на бампере
zoom-in
zoom-out
enlarge
shrink
circle-right
circle-left
file-text2
info
cart
Тип техники
Не выбрано
Легковые автомобили
Грузовые автомобили и прицепы
Автобусы
Сельхозтехника
Спецтехника
Двигатели
Мототехника
Марка
Не выбрано
BAW
DAF
DongFeng
FAW
Foton
HOWO
Hyundai
IVECO
JAC Motors
LGMG
MAN
Shaanxi
SITRAK
Studebaker
Tata
Volvo
Автокомпонент Плюс
БелАЗ
Брянский Арсенал
ГАЗ
ЗИЛ
КАЗ
Камский автозавод
КрАЗ
Мадара
МАЗ
МЗКТ
МоАЗ
Нефтекамский автозавод
Ставропольский Завод АвтоПрицепов
ТАТРА
Тонар
УралАЗ
ЧМЗАП
Модель
Не выбрано
DeLONG Е-3 (самосвал) (2008)
DeLONG Е-3 (тягач) (2008)
MAN-F2000 (SX3254JS384) (2008)
Shacman F2000 (2013)
Shacman F3000 (2013)
Shacman SX3255DR385 (2011)
Shacman SX3256DR384 (F3000) (2015)
Shacman SX3256DT384 (2011)
Shacman SX3258DR384—F2000
Shacman SX3316DR366 (F2000) (2011)
Shacman SX3316DT366 (2011)
Shacman SX3316DT426C
Shacman SX3316HT406C
Shacman SX4255DV385 (2011)
Shacman SX4256NT324
Shacman SX42584V324
Shacman SX42584V384TL
Shacman SX5256GJBMR364 (2018)
Shacman SX5318GJBDT386TL
SX-3255-DR 3804B 6х4
Схема
>
Не выбрано
Полувысокая кабина в сборе
Полувысокая кабина сваривания в сборе
Компоновка кабины
Верхняя крышка без окна
Панель приборов
Кожух кабеля
Заглушка передней панели
Радиаторная решетка и вакуумный индикатор воздухофильтра
Стеклоочиститель
Кронштейн стеклоочистителя
Водонасос стеклоочистителя и его принадлежности
Лобовое стекло
Панель приборов
Крепление диагностической системы
Крышка правая вспомогательной электросистемы
Изоляция капота двигателя с кронштейном
Пол и капот двигателя
Покрытие пола и противозаносная лента
Половик
Звукоизоляционная панель
Врутреняя облицовка с кронштейном и ручкой
Боковая панель уплотнительная с кронштейном
Боковая панель уплотнительная с кронштейном
Боковина кабины
Панель задняя верхняя
Задняя уплотнительная панель
Крепление спального места
Крепление нижнего спального места
Спальное место нижнее
Спальное место верхнее
Панель задняя
Крышка сиденья
Сиденье левое
Сиденье правое
Ограничитель и механизм левой двери
Ограничитель и механизм правой двери
Шарниры левой и правой двери
Стеклоподъёмник ручной
Электростеклоподъёмник левой двери
Электростеклоподъёмник правой двери
Элементы левой двери
Элементы правой двери
Окно левой двери
Окно правой двери
Облицовочная панель левой двери
Облицовочная панель правой двери
Форточка левой двери
Форточка правой двери
Кронштейн пола
Крепление кронштейна пола
Механизм подъема кабины
Кронштейн подножки
Элементы передней подвески
Механизм законтривания кабины
Гидравлический механизм подъема кабины
Крыло левое
Крыло правое
Заднее крыло кабины левое
Заднее крыло кабины правое
Подножка левой двери
Подножка правой двери
Крышка защитная заднего брызговика
Ручка задней панели кабины
Облицовочная панель передняя боковая
Солнцезащитная занавеска
Окружающая шторка и крепление
Шторки
Багажник
Солнцезащитный козырек
Зеркало нижнего вида правое с подогревом
Зеркало заднего вида с подогревом
Зеркало заднего вида широкое правое с подогревом
Крепление зеркала заднего вида левое
Крепление зеркала заднего вида правое
Блок цилиндров
Маховик коленчатого вала
Шатун и поршень
Головка цилиндра в сборе
Воздухораспределительный механизм
Шестерёнчатый привод
Ремённый привод
Подвеска двигателя
Воздушный фильтр(F2/WP12)
Система питания
Форсунка
Топливный бак в сборе
Механизм управления акселератором
Система охлаждения
Расширительный бачок
Выхлопная система
Впускная система
Газоотвод и глушитель
Газоотвод и глушитель
Диафрагменное сцепление тяговое
Механизм привода сцепления стяжного
Клапан управления механизмом сцепления
Карданный вал в сборе
Карданный вал в сборе
Карданный вал
Карданный вал
Карданный вал в сборе
Промежуточный вал
Промежуточный вал
Карданный вал
Карданный вал
Карданный вал
Корпус КПП в сборе
Первичный вал в сборе
Корпус сцепления
Задняя крышка в сборе
Сервоусилитель в сборе
Задняя крышка в сборе
Сваренный удлиненный вал в сборе
Регулятор воздушного фильтра и пробка в сборе
Соединитель спидометра
Вторичный вал в сборе
Промежуточный вала в сборе
Отбойник промежуточного вала в сборе
Вал задней передачи
Подшипник вторичного вала в сборе
Крышка верхняя в сборе
Механизм переключения передач
Клапан воздушный в сборе
Блок задней передачи
Механизм переключения передач
Установки вспомогательных подвесок
Подвеска коробки передач
Передний мост
Поперечная рулевая тяга
Двухосное управление рулевым механизмом
Двухосное управление рулевым механизмом
Корпус среднего моста
Привод среднего моста
Привод среднего моста
Привод среднего моста
Корпус заднего моста
Привод заднего моста
Планетарный редуктор заднего моста
Планетарный редуктор заднего моста
Пневмопровода воздушного компрессора
Пневмопровода воздушного компрессора
Рама в сборе
Бампер и кронштейн
Бампер и кронштейн
Передняя подвеска (4x2 и 6x4)
Передняя подвеска (8x4)
Балансирная подвеска
Балансирная подвеска
Передний стабилизатор в сборе (6x4, 4x2)
Передний стабилизатор в сборе (8x4)
Амортизатор гаризонтальный (8x4)
Штанга реактивная верхняя
Штанга реактивная нижняя
Передняя рессора
Кронштейн крыла левого/правого
Рулевая колонка
Гидравлическое устройство
Двухстороннее гидравлическое устройство
Двухстороннее гидравлическое устройство
Бачок в сборе
Гидронасос в сборе
Комплекс приборов в сборе
Лампочки индикаторные
Электронный спидометр
Электронный тахометр
Переключатель и прикуриватель
Переключатели
Система кондиционирования и управления
Переключатели отопления и кондиционирования
Воздухозаборное устройство для кабины
Воздухопровод
Отопительное оборудование (без кондиционера)
Трубопровода кондиционера
Емкость кондиционерной жидкости
Подрулевой переключатель и замок руля
Выключатель сцепления и выключатель тормозного света
Кнопка (моторное торможение)
Блок предохранителей и реле
Блок предохранителей и реле
Переключатель электростеклоподъемника
Блок АБС
Жгуты магнитолы
Передние фары и лампочки поворота в сборе
Передние противотуманные фары
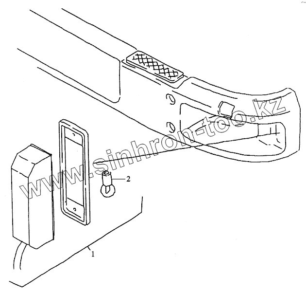
Указатель поворота на бампере
Электросигнал и электрооборудование на раме
Бокс распределения, зуммер заднего хода и розетка для прицепа
Задние фонари и Кронштейн фонаря
Задние фонари с одноблочным брызговиком
Розетка АБС
Датчик системы АБС
Электромагнитный клапан системы АБС
Боковой указатель
Верхний лампы (на крыше высокой кабины)
Внутренняя лампа (в низкой кабине)
Фонарь заднего освещения кабины
Рамка фонарей заднего освещения
Ящик аккумуляторных батарей
Жгут проводов
Жгуты внутри панели приборов
Жгут электростеклоподъемник
Жгуты в потолке
Кабель спидометра
Жгут кондиционера
Жгуты левой и правой передней части
Эмблемы
Кронштейн домкрата
1
2
2
Позиция на иллюстрации
Заводской номер детали
Название детали
1
81.25320.6082
Поворотик
2
81.25901.0075
Лампочки (24В, 21Вт)
2
81.25901.0016
Лампочка
Содержащиеся в справочниках-каталогах запасные части и детали не предлагаются к продаже, а носят исключительно информационный характер
Дополнительная информация
×
Название:
Номер:
Примечание: