Каталог запасных частей к технике: Shaanxi DeLONG Е-3 (самосвал). Система охлаждения
1
2
3
4
5
5
6
6
7
7
8
8
9
10
11
11
12
13
13
14
14
14
15
16
17
18
18
19
20
21
21
21
21
22
22
22
22
23
24
24
25
25
26
27
28
29
30
31
32
33
34
35
36
37
38
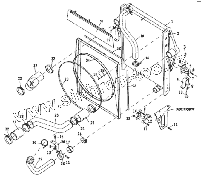
| Позиция на иллюстрации | Заводской номер детали | Название детали | |
|---|---|---|---|
| 1 | DZ95259531501 | Промежуточный радиатор | |
| 2 | DZ95259532202 | Радиатор в сборе | |
| 3 | 06.11240.0411 | Гайка | |
| 4 | 81.06225.6008 | Держатель радиатора в сборе | |
| 5 | Q40308 | Шайба пружинная | |
| 6 | Q150B0816 | Болт | |
| 7 | Q150B1445 | Болт | |
| 8 | Q33214 | Гайка | |
| 9 | DZ95259538860 | Левый держатель радиатора | |
| 10 | DZ95259538870 | Правый держатель радиатора | |
| 11 | DZ9112538040 | Опора в сборе | |
| 12 | Q150B1050 | Hex.screw | |
| 13 | 81.06245.0043 | Опора в сборе | |
| 14 | Q33210 | Гайка | |
| 15 | DZ95259538810 | Правый анкер | |
| 16 | DZ95259538809 | Левый анкер | |
| 17 | Q67683 | Хомут | |
| 18 | DZ95259535402 | Резиновая труба | |
| 19 | DZ9114531011 | Уплотнительная полоса | |
| 20 | Q40208 | Шайба | |
| 21 | Q150B0816TF2 | Болт | |
| 22 | DZ91259538602 | Хомут | |
| 23 | 2300-1315033 | Силикагелевый патрубок | |
| 24 | DZ9003532115 | Хомут | |
| 24 | DZ9003532074 | Хомут | |
| 25 | DZ95259534018 | Впускная труба радиатора | |
| 25 | Q150B1435 | Болт | |
| 26 | DZ93259538062 | Планка | |
| 27 | DZ93259535611 | Резиновая втулка | |
| 28 | DZ93259538606 | Нажим трубы | |
| 29 | DZ95319535812 | Резиновая труба | |
| 30 | DZ9003532087 | Хомут | |
| 31 | DZ9112530115 | Силикагелевый патрубок | |
| 32 | DZ9003532122 | Хомут | |
| 33 | DZ95259535401 | Выпускная труба радиатора | |
| 34 | DZ9112538033 | Диффузор вентилятора в сборе | |
| 35 | DZ95259536010 | Пластина против рециркуляции | |
| 36 | Q40205 | Шайба | |
| 37 | Q340B05 | Гайка | |
| 38 | DZ9114531013 | Уплотнительная полоса |
Содержащиеся в справочниках-каталогах запасные части и детали не предлагаются к продаже, а носят исключительно информационный характер