Каталог запасных частей к технике: Нефтекамский автозавод НефАЗ-9334. Тележка подкатная 9334-08-0001120
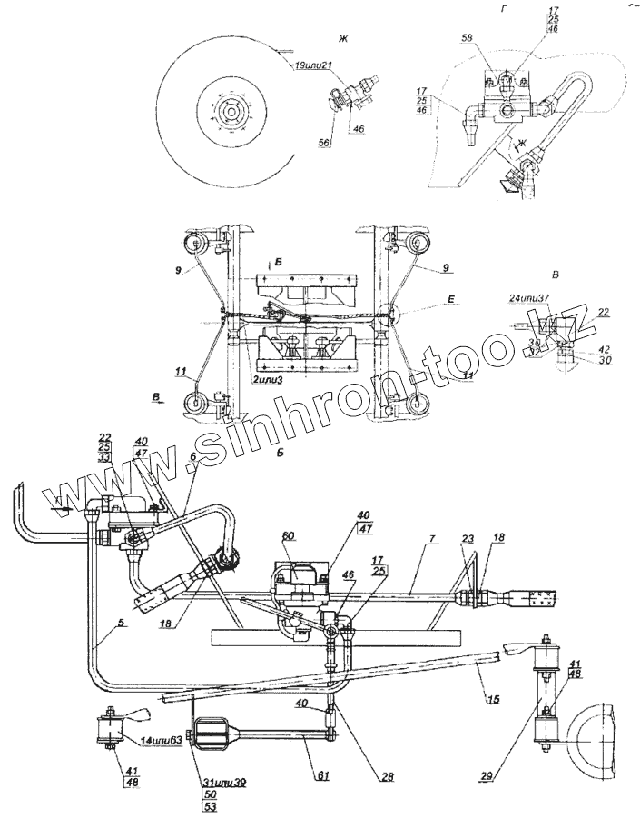
2
3
5
6
7
9
9
11
11
14
15
17
17
17
18
18
19
21
22
22
23
24
25
25
25
25
28
29
30
30
31
32
37
39
41
41
42
46
46
46
46
50
53
56
58
60
61
63
| Позиция на иллюстрации | Заводской номер детали | Название детали | |
|---|---|---|---|
| 1 | 9334-08-2822010 | Тележка | |
| 2 | 96741-3506060 | Шланг | |
| 3 | 5320-3506060 | Шланг гибкий передних тормозов | |
| 5 | 96742-3506270 | Трубка от регулятора к ускорительному клапану | |
| 6 | 96742-3506272 | Трубка от ускорительного клапана к тройнику | |
| 7 | 96742-3506274 | Трубка от ускорительного клапана к штуцеру | |
| 9 | 9334-08-3506300 | Трубка к тормозной камере правая | |
| 11 | 9334-08-3506301 | Трубка к тормозной камере левая | |
| 14 | 96741-3533160 | Компенсатор | |
| 15 | 96741-3533014 | Штанга | |
| 17 | 9674-3500034 | Угольник ввертный | |
| 18 | 96741-3506088 | Гайка | |
| 19 | 5320-3506091 | Тройник фланцевый | |
| 21 | 96741-3506091 | Тройник | |
| 22 | 96741-3522191 | Угольник | |
| 23 | 96741-3506230 | Штуцер | |
| 24 | 96741-3506231 | Переходник | |
| 25 | 96741-3522171 | Переходник | |
| 26 | 96741-3522222 | Тройник | |
| 27 | 96741-3522223 | Штуцер | |
| 28 | 96741-3533033 | Штанга | |
| 29 | 96741-3533165 | Кронштейн | |
| 30 | 96741-3522226 | Прокладка | |
| 31 | 96741-3522228 | Болт | |
| 32 | 96741-3522192 | Переходник | |
| 35 | 864807-П | Тройник фланцевый проходной | |
| 37 | 864804 | Штуцер ввертной ГОСТ9113-75 | |
| 39 | 356-70570 | Болт ТЕМ12-6gх25 ОСТ37.001.123-75 | |
| 41 | 1/21647/11 | Гайка | |
| 42 | 1/07914/11 | Гайка ЕМ16х1,5-6Н | |
| 46 | 1/02634/60 | Прокладка 22х28х1,5 | |
| 50 | 1/05170/70 | Шайба пружинная 12 | |
| 53 | 1/05200/01 | Шайба | |
| 56 | Г-100-3515310 | Клапан контрольного вывода | |
| 58 | 100-3518010 | Клапан ускорительный | |
| 60 | Г-100-3533010 | Регулятор тормозных сил | |
| 61 | Г-100-3533110 | Упругий элемент | |
| 63 | 53210-3533160 | Компенсатор перемещений соединительной штанги привода регулятора тормозных сил в сборе |
Содержащиеся в справочниках-каталогах запасные части и детали не предлагаются к продаже, а носят исключительно информационный характер