Каталог запасных частей к технике: Нефтекамский автозавод НефАЗ-9334. Подвеска 9334-08-2910002
1
2
3
4
5
6
7
8
10
11
12
13
14
15
16
17
18
19
20
21
22
23
24
25
26
27
28
29
30
31
33
34
35
36
37
38
39
40
41
42
43
44
57
58
59
62
63
63
64
65
67
67
68
72
72
72
75
76
76
80
81
84
85
86
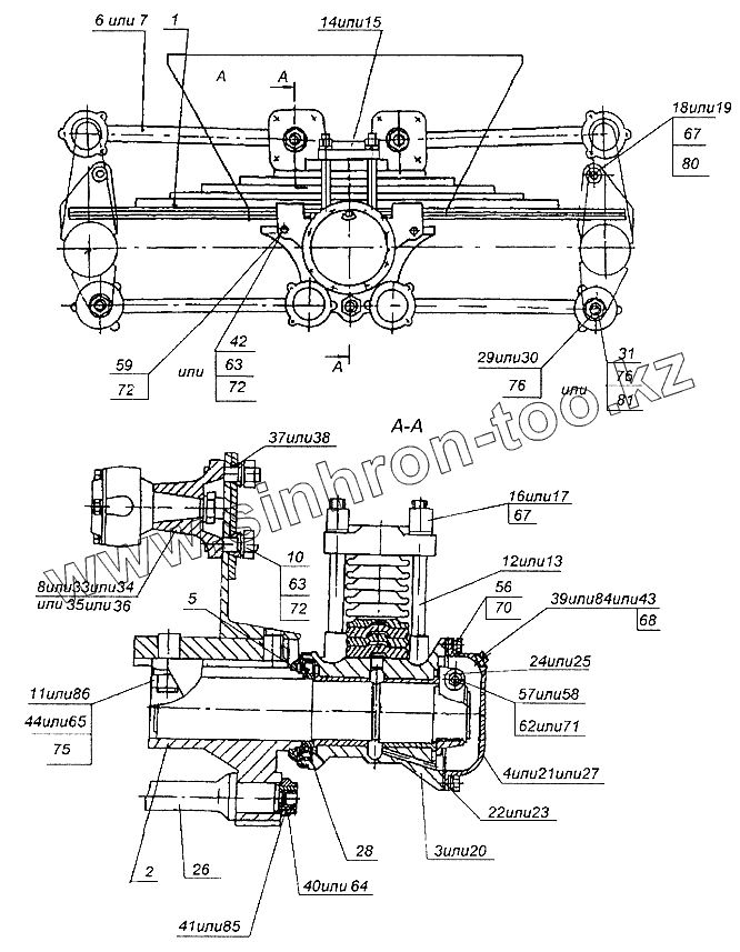
| Позиция на иллюстрации | Заводской номер детали | Название детали | |
|---|---|---|---|
| 1 | 9385-2912012 | Рессора | |
| 2 | 5320-2918052 | Кронштейн балансира задней подвески с осью в сборе | |
| 3 | 5320-2918068-10 | Башмак рессоры | |
| 4 | 96741-2918120-01 | Крышка башмака | |
| 5 | 5320-2918180 | Кольцо уплотнительное в сборе | |
| 6 | 5511-2919012 | Штанга реактивная задней подвески с пальцами | |
| 7 | 96741-2919012 | Штанга реактивная задней подвески с пальцами в сборе | |
| 8 | 96741-2919094-01 | Кронштейн реактивной штанги | |
| 10 | 96741-2910094 | Шпилька | |
| 11 | 96741-2910095 | Шпилька | |
| 12 | 4310-2912408 | Стремянка рессоры | |
| 13 | 96741-2912408 | Стремянка рессоры | |
| 14 | 4310-2912412-10 | Накладка стремянок задней рессоры | |
| 15 | 96741-2912412 | Накладка стремянок задней рессоры | |
| 16 | 4310-2912416 | Гайка | |
| 17 | 96741-2912416 | Гайка стремянки | |
| 18 | 96741-2912485 | Палец опоры | |
| 19 | 96741-2912485-02 | Палец опоры | |
| 20 | 96741-2918068 | Башмак рессоры | |
| 21 | 5320-2918120 | Крышка башмака | |
| 22 | 5320-2918122 | Прокладка | |
| 23 | 96741-2918122 | Прокладка | |
| 24 | 5320-2918169 | Гайка башмака | |
| 25 | 96741-2918169 | Гайка башмака | |
| 26 | 9334-08-2918189 | Стяжка кронштейнов оси балансира | |
| 27 | 96741-2918120 | Крышка башмака | |
| 28 | 96741-2918255 | Кольцо упорное | |
| 29 | 5511-2919031 | Гайка крепления пальца | |
| 30 | 96741-2919031 | Гайка крепления пальца | |
| 31 | 96741-2919032 | Гайка крепления пальца | |
| 33 | 9370-2919094 | Кронштейн реактивной штанги | |
| 34 | 96741-2919094 | Кронштейн реактивной штанги | |
| 35 | 96741-2919094-02 | Кронштейн реактивной штанги | |
| 36 | 96741-2919094-04 | Кронштейн реактивной штанги | |
| 37 | 5320-2919105 | Втулка кронштейна | |
| 38 | 96741-2919105 | Втулка кронштейна | |
| 39 | 96741-2919107 | Пробка | |
| 40 | 96741-2919109 | Гайка стяжки | |
| 41 | 96741-2919111 | Заглушка стяжки | |
| 42 | 96741-2919112 | Шпилька башмака | |
| 43 | 9674-3506394 | Пробка | |
| 44 | 8602-2912550 | Гайка М27х1,5-6Н | |
| 57 | 1/59707/21 | Болт ТЕМ10х1,25-6gх25 | |
| 58 | 1/55413/21 | Болт ТЕМ12х1,25-6gх75 | |
| 59 | 1/59903/21 | Болт ТЕМ20х1,5-6gх160 | |
| 62 | 251647 | Гайка ЕМ12х1,25-6Н ОСТ37.001.197-75 | |
| 63 | 1/21643/11 | Гайка ЕМ20х1,5-6Н | |
| 64 | 853516 | Гайка М42х1,5-6Н | |
| 65 | 853518-П29 | Гайка М27х1,5-6Н | |
| 67 | 1/05206/01 | Шайба 24х42 | |
| 68 | 1/02634/60 | Прокладка 22х28х1,5 | |
| 72 | 1/05174/70 | Шайба плоская 20х35 | |
| 75 | 252164 | Шайба 27Л ОСТ37.001.115-75 | |
| 76 | 252165 | Шайба пружинная 30 ОСТ37.001.115-75 | |
| 80 | 1/07974/01 | Шплинт разводной 5х40 | |
| 81 | 1/07979/01 | Шплинт 6х60 | |
| 84 | КГ1/2 ОСТ37.001.174-75 | Пробка КГ1/2 ОСТ37.001.174-75 | |
| 85 | 864313-П | Пробка ОСТ37.001.174-75 | |
| 86 | 853302-П29 | Шпилька |
Содержащиеся в справочниках-каталогах запасные части и детали не предлагаются к продаже, а носят исключительно информационный характер