Каталог запасных частей к технике: Нефтекамский автозавод НефАЗ-93341. Опорное устройство правое
1
2
3
4
5
6
8
8
9
10
11
12
13
14
14
15
16
17
18
19
20
21
22
23
24
25
26
27
28
29
30
31
32
33
34
35
36
37
40
41
42
45
45
46
48
48
48
49
50
52
53
54
55
56
58
65
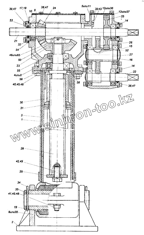
| Позиция на иллюстрации | Заводской номер детали | Название детали | |
|---|---|---|---|
| 1 | 96741-2720012 | Корпус опоры | |
| 2 | 96741-2722010 | Башмак опорного устройства | |
| 3 | 96741-2723150 | Стойка опорного устройства | |
| 4 | 96741-2720077-01 | Картер | |
| 5 | 96741-2720120-01 | Картер редуктора | |
| 6 | 96741-2723027-01 | Башмак стойки опоры | |
| 8 | 96741-2720077 | Картер взамен | |
| 9 | 96741-2720081 | Прокладка крышки | |
| 10 | 96741-2720082 | Крышка картера | |
| 11 | 96741-2720120 | Картер редуктора доп. | |
| 12 | 96741-2720122 | Крышка картера | |
| 13 | 96741-2720126 | Прокладка крышки | |
| 14 | 96741-2720131 | Крышка подшипника | |
| 15 | 96741-2720134 | Крышка подшипника | |
| 16 | 96741-2720140 | Прокладка крышки | |
| 17 | 96741-2720142 | Прокладка регулировочная | |
| 18 | 96741-2720143 | Прокладка регулировочная | |
| 19 | 96741-2722034 | Подушка | |
| 20 | 96741-2723027 | Башмак стойки | |
| 21 | 96741-2723028 | Вал правый | |
| 22 | 96741-2723046 | Вал ведущий | |
| 23 | 96741-2723050 | Шестерня | |
| 24 | 96741-27232051 | Шестерня | |
| 25 | 96741-2723056 | Шестерня ведомая | |
| 26 | 96741-2723062 | Шестерня ведомая | |
| 27 | 96741-2723064 | Вал-шестерня | |
| 28 | 96741-2723112 | Винт | |
| 29 | 96741-2723116 | Ограничитель | |
| 30 | 96741-2723118 | Гайка винта | |
| 31 | 96741-2723163 | Шайба сферическая опорная | |
| 32 | 96741-2720130 | Крышка подшипника | |
| 33 | 96741-2723170 | Пластина стопорная | |
| 34 | 96741-2723171 | Шплинт доп. | |
| 35 | 96741-2723172 | Ось | |
| 36 | 96741-2720122-01 | Крышка картера редуктора | |
| 37 | 96741-2720126-01 | Прокладка крышки редуктора | |
| 40 | 1/55406/21 | Болт М12х1,25-6gх40 | |
| 41 | 1/55408/21 | Болт ТЕМ12х1,256gх50 | |
| 42 | 853063 | Болт ТЕМ14-6gх40 | |
| 45 | 1/61015/11 | Гайка М12х1,25-6Н | |
| 46 | 853514-П29 | Гайка ЕкМ24х1,5-6Н | |
| 48 | 1/05170/70 | Шайба пружинная 12 | |
| 49 | 1/05171/70 | Шайба пружинная 14 | |
| 50 | 1/07338/01 | Шплинт разводной 4х40 | |
| 52 | 96741-2723165 | Шпонка | |
| 53 | 96741-2723175 | Сальник | |
| 54 | Подшипник радиальный 205 ГОСТ 8338-75 | Подшипник радиальный 205 ГОСТ 8338-75 | |
| 55 | Подшипник радиальный 206 ГОСТ 8338-75 | Подшипник радиальный 206 ГОСТ 8338-75 | |
| 56 | 8307 | Подшипник упорный ГОСТ 23526-79 | |
| 58 | 96741-2723085 | Опора | |
| 65 | 96741-2723180 | Гайка низкая |
Содержащиеся в справочниках-каталогах запасные части и детали не предлагаются к продаже, а носят исключительно информационный характер