Вернуться на главную
Поиск
Каталоги запчастей к технике
Грузовые автомобили и прицепы
Нефтекамский автозавод
НефАЗ-8560
Установка передней тележки
Каталог запасных частей к технике: Нефтекамский автозавод НефАЗ-8560. Установка передней тележки
zoom-in
zoom-out
enlarge
shrink
circle-right
circle-left
file-text2
info
cart
Тип техники
Не выбрано
Легковые автомобили
Грузовые автомобили и прицепы
Автобусы
Сельхозтехника
Спецтехника
Двигатели
Мототехника
Марка
Не выбрано
BAW
DAF
DongFeng
FAW
Foton
HOWO
Hyundai
IVECO
JAC Motors
LGMG
MAN
Shaanxi
SITRAK
Studebaker
Tata
Volvo
Автокомпонент Плюс
БелАЗ
Брянский Арсенал
ГАЗ
ЗИЛ
КАЗ
Камский автозавод
КрАЗ
Мадара
МАЗ
МЗКТ
МоАЗ
Нефтекамский автозавод
Ставропольский Завод АвтоПрицепов
ТАТРА
Тонар
УралАЗ
ЧМЗАП
Модель
Не выбрано
НефАЗ-45144-8600001 (2010)
НефАЗ-65115-8610656-91 (2018)
НефАЗ-6520, 6522 (2006)
НефАЗ-6520-8630152-73 (2018)
НефАЗ-65201-8630666 (2018)
НефАЗ-65222-8600052 (2018)
НефАЗ-6606 (2008)
НефАЗ-66062 (2015)
НефАЗ-66063 (64, 65) (2010)
НефАЗ-8332 (2004)
НефАЗ-8332 (2009) (2009)
НефАЗ-8332 (2010) (2010)
НефАЗ-8332 (двускатный) (2011)
НефАЗ-8332 (односкатный) (2011)
НефАЗ-8527 (1991)
НефАЗ-8560 (2005)
НефАЗ-8560 (2010)
НефАЗ-8560 (2008) (2008)
НефАЗ-8602 (2010)
НефАЗ-8602-10-04 (2014)
НефАЗ-9334 (2004)
НефАЗ-9334 (2008) (2008)
НефАЗ-9334-10 (11, 13, 16, 17) (2008)
НефАЗ-9334-20 (2010)
НефАЗ-9334-20-10 (2010)
НефАЗ-93341 (2005)
НефАЗ-93341-07 (08) (2008)
НефАЗ-93341-20 (21) (2010)
НефАЗ-937006/07-01 (1991)
НефАЗ-9385/07 (1991)
НефАЗ-9509 (2006)
НефАЗ-9509-30 (31) (2010)
НефАЗ-96741 (2005)
НефАЗ-96742 (2009)
НефАЗ-96891-10 (2009)
НефАЗ-96894 (2011)
НефАЗ-96896-0110411 (2015)
НефАЗ-9693 (2005)
НефАЗ-9693-10 (2010)
НефАЗ-96931-04 (2014)
НефАЗ-96931-07 (2014)
НефАЗ-96931-10-07 (2011)
Тележки подкатные (2008)
Схема
>
Не выбрано
Платформа 55102-8500020
Пальцы фиксации
Затвор бокового борта
Основание платформы 55102-8501010-20
Установка боковых бортов
Установка дополнительных деревянных бортов 55102-8500012-30
Установка надставных бортов 55102-8500012-40
Установка упора 55102-8500050
Установка канатов 55102-8500060
Установка тента
Установка брызговиков
Установка торсионов
Установка гидрооборудования 8560-8600001, 8560-8600001-01
Рукав высокого давления
Гидроцилиндр 8560-8603010
Гидроцилиндр 8560-8603010-01
Установка замедлителя
Балка оси передняя
Установка передней тележки 8602-2822001 для модификаций 8560-0000010, 8560-0000011, 8560-0000012
Установка передней тележки
Установка боковой защиты
Установка боковой защиты
Установка заднего буфера
Подвеска для 8560-0000010, 8560-0000011, 8560- 0000012
Подвеска для 8560-0000010-01, 8560-0000010-02, 8560-0000011-02, 8560-0000012-02
Колесо с шиной бездисковое 5320-3100001
Колесо с шиной дисковое
Установка дисковых колес
Установка бездисковых колес
Ступица с тормозным барабаном
Ступица с тормозным барабаном для дискового колеса
Ступица с тормозным барабаном для бездискового колеса
Установка запасного колеса
Схема пневмопривода с АБС
Установка пневматических тормозов с АБС
Трубки магистрали пневмопривода
Тормоза рабочие передней оси
Тормоза рабочие задней оси
Рычаг регулировочный
Установка автоматических регуляторов тормоза
Установка привода стояночного тормоза
Привод передний
Тормозная камера
Схема электрическая принципиальная
Фонари и световозвращатели
Установка задних фонарей
Рама поворотной тележки
Круг поворотный
Дышло
Установка заводской таблички и крепление бортов
Общий вид прицепа самосвального НЕФАЗ 8560-0000010, НЕФАЗ 8560-0000010-01, НЕФАЗ 8560-0000010-02
Общий вид прицепа самосвального НЕФАЗ 8560-0000011, НЕФАЗ 8560-0000011-02
Общий вид прицепа самосвального НЕФАЗ 8560-0000012, НЕФАЗ 8560-0000012-02
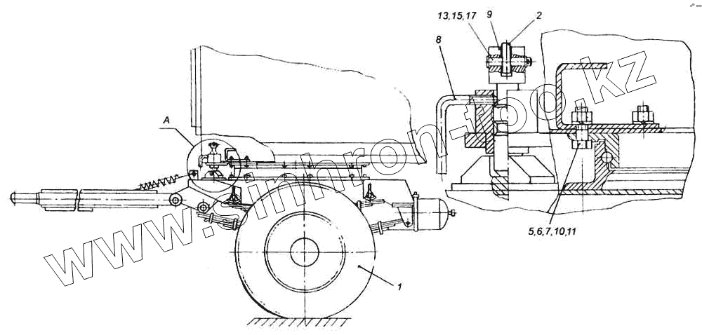
1
2
5
6
7
8
9
10
11
13
15
17
Позиция на иллюстрации
Заводской номер детали
Название детали
1
8332-2822010
Тележка передняя в сборе
2
8332-2705332
Рычаг
5
8602-2822021
Болт специальный
6
8602-2822022
Прокладка регулировочная
7
8602-2822023
Прокладка регулировочная
8
8332-2705333
Держатель
9
8332-2705331
Фиксатор
10
1/21642/21
Гайка ЕМ18х1,5-6Н
11
1/05173/70
Шайба пружинная 18
13
Ось 12-12х5х55Ст3
Ось 12-12х5х55Ст3
15
СТ142-3708835
Шайба 12,5
17
1/07964/01
Шплинт разводной 3х20
Содержащиеся в справочниках-каталогах запасные части и детали не предлагаются к продаже, а носят исключительно информационный характер
Дополнительная информация
×
Название:
Номер:
Примечание: