Вернуться на главную
Поиск
Каталоги запчастей к технике
Грузовые автомобили и прицепы
МЗКТ
МЗКТ-79097
Дифференциал межосевой
Каталог запасных частей к технике: МЗКТ-79097. Дифференциал межосевой
zoom-in
zoom-out
enlarge
shrink
circle-right
circle-left
file-text2
info
cart
Тип техники
Не выбрано
Легковые автомобили
Грузовые автомобили и прицепы
Автобусы
Сельхозтехника
Спецтехника
Двигатели
Мототехника
Марка
Не выбрано
BAW
DAF
DongFeng
FAW
Foton
HOWO
Hyundai
IVECO
JAC Motors
LGMG
MAN
Shaanxi
SITRAK
Studebaker
Tata
Volvo
Автокомпонент Плюс
БелАЗ
Брянский Арсенал
ГАЗ
ЗИЛ
КАЗ
Камский автозавод
КрАЗ
Мадара
МАЗ
МЗКТ
МоАЗ
Нефтекамский автозавод
Ставропольский Завод АвтоПрицепов
ТАТРА
Тонар
УралАЗ
ЧМЗАП
Модель
Не выбрано
МЗКТ-65151 "Волат" (2010)
МЗКТ-65158 (1999)
МЗКТ-652511 (2010)
МЗКТ-6527 (2010)
МЗКТ-700600-011 (2013)
МЗКТ-7401 (2010)
МЗКТ-7402 (2010)
МЗКТ-74131 (1996)
МЗКТ-74171 (2010)
МЗКТ-7429 (2005)
МЗКТ-74296 (2010)
МЗКТ-75165 (2005)
МЗКТ-751652 (2005)
МЗКТ-79011 (2010)
МЗКТ-79091 (2005)
МЗКТ-79092 (2005)
МЗКТ-79092 (нов.) (2005)
МЗКТ-79096 (2005)
МЗКТ-79097 (2005)
МЗКТ-7930-200 (2005)
МЗКТ-93782 (2010)
Схема
>
Не выбрано
Установка кабины
Подрессоривание кабины переднее
Стабилизатор 64221-5001710
Подрессоривание кабины заднее
Балка опоры 64221-5001660
Механизм подъёма кабины
Цилиндр гидравлический 79092-5003010-10
Насос подъёма кабины 79092-5004010
Установка трубопроводов отопителя кабины
Установка отопителя независимого действия
Установка топливопроводов независимого отопителя
Установка держателей зеркал
Установка зеркал
Установка спальных мест и штор
Установка подрамника
Установка задних крыльев и подножек
Установка крыльев и подножек
Установка защитных листов
Установка двигателя
Двигатель в состоянии установки на шасси
Установка подогревателя и выхлопных труб
Кран отключения подогревателя 547A-1015390
Установка трубопроводов системы подогрева двигателя
Крепление бачка топливного подогревателя
Бачок топливный подогревателя 79092-1015420
Агрегаты наполнения бачка топливного подогревателя
Агрегаты топливопитания подогревателя
Сапун 79092-1015560
Кран с переходником 74131-1015150
Фильтр топливный 543-1015340
Установка агрегатов системы смазки двигателя
Установка агрегатов системы смазки двигателя
Пробка заливной горловины 543-1018270
Топливопроводы левого топливного бака
Топливопроводы правого топливного бака
Топливопроводы
Установка топливопроводов
Установка топливных баков
Кронштейны левый, правый
Бак топливный 7930-1101008
Бак топливный 7930-1101010
Суфлер топливного бака 547В-1101702
Установка агрегатов топливной системы
Установка агрегатов топливной системы
Крышка, основание 79092-1133410-10, 79092-1133420-10
Насос подкачивающий 79092-1133200
Кран топливораспределительный 79092-1116010-10
Установка топливного фильтра грубой очистки
Фильтр топливный грубой очистки 7908-1105010
Установка воздухоочистителя
Привод управления двигателем
Педаль с кронштейном 74133-1108005
Педаль с втулкой и рычагом 74133-1108006
Привод останова двигателя
Привод выключения двигателя противоугонным устройством
Цилиндр с кронштейном 79092-1115060-10
Крепление глушителя
Трубы выхлопные
Установка системы выпуска отработавших газов
Заслонка 69237-3570010
Заслонка 79221-3570010
Установка трубопроводов системы охлаждения двигателя
Установка радиатора
Радиатор 79092-1301008
Установка бачка расширительного и редукционного клапана
Клапан редукционный 7929-1304010
Бачок расширительный 79092-1311010-20
Установка привода управления сцеплением
Установка привода управления сцеплением
Установка механизма управления сцеплением
Механизм управления сцеплением 69237-1602010
Подпедальный цилиндр 69237-1602300
Бачок 6923-1602250
Установка рабочего цилиндра управления сцеплением
Усилитель пневмогидравлический 69237-1609200-10
Установка коробки передач
Коробка передач 69237-1700045-10
Коробка передач 202-1700050-04
Установка выходного вала
Установка первичного и вторичного валов
Установка воздухопроводов
Установка клапана электромагнитного
Установка вала отбора мощности
Механизм переключения передач 202-1702010
Установка вилок переключения передач
Нижняя часть картера коробки передач Э202-1701014-04
Картер понижающей передачи 201-1721014
Нижняя часть картера коробки передач 201-1701016
Вал первичный коробки передач 202-1701025-04
Вал вторичный коробки передач 202-1701100-04
Вал промежуточный 202-1701047-30
Вал выходной 202-1721300
Опора рычага переключения передач 201-1702200
Масляный насос 202-1704010-10
Крышка заднего подшипника выходного вала 202-1721200-04
Цилиндр с поршнем 201-1722020
Воздухораспределитель 201-1723010
Клапан редукционный 201-1723080
Муфта выключения сцепления с подшипником 15-1601180
Шестерня коронная 202-1721350
Шестерня 2-й, 3-й, 5-й передачи
Вилка механизма переключения понижающей передачи 201-1722049
Тяги управления механизмом переключения передач
Воздухопроводы управления механизмом переключения передач
Механизм промежуточный 79092-1703325
Хвостовик 79092-1703442
Тяга 6923-1703490
Подвеска раздаточной коробки
Механизм переключения раздаточной коробки
Механизм переключения раздаточной коробки
Привод управления механизмом переключения передач
Вал карданный
Опора промежуточная
Редуктор 1-го моста
Мосты передние и задние
Редуктор привода
Мосты передние и задние
Вал карданный полуосевой
Шестерня коническая
Поворотное устройство
Насос
Шестерня коническая ведущая
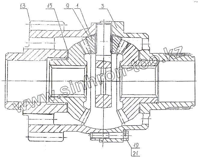
Дифференциал межосевой
Дифференциал
Полуось и передача планетарная
Передача главная заднего первого моста
Редуктор привода
Редуктор 2-го заднего моста
Комплект дифференциала
Полуось
Шестерня
Опора промежуточная
Рама 7429-2800001
Рама 7429-2800012
Рама 79091-2800001
Рама 79091-2800012
Рама 79092-2800001
Рама 79092-2800012
Надрамник 79092-2800020
Рама 75165-2800001
Рама 75165-2800012
Надрамник 75165-2800020
Крюк буксирный 535-2805012
Подвеска передняя
Подвеска задняя
Рычаги подвески нижние передние
Рычаги подвески верхние
Амортизатор 543-2905306-21
Поршень 543-2905350-20
Крышка нижняя 543-2905380-10
Подвеска задняя
Установка рычагов подвески задней
Балансир подвески 9988-2918010
Рычаги подвески 7410-2914112, 7410-2914152
Коробка подушки балансира 7410-2918210
Рессора с кронштейнами 9988-2912010
Колеса
Ступица с горловиной
Кран управления давлением в системе накачки шин
Кран управления давлением в системе накачки шин
Система сигнализации прокола шин
Вентиль с корпусом
Головка подвода воздуха
Рулевое управление
Рулевой механизм
Цилиндр механизма усилительного
Трубопроводы и шланги рулевого управления
Бак масляный
Распределитель
Насос усилителя рулевого управления
Тормоза рабочие передние и задние
Тормоза рабочие передние и задние
Цилиндр колесного тормоза
Колодка тормоза
Главный тормозной цилиндр
Тормоз стояночный и его привод
Клапан-ограничитель
Клапан двойной защитный
Трубопроводы и шланги тормозов
Установка головного освещения
Жгут проводов 7429-3724680-10
Жгут проводов 7429-3724681-10
Жгут проводов 79092-3724033
Жгут проводов 79092-3724035
Установка световозвращателя ФП 316
Жгут проводов 74131-3724291-10
Крепление контейнера и аккумуляторных батарей контейнера
Крепление розетки внешнего запуска и выключателя
Аккумуляторный контейнер 74131-3748002
Аккумуляторный контейнер 74131-3748003
Вентилятор 80071-3703710
Жгут проводов 7930-3724345
Жгут проводов 80071-3724282
Розетка внешнего запуска 543-3723060
Установка задних фонарей
Жгут проводов 79092-3724026
Установка задних фонарей
Жгут проводов 7429-3724026
Жгут проводов 7429-3724035-01
Установка задних фонарей
Жгут проводов 75165-3724026
Установка электрооборудования на шасси
Жгут проводов 7429-3724027-10
Жгут проводов 7429-3724580
Жгут проводов 7429-3724584-10
Жгут проводов 7429-3724588
Установка электрооборудования на шасси
Жгут проводов 79092-3724027-10
Жгут проводов 79092-3724580
Жгут проводов 79092-3724584-10
Жгут проводов 79092-3724588
Установка аккумуляторных батарей и контейнера
Контейнер аккумуляторный 8007-3748002
Установка электрооборудования на двигателе
Жгут проводов 79092-3724158
Жгут проводов 79092-3724160
Установка электрооборудования на двигателе
Жгут проводов 7429-3724158
Установка электрооборудования на шасси
Установка сигнала
Установка задних фонарей
Установка розетки
Жгут проводов 75165-3724027
Жгут проводов 75165-3724584-10
Жгут проводов 75165-3724588
Жгут проводов 75165-3724600-10
Жгут проводов 75165-3724608
Установка электрооборудования на шасси
Жгут проводов 79091-3724027-10
Жгут проводов 79091-3724584-10
Жгут проводов 79091-3724588
Установка электрооборудования на шасси
Жгут проводов 79096-3724588
Жгут проводов 79096-3724592
Установка розетoк
Установка электрооборудования в кабине
Жгут проводов №2 панели приборов двигателя 7429-3724292
Установка панели приборов двигателя
Панель приборов двигателя 7429-3800001
Жгут проводов №1 панели приборов двигателя
Установка панели приборов шасси и панели переключателей
Панель приборов шасси 7429-3800009
Жгут проводов панели приборов шасси 7429-3724006
Панель переключателей 7429-3800015
Установка блока предохранителей и реле
Установка панели блока предохранителей и реле
Панель блоков предохранителей и реле
Установка шинного манометра
Жгут проводов панели приборов шасси 7429-3724210-10
Жгут проводов панели приборов шасси 7429-3724214
Установка электрооборудования в кабине
Жгут проводов №2 панели приборов двигателя 79092-3724234
Жгут проводов 79092-3724039-20
Установка панели приборов двигателя
Панель приборов двигателя 79092-3800001
Жгут проводов №1 панели приборов двигателя 79092-3724002
Жгут проводов №2 панели приборов двигателя 79092-3724004
Установка панели приборов шасси и панели переключателей
Панель приборов шасси 79092-3800009
Жгут проводов панели приборов шасси 79092-3724006
Панель переключателей 79092-3800015-10
Установка блока предохранителей и реле
Жгут проводов панели приборов шасси 79092-3724204
Жгут проводов N2 в кабине 79092-3724206
Жгут проводов №3 в кабине 79092-3724208
Жгут проводов N4 в кабине
Жгут проводов №5 в кабине 79092-3724214
Установка электрооборудования подогревателя
Жгут проводов подогревателя 79092-3724120
Провод 6923-3724778
Установка электрооборудования подогревателя в кабине
Жгут проводов подогревателя 9092-3724262-10
Установка фонарей знака автопоезда
Установка пневмосигнала
Установка электрооборудования на кабине
Установка электросигналов
Установка переключателей на рулевой колонке
Установка обогреваемых зеркал
Установка сигнальных маяков
Жгут проводов сигнальных маяков 7429-3724688
Жгут проводов сигнальных маяков 7429-3724700
Установка электрооборудования воздушного отопителя
Установка электрооборудования в кабине
Панель приборов двигателя 75165-3800001
Панель управления платформой 6515-3800010
Жгут проводов 75165-3724216
Установка дополнительной панели
Установка седельного устройства
Седельное устройство 537-2702010-01
Установка седельного устройства
Установка рамы и коника
Коник 79096-2710010
Механизм увязки 79096-2710100
Тяга 79096-2710130
Установка переднего страховочного устройства
Установка подъемника запасного колеса
Трос подъемника с крюком 5247Б-3925274-Б
Редуктор подъемника 5247Б-3925220-A2
Установка подъемника запасного колеса
Стрела подъемника 79096-3925010
Опора 7429-3925020
Установка буксирного троса
Установка противооткатных упоров
Установка противооткатных упоров
Установка противооткатных упоров
Установка противооткатных упоров
Инструмент
Принадлежности
Установка талрепов
Установка огнетушителя
Установка огнетушителя
Установка шанцевого инструмента
Установка инструментального ящика
Установка инструментального ящика
Установка инструментального ящика
Установка инструментального ящика
Установка инструментального ящика
Установка инструментального ящика
Установка инструментального ящика
1
3
9
13
15
21
Позиция на иллюстрации
Заводской номер детали
Название детали
1
543-2303004-10
Дифференциал (комплект для запчастей)
3
7413-2326018-01
Чашка
9
543-2303058
Шайба сателлита
13
7919-2326120
Шестерня ведомая
15
543-2403051
Шайба опорная
21
371687
Болт 3М10-6gх50
Содержащиеся в справочниках-каталогах запасные части и детали не предлагаются к продаже, а носят исключительно информационный характер
Дополнительная информация
×
Название:
Номер:
Примечание: