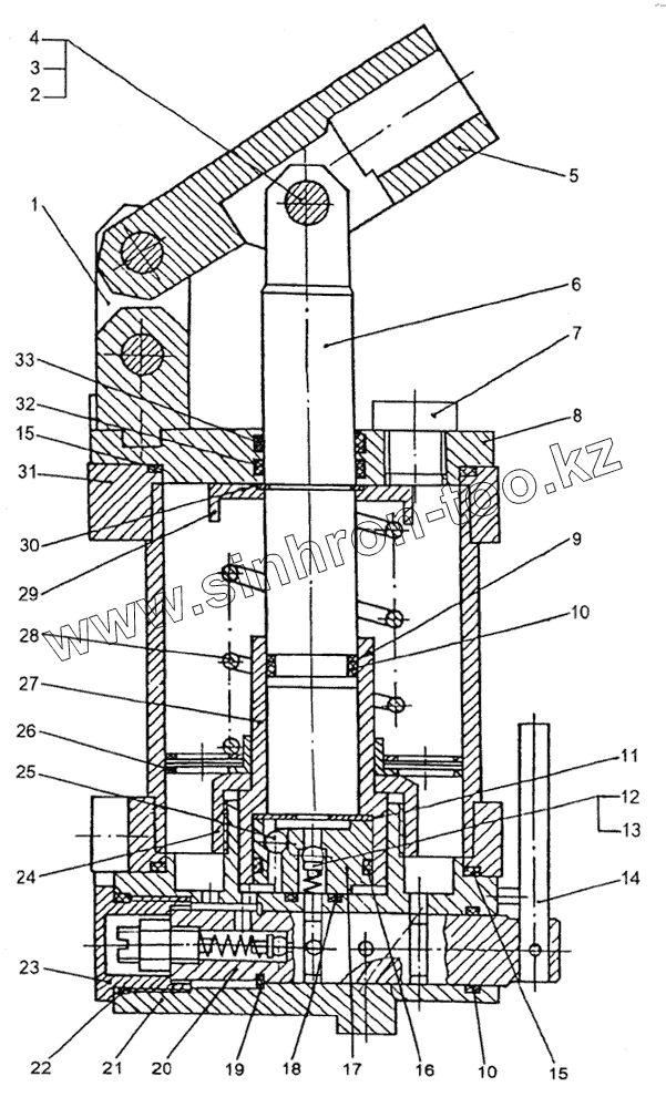
Каталог запасных частей к технике: МЗКТ-79092. Механизм опрокидывания кабины, его цилиндр и насос
1
2
3
4
5
6
7
8
9
9
10
10
11
12
13
14
15
15
16
17
18
19
20
21
22
23
24
25
26
27
28
29
30
31
32
33
| Позиция на иллюстрации | Заводской номер детали | Название детали | |
|---|---|---|---|
| 79092-5004048 | 79092-5004048 | Фильтр | |
| 79092-5004036 | 79092-5004036 | Винт регулировочный | |
| 0000-5003201 | 0000-5003201 | Шарик 6-20 | |
| 64221-6100010 | 64221-6100010 | Установка дверной арматуры, правая | |
| 79092-6100010 | 79092-6100010 | Установка дверной арматуры, правая | |
| 64221-6100011 | 64221-6100011 | Установка дверной арматуры, левая | |
| 79092-6100011 | 79092-6100011 | Установка дверной арматуры, левая | |
| 79092-5003060 | 79092-5003060 | Пружина | |
| 374243 | 374243 | Гайка М10х1-5Н6Н | |
| 79092-5004034 | 79092-5004034 | Гнездо | |
| 79092-5004032 | 79092-5004032 | Золотник | |
| 79092-5004042 | 79092-5004042 | Корпус | |
| 79092-5004044 | 79092-5004044 | Крышка | |
| 79092-5004046 | 79092-5004046 | Сетка | |
| 1 | 79092-5004114 | Серьга | |
| 2 | 260086 | Палец 12х32 | |
| 3 | 375828 | Шайба 12 | |
| 4 | 258053 | Шплинт 4х25 | |
| 5 | 79092-5004096 | Рычаг | |
| 6 | 79092-5004098 | Плунжер | |
| 7 | 547А-2927156 | Пробка | |
| 8 | 79092-5004050 | Крышка | |
| 9 | 5247Г-2724324 | Шайба защитная | |
| 10 | 0000-3515733 | Кольцо 020-025-30-2-2 | |
| 11 | 375533 | Шайба 8 | |
| 12 | 79092-5003056-01 | Гнездо | |
| 13 | 79092-5003058 | Пружина | |
| 14 | 79092-5004108 | Ручка | |
| 15 | 0000-1116793 | Кольцо 085-090-30-2-2 | |
| 16 | 0000-3408743 | Кольцо 027-032-30-2-2 | |
| 17 | 79092-5004092 | Корпус | |
| 18 | 0000-1923732 | Кольцо 020-024-25-2-2 | |
| 19 | 400366 | Кольцо 1Б 20 | |
| 20 | 79092-5004030 | Золотник | |
| 21 | 79092-5004020 | Основание | |
| 22 | 0000-1105738 | Кольцо 024-028-25-2-2 | |
| 23 | 79092-5004110 | Упор | |
| 24 | 79092-5004102 | Гайка гильзы | |
| 25 | 0000-5003201 | Шарик 6-20 | |
| 26 | 79092-5004040 | Фильтр | |
| 27 | 79092-5004104 | Гильза | |
| 28 | 547А-3515142-Б | Пружина | |
| 29 | 79092-5004112 | Упор | |
| 30 | 400376 | Кольцо 1Б25 | |
| 31 | 79092-5004012 | Корпус | |
| 32 | 0000-1015739 | Кольцо 025-029-25-2-2 | |
| 33 | 79092-5004106 | Грязесьемник |
Содержащиеся в справочниках-каталогах запасные части и детали не предлагаются к продаже, а носят исключительно информационный характер